ofo法人被限制出境 累計欠押金30億,你的押金都退回了嗎_風聞
今天敲钟人不来-2019-06-13 10:24
6月12日,上海市高級人民法院網的信息顯示,ofo的運營主體東峽大通(北京)管理諮詢有限公司法定代表人陳正江被法院限制出境,申請執行人為仵金科。
上海市高級人民法院網內容稱,陳正江被限制出境的原因是因不履行法律文書確定的義務。其具體信息顯示,失信被執行人行為的具體情形為有履行能力而拒不履行生效法律文書確定的義務,該債務案件的執行標的金額為120000元,申請執行人為仵金科,承辦法院為上海楊浦法院。

公開資料顯示,陳正江於2014年年底加入ofo,為中國區業務主要負責人之一。
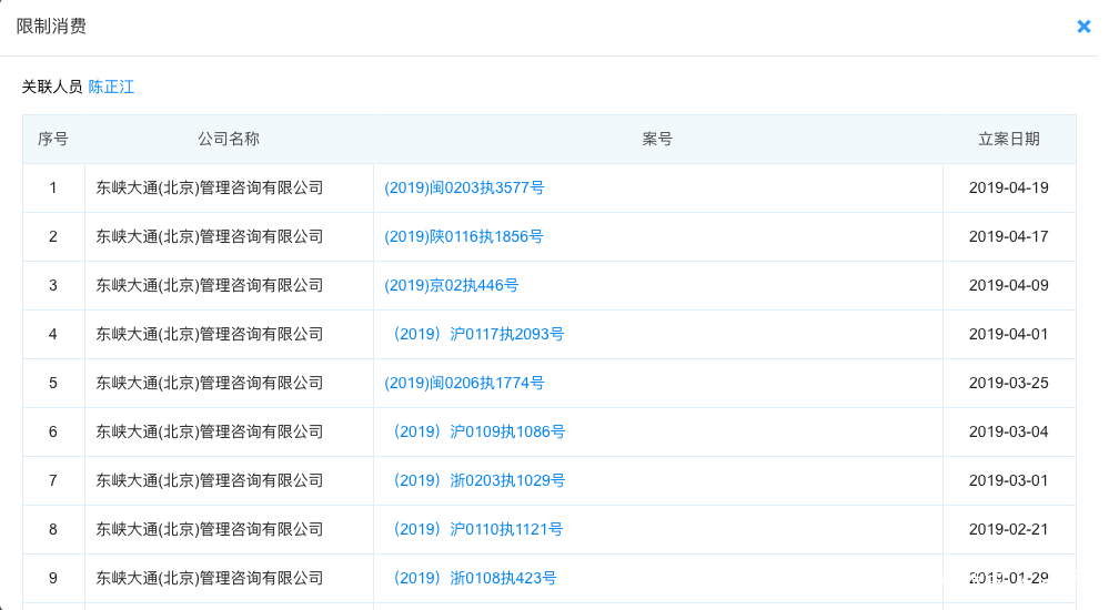
據企查查數據顯示,2018年10月29日,東峽大通(北京)管理諮詢有限公司法定代表人於由戴威變更為陳正江。另外,記者還了解到,18年伊始,陳正江曾多次被列為限制消費人員。除了東峽大通(北京)管理諮詢有限公司外,陳正江還擔任成都智客出行科技有限公司的法定代表人。

東峽大通(北京)管理諮詢有限公司的基本信息

圖片來源:企查查數據


圖片來源:企查查數據
這並非該公司首次出現法律問題,據中國執行信息公開網顯示,目前ofo被法院列入被執行人的信息多達146條,涉及北京、上海、天津、西安、廈門、南京等地區法院,數額從數萬元到數億元不等。曾14次被列為失信被執行人,包括戴威、楊品傑、陳婧等ofo高管在內被限制高消費,截至目前全部未履行。
此外,在中國之行信息公開網上,關於東峽大通公司的相關之行文書達170條,僅5月份以來其執行標的已經超過6000萬元。
ofo方面表示,對於法院的這一執行,公司對法人代表的事情不做回應。
目前尚不明確東峽大通(北京)是否因為不履行何法律文書確定的義務而被判罰,有分析稱,這或許與ofo的押金事件有關。“我2個月前充的押金至今未退換,已經排到了15334911位。”一位ofo用户向記者反映。記者梳理又發現,目前向ofo申請退押金人數已經上升至1500萬人以上,按照199元的押金計算,累計金額近30億。
ofo方面還表示, 公司目前一切正常,ofo小黃車在各個城市還在運營,有持續的投入和管理。“我們對暫時拖欠用户押金表示誠摯的歉意,並一直在積極尋求為用户退押金的方法, ofo會堅持負責到底。”
(長江商報、DONews等)