給政治局講解的陳純院士:掌舵區塊鏈公司,有兩家上市股東
轉自澎湃新聞
10月24日下午,中共中央政治局就區塊鏈技術發展現狀和趨勢進行第十八次集體學習。中共中央總書記習近平在主持學習時強調,區塊鏈技術的集成應用在新的技術革新和產業變革中起着重要作用。我們要把區塊鏈作為核心技術自主創新的重要突破口,明確主攻方向,加大投入力度,着力攻克一批關鍵核心技術,加快推動區塊鏈技術和產業創新發展。
浙江大學教授、中國工程院院士陳純就這個問題作了講解,並談了意見和建議。
陳純除了院士的身份,還是杭州趣鏈科技有限公司(下稱趣鏈科技)的董事長,趣鏈科技的背後還涉及兩家上市公司,分別是浙大網新科技股份有限公司(下稱浙大網新,600797)和新湖中寶股份有限公司(下稱新湖中寶,600208)。
陳純旗下有家區塊鏈公司
浙江大學官網陳純的簡歷顯示,浙江大學計算機科學與技術學院教授陳純生於1955年12月,浙江象山人。陳純於1982年1月畢業於廈門大學數學控制理論專業獲學士學位,1984年6月畢業於浙江大學計算機應用專業獲碩士學位,後留校任教,1990年5月畢業於浙江大學計算機應用專業獲博士學位。2015年當選為中國工程院院士。
根據介紹,陳純長期從事計算機應用領域的前沿研究工作,致力於將高水平的研究成果應用於輕工和紡織業的改造和提升,在大型智能輕紡裝備的原始創新上屢獲突破。
另外,陳純還曾在上市公司任職。根據浙大網新科技股份有限公司(下稱浙大網新,600797)年報,2001年,陳純曾任浙大網新的總裁,2002年至2010年4月任公司董事長;2010年4月至2014年4月,任公司名譽董事長。2012年6月至2015年6月,任公司董事職務。
值得關注的是,陳純還是杭州趣鏈科技有限公司(下稱趣鏈科技)的董事長,浙江大學計算機和軟件學院7位老師為趣鏈科技的聯合創始人。該公司成立於2016年,專注於區塊鏈技術產品與應用解決方案。
主要產品有區塊鏈底層平台Hyperchain、數據共享與安全計算平台BitXMesh、區塊鏈開放服務平台飛洛、供應鏈金融平台飛洛供應鏈、存證服務平台飛洛印,目前已完成中央網信辦發起的區塊鏈產品服務備案。
趣鏈科技合作伙伴包括中國工商銀行、中國農業銀行、中國銀聯、上海證券交易所、光大銀行、興業銀行、浙商銀行、北京銀行、德邦證券等。
趣鏈科技的官網顯示,該公司的核心團隊成員均畢業於浙江大學、清華大學等國內外一流高校。260餘人的團隊中,90%為技術人員,7人具有博士學位,50%以上具有碩士學位。目前,趣鏈科技已經完成15億元人民幣的融資。
趣鏈科技中有A股上市公司
在杭州趣鏈的股東中有A股上市公司身影。
趣鏈科技經歷了三輪融資。2016年8月31日,趣鏈科技獲得浙江君寶通信科技有限公司、浙大網新和信雅達系統工程股份有限公司(下稱信雅達,600571)共計1750萬人民幣融資,此為Pre-A輪融資。其中信雅達和浙大網新就是上市公司。
另外,趣鏈科技的官網顯示,在2017年12月,趣鏈科技完成了A輪融資;在2018年6月,趣鏈科技完成了12億元B輪融資,投後估值近30億元。
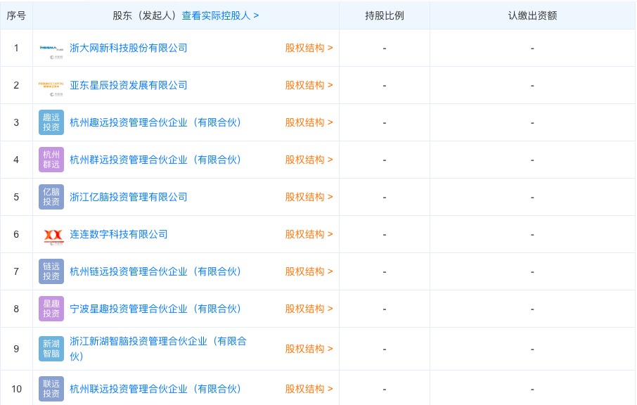
天眼查數據顯示,目前趣鏈科技共有20名股東,包括浙大網新、亞東星辰投資發展有限公司、上海拓驛投資管理有限公司、浙江新湖智腦投資管理合夥企業(有限合夥)、國投高新(深圳)創業投資基金(有限合夥)等。


趣鏈科技的股東。數據來源:天眼查
其中,上海拓驛投資管理有限公司、浙江新湖智腦投資管理合夥企業(有限合夥)(下稱新湖智腦)均是上市公司新湖中寶股份有限公司(下稱新湖中寶,600208)的全資子公司。
2018年5月,新湖中寶通過新湖智腦與杭州趣鏈科技有限公司簽署投資合作協議。智腦投資擬以1.09億元受讓趣鏈科技五位股東持有的190.9464萬元出資額;此外,智腦投資還擬以11.21億元認繳趣鏈科技新增註冊資本1959.29萬元。增資完成後,智腦投資佔趣鏈科技註冊資本的比例為49%。
另外,2019年5月信雅達公告稱,擬合計以8580.2萬元將持有的趣鏈科技5.7201%股權,即150萬元出資額轉讓給理想國際控股集團有限公司或其指定的第三方。轉讓完成後,信雅達將不再持有趣鏈科技股權。
也就是説,目前趣鏈科技涉及的上市公司有兩家,分別是浙大網新和新湖中寶。
浙大網新是以浙江大學綜合應用學科為依託的信息技術諮詢和服務集團。 提供從諮詢規劃到架構設計、軟件開發、軟硬件集成、業務流程外包、運營維護,再到雲計算、大數據、新一代人工智能的全套解決方案以及承攬大型工程總包。
浙大網新2019年上半年實現營收15.2億元,同比增長0.2%;歸屬於上市公司股東的淨利潤1.08億元,較上年同期增長16.54%。
新湖中寶是一家主營業務為地產、金融服務和金融科技的企業,擁有銀行、證券、保險、期貨、消費金融等多家金融機構的股權,也投資於區塊鏈、大數據、人工智能、雲計算等科技公司。
半年報顯示,新湖中寶2019年上半年淨利潤為17.21億元,同比增長18.08%;營業收入72.75億元,同比增長30.11% 。