為上市鋪路?小鵬汽車47名股東出質所持股權
潘昱辰
(觀察者網訊 文/潘昱辰 編輯/徐喆)
日前,有媒體報道稱“造車新勢力”小鵬汽車的47名股東將所持股權全部出質,引發外界的種種猜測。對此,12月15日,小鵬汽車在官方微博上回應稱,小鵬汽車運營主體廣州橙行智動汽車科技有限公司的47名股東,將所持股權出質給廣東小鵬汽車科技有限公司。這是小鵬汽車進行集團重組的一部分,屬於企業發展及優化企業股權結構的正常行為。未來小鵬汽車也會繼續以集團整體利益為目標,不斷進行結構優化。

小鵬官方回應股權出質一事
觀察者網汽車頻道就此事件聯繫了小鵬汽車公關人員。對方表示,部分媒體將這一事件解讀為“股東質押股權套現”是明顯錯誤的。但對於小鵬汽車是否將上市和具體的時間表,對方回覆稱“當前沒有”。
企查查數據顯示,**廣東小鵬汽車科技有限公司(並非一些媒體所報道的廣州小鵬汽車科技有限公司)**成立於2019年6月21日,法定代表人為夏珩,實際控制人為位於香港的XPeng (Hong Kong) Limited,持股比例為100%。
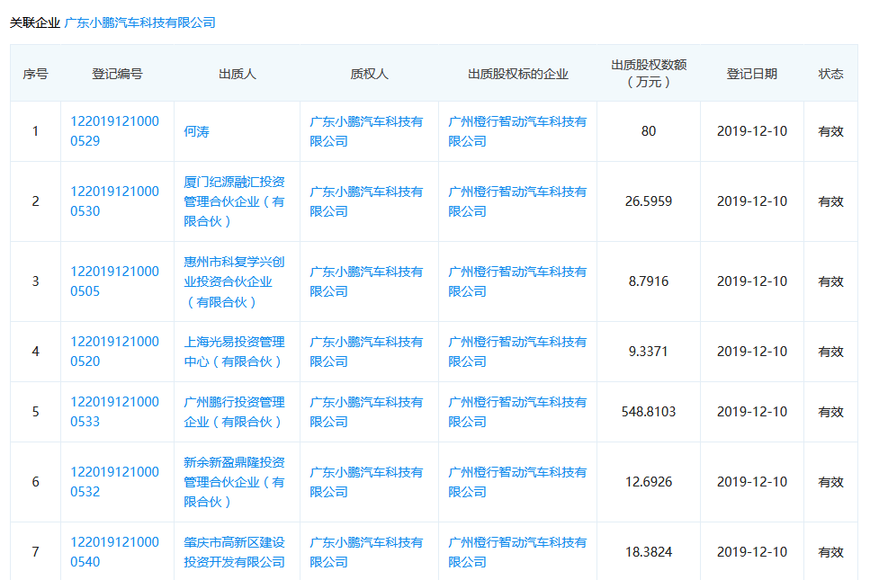
11月25日,廣東小鵬汽車科技有限公司發生註冊資本變更,由8億元人民幣變為15億元。今年12月10日,小鵬汽車的運營主體——廣州橙行智動汽車科技有限公司的47位股東將所持的股權出質給廣東小鵬汽車科技有限公司。

小鵬股東出質股權 圖片來源:企查查
對於小鵬股東出質股權一事,近期因與銀行矛盾而處於風口浪尖的理想汽車創始人、董事長兼首席執行官(CEO)李想也在微博上給出了自己的解讀。他表示,小鵬汽車正在“搭建紅籌或VIE(可變利益實體)的結構”“新一輪融資有美金進入”,並表示理想汽車和蔚來汽車都有這樣的操作,屬於“很正常的事情。”

李想解讀小鵬的融資計劃
今年11月,小鵬汽車完成了由小米集團領投的4億美金C輪融資。另一方面,小鵬汽車創始人、董事長兼CEO何小鵬在今天舉行的第十屆全球新能源汽車大會上透露,小鵬汽車正在進行C+輪的融資。此外他還表示,在未來的12個月裏小鵬會帶來很多好消息。

小鵬汽車創始人何小鵬
本文系觀察者網獨家稿件,未經授權,不得轉載。