3D打印部件6小時救了10個新冠病人:但搞不好要吃官司_風聞
熊猫儿-2020-03-19 22:43
上週四,意大利北部倫巴第大區佈雷西亞省基亞里的一家地方醫院,緊急需要一種呼吸設備上用於吸氧的特殊閥門,以幫助因為冠狀病毒來到ICU的病人。
這個閥門的價格是10000歐元,約合77000元人民幣。
然而價錢不是問題,問題是沒貨,閥門的原始製造商無法在短期內供貨。[1]
這家醫院通過當地報紙發佈了求救電話,引起了米蘭Fablab創始人Massimo Temporelli的注意。[2]
他人在米蘭,沒法趕過去,於是找到了基亞里附近的一家3D打印創業公司ISINNOVA,這家公司的創始人克里斯蒂安·弗拉卡西(Cristian Fracassi)馬上響應,並一起探討解決方案。[3]
Massimo Temporelli的臉書,描述了整個過程
他們最開始想尋求原始製造商的幫助,共享相關的3D文件,結果不僅遭到了拒絕,而且還威脅涉及專利侵權。
人命關天,克里斯蒂安繼續前進,從頭開始創建3D文件。他帶領着員工對零件進行測量,定尺寸,重新設計,然後使用了三種不同技術(FDM、SLS、SLA)進行3D打印。
6個小時之後,3D打印的閥門出來了,製作成本是1歐元,也就是原來成本的萬分之一。
他最初生產了10批來測試,然後又免費生產了100批。他承認3D打印版本不是非常耐用或者可重複使用,但是,可以廉價地進行替換。
這批閥門已經用到了10名入院患者的呼吸設備中。這可是救命之物。
開源或專利訴訟
然而,克里斯蒂安現在還不敢把3D文件共享給其他的醫院,因為面臨法律訴訟的威脅。
techdirt網站列舉了最近的醫療檢測設備專利侵權的例子,Theranos公司把擁有的專利FilmArray技術賣給了一家由軟銀資助的投資集團Fortress,Fortress正在起訴做Covid-19測試的公司BioFire侵犯了這一專利。[4]
但各種聲援也同時到來。
意大利技術創新部長保拉·皮薩諾(Paola Pisano)在推特上對這一成就表示祝賀。[5]
意大利技術創新部長髮推表示祝賀
增材製造網站3dpbm認為,雖然該閥門的模型仍受版權和專利保護,但醫院可能有權在緊急情況下生產這些零件。
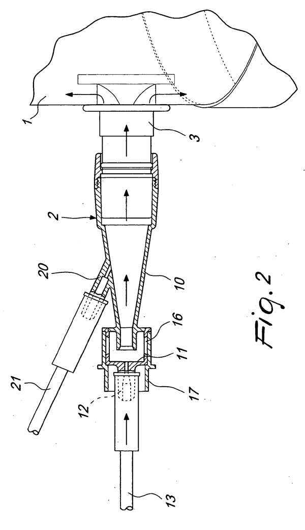
還有網友找到了閥門的專利和示意圖。[6]
專利註冊在歐洲專利局下,是一種“呼吸治療用氧氣,或空氣加氧氣的裝置”,閥門需要和呼吸頭盔一起使用,用於患者的無創通氣。專業名詞叫做用於文丘裏(Venturi)氧氣面罩的文丘裏閥。[7]
文丘裏面罩是低流量面罩,當純氧通過小孔口輸送時,利用伯努利原理吸收室內空氣,從而產生較大的總流量。
網友評論如潮,雖然大部分人都在譴責,但也有一些專業人士提出不同的觀點。
網友Coward説,他從事醫療器械工作,拋開緊急情況,閥門比較特殊是有理由的。因為閥門是用於呼吸系統,肺在感染的時候很敏感,如果吸入3D打印可能脱落的材料會更嚴重。材料安全有很多知識。
網友Emoose説,做醫療設備要使產品獲得批准,需要數百次迭代。這就是為什麼一個簡單的零件要花1萬歐元。只有賣出更多,才能降低研發投入。[8]
3D打印還能幹啥
3D打印社區甚至建立了一個緊急論壇,來分享各種對抗病毒流行的創意。[9]
比如像下圖這樣的3D打印開門器,可以避免和門把手的直接接觸。它直接連接到現有的門把手上,具有槳狀延伸部分,使人們可以用手臂而不是手來開門關門。
這個創意來自於Materialize公司的內部會議,本來是想保護員工和訪客。很多人覺得這很酷,於是公司決定免費共享該設計,任何人都可以直接下載並在本地進行3D打印。[10]
在疫情期間,運輸變得困難,本地製造的能力凸顯重要性。
引用來源:
[1]新聞來源,https://www.theverge.com/2020/3/17/21184308/coronavirus-italy-medical-company-threatens-sue-3d-print-valves-treatments
[2]MassimoTemporelli, http://www.temporelli.itl
[3]克里斯蒂安·弗拉卡西,https://www.facebook.com/Ing.Cristian.Fracassi
[4]專利侵權案例, https://www.techdirt.com/articles/20200316/14584244111/softbank-owned-patent-troll-using-monkey-selfie-law-firm-sues-to-block-covid-19-testing-using-theranos-patents.shtml
[5]意大利技術創新部長, https://twitter.com/PaolaPisano_Min/status/1239246094539915265
[6]專利, https://patents.google.com/patent/EP1852137B1/
[7]專利, https://patents.google.com/patent/EP2548600A1/
[8]網友評論, https://www.reddit.com/r/worldnews/comments/fkesql/volunteers_3dprint_unobtainable_11000_valve_for_1/
[9]3D打印緊急論壇, https://www.3dprintingmedia.network/3d-printing-unite-for-covid-19/
[10]門把手, https://www.materialise.com/en/hands-free-door-opener



