【小狗】彈芯分離革命——20式頂置主炮坦克——火力、安全性空前提升_風聞
小狗2017-微信公号—“小狗2017”—已开通,请关注、指正2020-03-24 15:55

(採用彈芯分離式自動裝彈機,
為了便於生產,同時簡化了複合裝甲的結構)



頂置火炮坦克設計,最大的麻煩就是自動裝彈機部分,現代尾翼穩定脱殼穿甲彈固然非常強悍,最新的脱殼穿甲彈已經達到2公里射程穿深1米。

但是對於自動裝彈機坦克、無人炮塔坦克而言,尾翼穩定脱殼穿甲彈太長了,彈芯太長,導致自動裝彈機難以設計。
——
——
法式自動裝彈機
備彈不足
——
**法國式炮塔尾艙自動裝彈機——**尾艙的長度限制了彈芯的長度提升。而且,西方的炮塔尾部彈艙採用泄壓板理念,希望在炮塔尾艙中彈、炮彈被誘爆後,爆炸壓向後泄壓,炮塔和車體的大部分可以保住。



但是,説實話,不論怎麼泄壓,坦克發動機艙的損毀、炮塔的損毀在所難免。而且炮塔尾艙側面的裝甲防護是極差的,在戰場上,側面、斜側面射來的反坦克彈藥從側面擊中彈艙的可能性很大。
再説,法式自動裝彈機,無人炮塔的尾部彈艙內只能容納20發備彈,如果打完,需要用人力將炮彈補充進尾部彈艙。
在作戰中,讓乘員把坦克停下,搞這套操作,很難。

(整裝穿甲彈長度太長
分裝穿甲彈擔心長度不足
這是頂置火炮坦克設計的
最大難題)
——
——
蘇式自動裝彈機
彈長受限
——
**蘇式穿甲彈——**為了將就炮塔吊籃自動裝彈機,將很長的穿甲彈分成兩部分——就是分裝式穿甲彈。前端是彈芯和部分封裝好的發射藥,後端為圓柱形半可燃發射藥筒。
兩者都裝在處於車體側面裝甲保護下的車體內,位置比西方的炮塔尾部彈艙要低,更不容易被擊中。


(T-72的C型自動裝彈機)

(T-64/80的K型自動裝彈機)
由於冷戰結束後,全球範圍內東西方坦克沒有再次大規模交鋒,因此蘇式、西方兩種穿甲彈哪一種安全性更好,暫時無法得出結論。


隨着無人炮塔坦克的出現,設計師遇到了重大難題,究竟如何將更長的穿甲彈裝入自動裝彈機。如果是法國式的尾艙自動裝彈機,則尾艙最多能容納20-24發穿甲彈,炮塔無人,也就無法在行駛作戰情況下自動將車體內的其它炮彈裝入尾部彈艙。
於是,法式自動裝彈機只能自動備彈20發!這是無法應付大規模坦克交戰的。
T-14阿瑪塔坦克之所以最終沒有采用152毫米滑膛炮,就是因為俄陸軍堅決認為自動裝甲機上的備彈不能少於40發。
——
——
自動裝彈機的
紙上奇葩方案
——
頂置火炮坦克對防護的提升如此明顯,自動裝彈機這個分系統的瓶頸,怎麼能阻擋人們的創新激情呢?
於是,各種紙上方案被創造了出來。

(蘇聯的無人炮塔自動裝彈機
是T-72的C型自動裝彈機的升級版
雙層彈盤,備彈44發,
但是這種方法增加了車體高度,弱化了車體側面防護,
同時,主炮在仰角射擊時的後座空間也不足,
最重要的是限制了穿甲彈芯的長度,
這個方案的亮點在車尾的步兵艙!
以色列!
説!
梅卡瓦的總設計師是不是
蘇聯移民!)

(美國試製過M1A1坦克使用的“左輪式”自動裝彈機
每個“左輪”備彈18發,
炮塔尾部彈艙只能容納兩個“左輪”
合計36發炮彈)

(這個已經申請了專利的自動裝彈機方案
炮彈需要在車體彈艙和火炮之間
進行百轉千回的神奇旅行
可靠性明顯很差)
在坦克創新的長河中,以上創新都有重大缺陷,現在明顯都被各國設計師PASS掉了。
——
——
雙路自動裝彈機
側面易被擊中
——
頂置主炮坦克,想使用自動裝彈機,要同時保證備彈量和穿甲彈長度。
還有一種方法是——**雙路自動裝彈機——**將20發超長穿甲彈放在炮塔尾部彈艙,用法式自動裝甲機整體裝填。
同時將20發左右的分裝炮彈裝在炮塔吊籃彈艙內,用蘇式自動裝甲機自動裝填,兩條裝彈路徑在主炮尾部匯合。


(蘇聯研究過這種
雙路自動裝彈機)
其實,還有第四種創造性的方法,可以解決這個矛盾。
——
——
彈芯分離
自動裝彈機
——
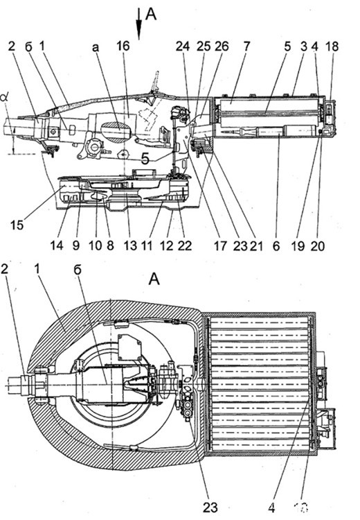
那就是——彈芯分離自動裝彈機——將20發超長彈芯放在炮塔尾部彈艙,中空留出彈芯尾部空間的發射藥筒裝在吊籃圓形彈盤上,裝彈時先自動裝填沒有任何發射藥的彈芯,然後將吊籃內的“中空發射藥筒”“套”裝進入炮膛,“套”在光溜溜的彈芯上,然後裝填完畢,擊發開火。

這種方法的好處是,炮塔尾部彈艙內只有一根一根的彈芯,沒有任何發射藥,也就不會發生中彈後的誘爆!整個炮塔絕對安全。

而20個“中空”發射藥筒和20發其他榴彈、破甲彈、炮射反坦克導彈都裝在蘇式T-72的C型自動裝彈機彈盤上,因為發射藥筒的長度可控,因此吊籃的直徑可以容納得下上述發射藥筒、其它炮彈。


採取如上“彈芯分離”自動裝彈機後,頂置火炮無人炮塔坦克的裝甲厚度可以進一步提升,正面水平物理厚度可以超過1.5米,防穿能力可以達到防穿1.1米等效厚度垂直均質鋼裝甲。
重量也可以控制在52噸以內,加上3噸重的重型爆反裝甲塊,全車戰鬥全重可以控制在55噸。
這樣的一輛20式無人炮塔坦克,車體以上整個炮塔內將沒有任何爆炸物、可燃物,而穿甲彈芯的長度可以超過1.4米。
這將是一輛安全性、火力都得到大幅提升的劃時代超級坦克。

——
——
本小狗微信公號
小狗2017
請關注