屢遭點名的融360:關聯時光分期年化利率63% 被指導流愛分期年化利率150%_風聞
趣识财经-趣谈财经百态,识悟商业心经。2020-04-23 11:51
美國東部時間2017年11月16日,融360旗下簡普科技(NYSE:JT)迎來高光時刻。
當日晚間,簡普科技正式掛牌上市,開盤價為8.25美元,較發行價溢價3.13%,首日收漲5%,市值為1.89億美元。
不足三載,簡普科技股價已悵然若失。2020年3月20日至今,股價均低於1美元,最低跌至0.6美元,最高僅1.69美元。
根據紐交所退市規則,連續30個交易日,股價低於1美元,可啓動退市程序,也意味着,簡普科技或面臨退市風險。
股價走低背後,不止於資本市場的不看好,更是源於其自身“玩火”。

年化利率63%
“本人從時光分期借款30000元,分12期歸還,已經還了7期,累計還款24761元,平台顯示剩餘還款金額16017.51元。”借款人陳先生向趣識財經表示。
不過,時光分期方面則表示,貸款利率沒有超過36%。而根據IRR公式計算,陳先生這筆貸款年化利率為63%,遠超於國家法定年化利率。
同時,陳先生稱“借款初衷是每月還款3000元左右。但現在發現合同裏本金加利息金額與我還款金額不符,每期都多了600元左右,定睛一看,合同里居然收取如此高額服務費。”
對此,時光分期避而不談服務費,僅堅稱年化利率未超過36%,且陳先生可提前還款,一次性結清,可減免費用680元。
此前,最高法等四部委印發《關於辦理非法放貸刑事案件若干問題的意見》進一步明確,非法放貸行為人以介紹費、諮詢費、管理費、逾期利息、違約金等名義和以從本金中預先扣除等方式收取利息的,相關數額在計算實際年利率時均應計入。
並非“個案”,截止目前,21CN聚投訴顯示,時光分期涉及“高利貸”、“砍頭息”、“惡意催收”層面投訴量5167件。
其中,李先生在21CN聚投訴中表示,“時光分期利息太高,遠超國家標準,催收態度非常不好,還要爆通訊錄。”根據李先生提供貸款賬單,利用IRR計算,該筆貸款產品年化利率已達65.76%。截至目前,趣識財經尚未聯繫到李先生。
企查查顯示,時光分期運營主體為北京融科君展信息技術有限公司,成立於2015年7月23日,法定代表人為葉夢舟,陸佳彥、葉慧菁各持股40%,劉曹峯持股20%。

值得關注的是,時光分期三大股東均為融360運營主體北京融世紀信息技術有限公司股東。其中,陸佳彥為融360實際控制人、法定代表人且持股33.6%。
同時,劉曹峯為融360聯合創始人、CTO,持股9.45%;葉慧菁持股33.6%。可見,時光分期與融360密不可分。同時,融360導流貸款平台一直被詬病,時光分期便在該平台展示貸款界面中。
被指導流高利貸
回顧2019年3月15日,央視315晚會曝光“714”網貸亂象,便點名融360為這些貸款APP提供展示。
彼時,融360發佈“第一時間主動下架APP進行徹底自查,對少數涉嫌搭售行為的產品已全部下架”等系列聲明。態度誠懇可見,行動仍需考究。
21CN聚投訴顯示,融360被投訴量持續攀升至上萬條,主要涉及“放任貸款商的高利貸行為”、“包庇放貸公司的違法行為”、“泄露用户隱私、暴露個人通訊錄”等層面。
自身貸款產品被質疑外,融360所導流貸款平台也常惹熱議。梳理發現,在21CN聚投訴中,融360應用所推介及貸、你我貸、時光分期等多家貸款產品被指高利貸等投訴千件起。其中,你我貸被投訴量更飆升超2萬件。
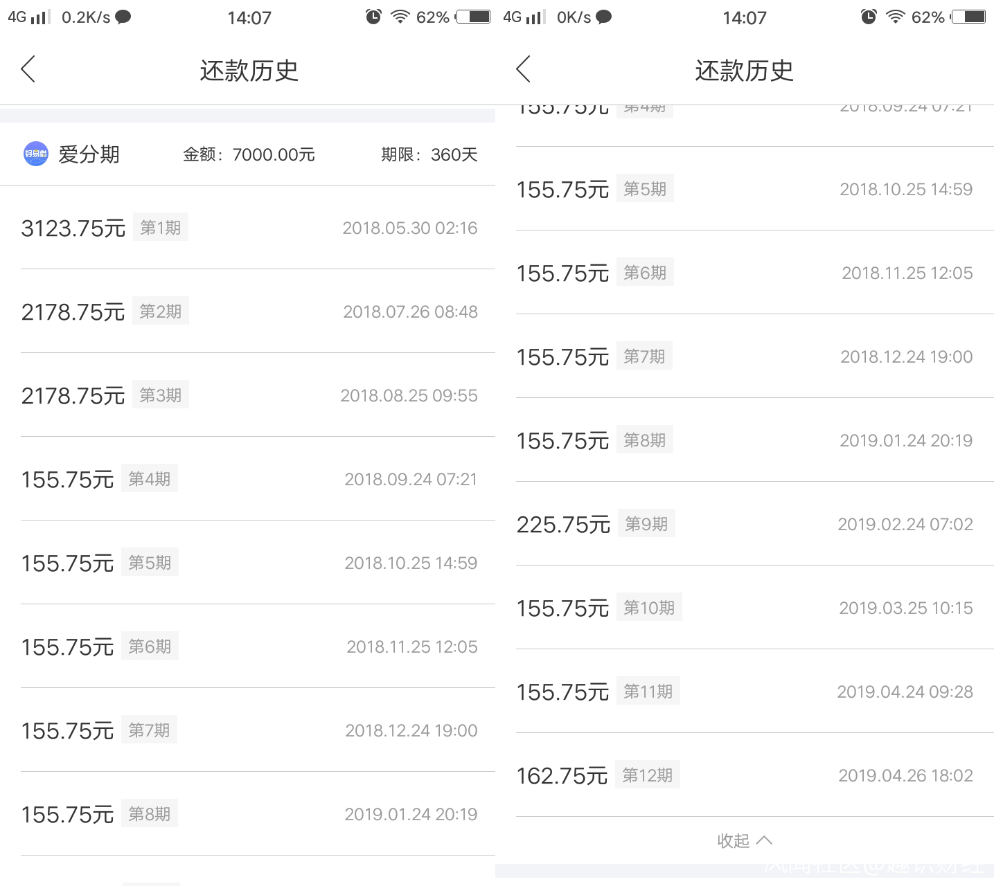
李鑫(化名)在21CN聚投訴上表示,“在融360平台申請的借款產品愛分期,分12個月還款,貸款利率達150%,遠超國家規定。”根據IRR公式計算,李鑫這筆貸款年化利率為118.68%。

融360往往於21CN聚投訴上回應,“問題已為用户轉達貸款產品的提供機構處理,融360是金融產品的信息展示平台,不參與用户與貸款機構方的借貸和催收等事宜,會嚴格審查合作機構及上架產品。”
李鑫向趣識財經表示,“愛分期”更名為“好易借”,後來似乎又換了名字。不過,李鑫所提供的融360平台“還款歷史”界面截圖中尚存“愛分期”借款記錄。
猶記,融360創始人兼CEO葉大清曾公開表示“簡普科技是連接人和錢,做金融業的‘送水工’”。可見的是,“水”的質量仍需把關。
同時,“送水工”簡普科技虧損成癮。數據顯示,2015年、2016年、2017年、2018年、2019年分別淨虧損1.96億元、1.82億元、2.02億元、1.6億元、4.25億元。
最新財報顯示,2019年,簡普科技貸款推薦服務收入同比下降34.4%,貸款申請數量同比下降47.1%。簡普科技稱,平台上可用金融產品數量減少,並受信貸緊縮與行業動態變化影響。
可見的是,導流模式難逃流量魔咒,線上流量成本高企,用户粘性仍需維護,融360亦面臨嚴峻挑戰。
自身問題難解,又屢遭點名。2019年6月,融360因發佈違法廣告,被責令停止發佈違法廣告,處以罰款70萬元;11月,中國基金業協會公示第三十批疑似失聯私募機構名單,融360旗下私募赫然在列。
後記
融360創始人兼CEO葉大清曾在上市現場稱“融360在2011年10月份成立,今天已經是一個6歲小孩子,已經幼兒園畢業,上市是剛好進入小學了。”
時過境遷,監管從嚴,互聯網金融落寞盡顯。股價低迷、雷潮洶湧,互金公司存亡之爭愈演愈烈,於融360而言,合規前行尤為重要。
此前,關於融360被投訴量居高不下、是否對融360APP所展示的貸款項目審核放貸資質等問題,趣識財經向融360相關負責人發出採訪提綱,截至發稿前,尚未得到回覆。