男子節食54天死亡:涉案“氣功大師”被刑拘,曾稱森林瑜伽可抗新冠_風聞
观察者网用户_842262-2020-06-25 09:02
日前,黑龍江伊春一男子被曝因拜師“氣功大師”劉尚林節食70天治病,在第54天意外死亡。但劉尚林表示,這是他發明“停食療法”30年以來,遇到的首例死亡事件,是死者家屬私自延長了停食時間。
6月24日,當地公安局發佈通報,劉尚林及兩名同夥被“以涉嫌利用迷信致人死亡犯罪”為由刑拘。而據劉尚林控股的公司官網介紹,其開辦的森林瑜伽可讓患有基礎疾病,如心臟病、癌症等的老年學員病情好轉,痊癒,甚至可以抗新冠病毒。

日月峽森林康養中心大樓,李某燃在這裏去世 圖源:新京報
據上游新聞早前報道,6月21日,黑龍江男子李某燃被曝死於鐵力市日月峽老年森林康養中心。李某燃家屬表示,這是該中心一氣功大師劉尚林的建議,説節食70天可治癒李某燃的病。
劉尚林承認停食療法是他發明的,但稱自己的療程一般為5-7天,據學員身體情況決定,停食期間只喝水不吃東西。李某燃死亡,是因為他私自延長了停食時間。
當地刑偵、治安、食藥環偵等部門隨即展開調查。6月23日,劉尚林再度回應澎湃新聞,稱自己發明“停食療法”30年,李某燃是首個死亡案例,因為他是第一個沒有完全按照要求私自停食的。“是他們自己不在任何人的監護下,自己這麼搞,總覺得這種方法對祛除疾病有好處,所以一直在這樣的誤區走下去。”

6月24日,鐵力市公安局通過當地市委宣傳部微信公眾號“關注鐵力”發佈通報,將日月峽大森林旅遊集團有限公司董事長劉尚林及總經理楊利、講師吳弘習等三人刑事拘留,案件正在進一步辦理中。

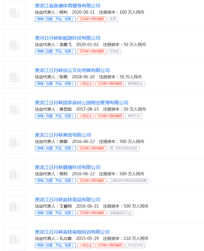
公開資料顯示,涉案日月峽老年森林康養中心成立僅8個月,為黑龍江日月峽大森林旅遊集團有限公司下屬中心,主要為老年人、殘疾人提供生活照料,康復護理、精神慰藉等服務,劉尚林是這家康養中心的實際負責人。
日月峽老年森林康養中心所屬日月峽大森林集團法人也為劉尚林,該集團下設兩個分支機構、五個全資子公司及一個森林養老中心,涉及旅行社、食品、物業、培訓等多個領域。觀察者網查詢啓信寶發現,劉尚林還通過日月峽大森林集團控股8家公司。

劉尚林曾説過,李某燃早在2018年,到該中心治療學習森林瑜伽。這個“森林瑜伽”又有什麼“療效”呢?

李某燃拜師劉尚林申請書 圖源:荔枝新聞
據北京時間財經6月23日報道,日月峽大森林集團官網顯示,現年71歲的劉尚林擁有博士學位,是高級心理諮詢師、首屆中華人民共和國重大前沿創新理論成果獎的特別獎獲得者、學術終身成就獎獲得者。他從業30餘年,專職從事森林瑜伽養生教學、科研、習練指導等學術工作。
今年6月,日月峽大森林集團官網公佈一則劉尚林網課招生信息顯示,森林瑜伽包括七支坐法、逆腹式呼吸、吞津、叩齒、腰脊瑜伽、脊柱三動式等,6小時網課報名費為500元。
該集團官網一則動態還顯示,2020年5月30日,劉尚林通過網絡連線加拿大近270多名森林瑜伽學員,課堂上,劉尚林表示,森林瑜伽可讓原有一些其他基礎疾病,如心臟病、癌症等的老年學員病情好轉甚至痊癒。
“通過近期在國內外統計,森林瑜伽的學員沒有一例感染新冠病毒,**這正是因為森林瑜伽能夠快速使身體免疫力增強,有了抵抗病毒的能力,**被傳染的幾率自然就減小了,使我們能夠更好地保護到自已。”劉尚林説。

劉尚林授課 圖源:日月峽大森林集團官網 下同
根據官網公佈的多項“治癒患者”案例,他們提供的森林瑜伽、拍手舞、聲波瑜伽等似乎能治百病,甚至可治療癌症、尿毒症:
七台河尿毒症患者朱某於2017年8月參加該集團森林瑜伽學習班,目前其“身體已經和健康人的狀態是一樣的”;
吉林省吉林市60歲的趙冬梅,2012年被確診患有子宮癌,在堅持跳日月峽拍手舞后,於2019年身體各項指標完全正常。
除此之外,還有胃病患者、糖尿病患者、肌肉萎縮患者等多個患者被治癒或減輕的案例。


然而,日月峽大森林集團及其管理人員此前就曾多次違法。
2019年11月底,黑龍江省鐵力市人民法院一則刑事判決書顯示,日月峽大森林集團總經理劉尚平在未經林業主管部門批准的情況下,指使工人周某用手鋸採伐位於馬永順林場施業區日月峽國家森林公園經營管理的515林班8、9小班內林木75株,其中國家二級重點保護植物水曲柳17株。
後經法院判定,日月峽大森林集團因非法採伐、毀壞國家重點保護植物被罰款,公司總經理劉尚平被判刑3年。值得一提的是,經法院審理查明,劉尚平違法行為是由時任日月峽大森林集團董事長的劉尚林等人商議後決定。
而為了向公安機關申請撤銷劉尚平、周某非法採伐國家重點保護植物罪一案,日月峽大森林集團有限公司原辦公室主任張某採取了偽造印章的辦法。
2019年12月,黑龍江省伊春市中級人民法院案件審理信息顯示,2015年8月,張某將《關於日月峽國家森林公園2014年清林情況的説明及申請公安部門撤案的請示》上加蓋的“鐵力林業局”印章進行圖片處理與修改成電子印章後,打印到修改後的《請示》第二頁上,並將該《請示》交給日月峽大森林旅遊集團有限公司董事長劉尚林,用於向公安機關申請撤銷劉某3、周某非法採伐國家重點保護植物罪一案。後經法院判定,張某因犯偽造企業印章罪,被判處有期徒刑六個月,目前該案也已審結。
而據日月峽大森林集團官網,劉尚林曾任黑龍江省鐵力林業地區旅遊局局長,鐵力林業局養生科學研究所所長兼黨支部書記。
(本文綜合自上游新聞、澎湃新聞、新京報、“關注鐵力”公眾號、荔枝新聞、北京時間)