指森馬侵權的嵩山少林寺註冊了666個商標,含東西南北少林_風聞
张照栋-观察者网编辑-2020-09-17 13:31
【來源:澎湃新聞】
近日,商標界又一件侵權事件引人關注。
因銷售含有“少林功夫”元素的服裝,服飾品牌森馬被嵩山少林寺發函斥責侵權。森馬回應稱此事有些誤會,但隨後在多個平台下架涉事服裝。

微信小程序“森馬官方掌上旗艦店”截圖
記者梳理發現,作為宗教機構,自上世紀90年代開始,嵩山少林寺廣泛佈局商標,截致2020年9月13日,23年間一共申請註冊666個商標,八九成帶有“少林”字樣。而引人爭議的是,在2004年福建南少林寺註冊“南少林”商標後幾年,嵩山少林寺也註冊了“南少林”商標,並將“東少林”、“西少林”、“北少林”全部註冊成功。
為何嵩山少林寺能成功註冊涉及其他少林寺的商標?知產律師劉凱認為,或因商標審查主要依賴於人工,不同時段審查標準也會存在差異。
嵩山少林寺怒懟森馬服飾侵權
9月1日,嵩山少林寺發佈聲明,稱嵩山少林寺是註冊商標“少林功夫”在服裝類商品上的所有權人,森馬在各平台在售的“Semir國潮跨界合作-國潮少林功夫森馬”系列服裝,未經授權將“少林功夫”用於服裝標籤及商品名稱,已侵犯少林寺知識產權。

嵩山少林寺的知產侵權聲明
隨後,森馬服飾方面回應稱,得知此事後很驚訝,森馬是通過少林寺所屬單位的合作公司獲得授權,正在和合作公司進一步溝通中。但截至9月13日,森馬方面再未對外有過公開回應。而記者檢索多個電商平台發現,被指侵權的系列服裝已下架。澎湃新聞向客服詢問下架原因,但未獲回應。
嵩山少林寺的知產維權引發網絡關注。有網友認為,“少林功夫”應該屬於全社會,系社會“公共品”,嵩山少林寺維權之舉實則是為維護商業利益,存在不妥。但多名律師告訴記者,嵩山少林寺申請註冊“少林功夫”商標並進行維權,並不違背法律規定。
北京中聞律師事務所律師劉彬表示,他個人贊同“少林功夫屬於全社會”的説法,但這和商標註冊並無衝突。《商標法》並未規定對“少林”等詞彙不能註冊。少林寺是法律認可的一個組織,以該組織名義申請商標,在法律層面不存在問題。商標註冊一方面是為開展經營活動,另一方面是為有效保護品牌和商譽。
在保護商標利益這塊,嵩山少林寺毫不含糊。
2019年4月,河南省登封市人民法院公佈的行政裁定書顯示,2017年11月9日,一商家在合同規定時間已經到期情況下,又銷售給登封市嵩潤商貿有限公司271件“少林寺”牌少林素餅,經營額4萬元。
2018年6月1日,登封市市場監督管理局認定,該商家銷售該批 “少林寺”牌少林素餅屬於侵權商品,其行為屬於侵犯他人註冊商標專用權,遂作出行政處罰,責令其立即停止侵權行為,罰款10萬元。
中國商標網信息顯示,嵩山少林寺自1998年開始,陸續在幾乎全類商品上註冊了“少林寺”商標。
“少林藥局”曾想賣方便麪被駁回
公開信息顯示,中國嵩山少林寺近年來進行了廣泛的商標佈局。從1997年起至2020年9月13日,嵩山少林寺共計申請了666個商標,廣泛申請註冊“少林寺”、“少林”、“少林功夫”、“少林印象”、“少林生活”等商標,有些甚至是全品類註冊(商標註冊時有45個類別可選,各類別下又有細分)。
而在1997年之前,1982年,就有醫藥保健品公司成功申請註冊“少林寺”商標。但在嵩山少林寺開始重視“商標”保護後,鮮有公司或個體申注“少林”商標,甚至有公司合法使用18年的“少林”商標被法院裁決無效。
據中國裁判文書網公佈的判例,2018年,嵩山少林寺提請天馬果公司註冊和使用的“少林”商標無效,認為易使公眾認為其與宗教場所之間存在某種特定聯繫,有害於宗教感情,從而產生不良影響。最終,法院判決支持了商評委關於天馬果公司使用近20年的“少林”商標無效的裁定。
不過,在申請註冊商標方面,嵩山少林寺也曾因“涉嫌誤導”被商標評審委員會駁回。
據北京青年報等多家媒體報道,中國嵩山少林寺曾於2004年8月17日向商標局申請註冊“少林藥局SHAOLIN MEDICINE”商標,欲使用在方便麪、茶、咖啡等商品上。
嵩山少林寺認為,“少林藥局”已有700多年曆史,已經和嵩山少林寺形成了唯一特定聯繫,所以該商標具有顯著性;其次,嵩山少林寺的申請商標使用在註冊商品上,不會有不良影響。但商評委答辯認為,“少林藥局”歷史上最初有治療各病的秘方百餘方,以寺內眾僧及周邊百姓診斷治療為主要事務。後因兵火戰亂,“少林藥局”事務屢有斷續。該商標易使消費者理解為治病、買藥的處所,而不會將其作為商標加以識別。
該註冊商標申請被國家商標評審委員駁回,嵩山少林寺不服,將商評委告上法庭。2010年4月,北京市一中院在審理後維持了商評委的複審決定書。
法院認定,綜合考慮少林藥局的歷史沿革及作用,申請商標使用在茶、咖啡等商品上,易使消費者認為上述商品來源於藥局,其中可能含有藥用成分,從而對商品的性能等產生誤認,進而產生不良的社會影響。
“東西南北”少林都註冊被疑搶注
記者梳理發現,近年來嵩山少林寺強勢維護自身商標權益,還被指有搶注之嫌。
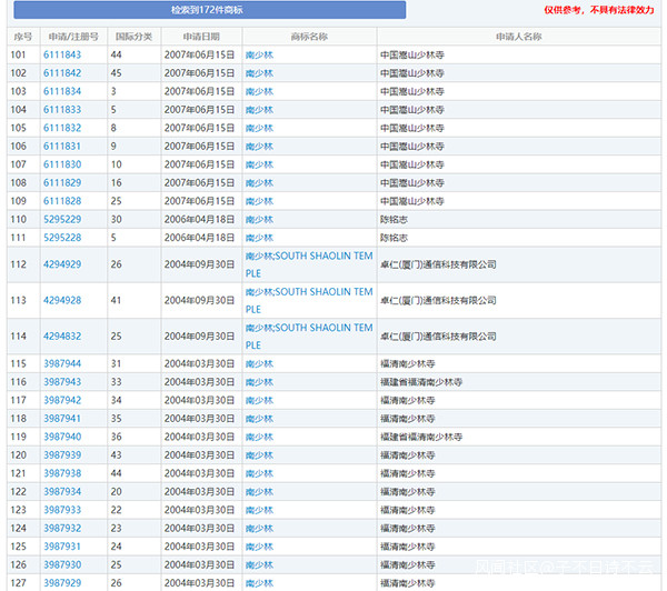
據中國商標網信息,嵩山少林寺先後申請註冊“東少林”、“西少林”、“南少林”、“北少林”等商標,且幾乎是全類註冊。
歷史上,存在“南北少林”之説,在很多人的印象裏,“南少林”即福建的南少林寺,“北少林”即嵩山少林寺。嵩山少林寺方丈釋永信曾公開宣稱,位於嵩山少林寺北邊的“北少林”是嵩山少林寺的分院,但對東、西、南少林寺的情況,未有公開明確表態。

嵩山少林寺與福清南少林寺註冊的“南少林”商標
澎湃新聞2015年11月曾以《嵩山少林寺深陷爭議漩渦之時,福建莆田南少林寺正悄然崛起》為題,報道了同樣是中國佛教禪武文化聖地之一的南少林寺的近況。
由於歷史緣由,南少林寺在清朝初年,一夜之間銷聲匿跡,只停留在金庸小説《書劍恩仇錄》勾畫的武俠世界裏,直到1986年才重新被考古學家發現和挖掘。後來,當地政府在舊遺址上重建了南少林寺,以此推動當地的旅遊產業。
不過,此前,福建省曾掀起一場南少林寺的遺址紛爭,捲入其中的共有三座古寺,它們分別是莆田少林寺、泉州少林寺和福清少林寺,幾方都拿出了證據,各執一詞。
中國商標網信息顯示,2004年3月,福建的福清少林寺申請在幾乎全類商品上註冊“南少林”商標,並獲得註冊。2007年開始,嵩山少林寺也開始申請在多類商標上註冊“南少林”,並獲得註冊。爾後,福清少林寺再於2017年申請多類註冊“南少林”,並獲得註冊。
而就在最近的2020年8月26日,嵩山少林寺又在9、10、16類商標上註冊了“南少林”。不僅如此,嵩山少林寺在2007年至2014年之間陸續申請註冊了東、西、南、北少林商標。如,於2007年6月15日在13類商品申請註冊“北少林”、“東少林”、“西少林”;2011年1月18日,在16類商品上申請註冊“南少林”;2014年11月5日,在30多個品類商品上,申請註冊“南少林”、“東少林”、“北少林”、“西少林”。

嵩山少林寺註冊的西少林商標 來源:網絡截圖
嵩山少林寺註冊的西少林商標 來源:網絡截圖“嵩山少林寺把東、南、西、北少林都註冊了,可能有點爭議。”劉彬律師表示,其行為有搶注之嫌。但是否構成搶注,還要根據事實情況來進行最終判斷。“現在常見侵犯他人在先權利的商標註冊申請,其中原因很多,如何準確地識別出他人的在先權利是商標審查時的一個難題。”
湖南聞勝律師事務所知識產權與娛樂法律師劉凱也認為,其他少林寺與嵩山少林寺在歷史沿革、文化淵源等方面具有較大差異,嵩山少林寺申請“東少林”、“西少林”、“南少林”商標確實存在搶注的嫌疑。
對於為何嵩山少林寺能成功把“東西南北”少林商標全註冊,劉凱認為,可能是由於商標審查主要依賴於人工,不同時段審查標準也存在差異。對此,“若其他少林寺覺得商標遭到搶注,根據《商標法》相關規定,在先權利人或者利害關係人可自商標註冊之日起五年內請求商標評審委員會宣告該註冊商標無效。”
然而,對於嵩山少林寺的搶注問題,9月16日,福清南少林寺主持釋廣智明確向記者表示,“都是寺廟,佛家講‘不爭’。”
釋廣智介紹,福清南少林寺自1996年開始申請“南少林寺”的商標,後續多次申請都通過了。南少林寺申請商標的目的,更多是為了進行知識產權保護,防止其他人過度利用這個品牌,做一些對宗教情感有傷害的事。比如,河南曾出現了“少林火腿腸”,南少林寺和嵩山少林寺一脈相承,所以對嵩山少林寺也註冊“南少林”商標,“應該有一顆包容慈悲之心,都是為了佛祖的事業,佛教的發展。”