解讀詭異的新冠病毒疫情數據_風聞
跨越时空-喜欢政治、经济、前沿科技。2020-10-25 20:36

聲明:我不是學傳染病學的,解讀有不妥之處,請多多包涵。
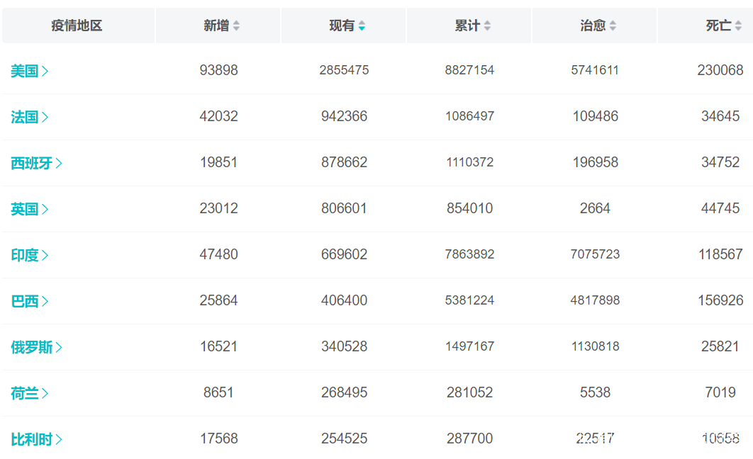
對於這圖表的數據,你不能説它完全是胡編亂造的,你頂多説它不準確,所以還是有參考價值的,值得深思。
先把計算結果列出如下(截止到2020.10.25):
美國的治癒率65%,死亡率2.6%; 法國的治癒率10.1%,死亡率3.2%;
西班牙的治癒率17.7%,死亡率3.1%; 英國的治癒率0.31%,死亡率5.2%;
印度的治癒率90%,死亡率****1.5%; 巴西的治癒率89.5%,死亡率2.9%;
俄羅斯的治癒率75.2%,死亡率1.7%; 荷蘭的治癒率2%,死亡率2.3%;
比利時的治癒率7.5%,死亡率3.5%;
有些人看到印度的治癒率遠超其它國家,就自以為數據是胡編亂造的,但這也恰好反映印度的數據不是胡編亂造的,因為胡編亂造的數據不會這麼離譜呀。就象最近的有個女生把自己一起遊玩的女伴謀害掉,卻瞬間被女伴抓緊了手帶下河,一起淹死了。請問有哪個編劇情的人能編出這麼不合常理的事,編這種電影肯定被觀眾噴死。因為胡編亂造的數據總力求接近邏輯性,但印度的數據如此不合常理,肯定不是人呆在電腦前胡編亂造的,而是客觀事實。

客觀事實總是出人意料,但也值得深思,我先按下不表,帶你看另二件事實。
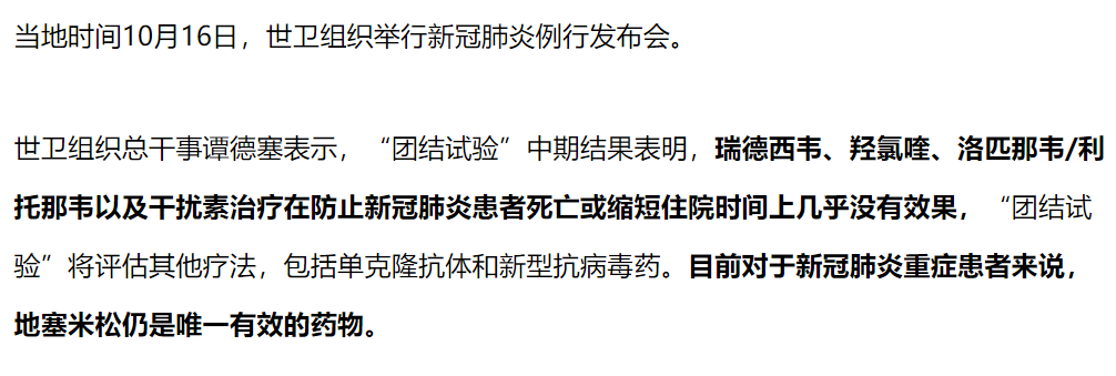
第一件:2020年10月16日,世衞組織總幹事譚德塞表示,“團結試驗”中期結果表明,瑞德西韋、羥氯喹、洛匹那韋/利托那韋以及干擾素治療在防止新冠肺炎患者死亡或縮短住院時間上幾乎沒有效果,“團結試驗”將評估其他療法,包括單克隆抗體和新型抗病毒藥。目前對於新冠肺炎重症患者來説,地塞米松仍是唯一有效的藥物。

第二件:權威的中醫專家張伯禮説過,在他手下用中藥治療的新冠肺炎患者,沒有一位轉入重症的。
現在我跟大家分享下我的想法,僅供參考。
**各數據的死亡率最相近,都是百分之幾。**但死亡率跟治癒率有一些關聯,治癒率不高的,死亡率偏高,這符合常理。但詭異的是治癒率與死亡率不是恰好成反比例關係,印度的治癒率高得不可思議,死亡率也是百分之幾;英國的治癒率低得嚇人,死亡率也是百分之幾。簡直是沒有哪個數學家用數學公式來理清其中的關聯。
為什麼為什麼為什麼為什麼為什麼為什麼各國的治癒率相差如此地大呢???
有人説是人種基因造成的,我認為不對,因為各國的死亡率很相近呀。
所以關鍵還是對病毒“脾氣”的理解。
這病毒很難治療,幾乎沒有特效藥,而且染病後極難痊癒,至少要治療半個月以上,你看醫療最發達的美國,半年下來,還是有42.4%的人沒有痊癒。
這種久拖的病毒沒有特效藥,但是有抑制它的藥,比如地塞米松(激素類藥);過去得過新冠病毒的人反映,當發燒時,吃感冒藥後就不發燒了,但只是暫時抑制了,並沒有治癒;中國推薦的蓮花清瘟膠囊也可以抑制它。抑制住病毒後依靠身體激發出抗體,才慢慢地痊癒。即使看起來人有精神了,但核酸檢測還是陽性的時候,抑制病毒的藥物還是不能停的。
沒有特效藥而能抑制這病毒的藥幾乎都是調節人體系統狀態的藥,象中藥蓮花清瘟膠囊就是以調養性質的藥,象地塞米松(激素類藥)都影響到人體激素分泌等等。象印度人喝牛尿(動物體內的很多毒素是通過尿排出)後,牛尿中的毒素重新進入人體,從而影響人體的生命系統的正常環境,也會起來抑制這病毒的作用,這也許是印度人在幾千年中得出抗各種瘟病的奇效經驗,就象中國幾千年來總結出各種中藥治病方法一樣,是經驗總結的結果。也許喝自己的尿不一定比牛尿有效果,但你可以喝羊或馬的尿可能有同效奇效,畢竟消化各種䓍後餘留的毒素跟人體消化大米後餘留的毒素是不一樣的。這也許能解釋為何印度的治癒率奇高的原因吧。
抑制住病毒後依靠身體激發出抗體,但如果你沒有吃任何藥,等病毒完全霸佔了你身體,感覺呼吸困難了,才有人上門把你抬到醫院,那你就很難痊癒的。據説英國就是這樣的,當你不舒服時,即使檢測出來是新冠病毒時,醫生也不讓你去醫院,讓你自己身體去抗,抗不住呼吸困難時才把你送醫院。
總結:染新冠病毒了,就儘早治療,否則拖久了,就很難治療,所以治癒率高不起來,並且不吃藥想用身體硬抗,死亡率會奇高哦。吃各種調節或調養的藥具有抑制病毒的作用,感覺有一些效果,千萬不要停藥(喝牛尿或馬尿每天也來一口),要直到核酸檢驗為陰才好(最終身體的抗體激發起來了)。象迷信西藥的特效藥瑞德西韋、羥氯喹的一些國家,全都抗疫情慘敗,還不如印度牛尿或中國的中藥靠譜。
得出哲理:病菌越毒(難治療),要求的條件就越苛刻。愛滋病之所以毒,是因為它需要高營養的血液或體液才能生存;新冠病毒之所以毒,是因為它適合的生存條件正好與人體的正常生命系統高度一致,特效藥奈何不了它,唯有調節或調養性質的藥才能讓這病毒有所收斂。