原創 | 歷史的轉折點:覆盤2020新冠疫情_風聞
花猫哥哥-猫哥的视界官方账号-公众号:猫哥的视界、猫哥的世界2020-12-17 07:38
文章首發於貓哥的視界(maogeshijue)
明初奇人劉伯温在 《救劫碑文》中有一句名言傳頌很廣:“十愁難過豬鼠年,甲子豐收庚子亂”。盤點中國近代史,庚子年給中國人民留下的都是苦難的記憶。
1840年鴉片戰爭爆發 ,然後是百年屈辱史;
1900年八國聯軍入侵中國 ,然後與清政府締結了中國歷史上最屈辱,賠償金額最高的《辛丑條約》。
1960年,我們工業化進程出現嚴重挫折 ,糧食大面積歉收……
2020年,我覺得是向上追溯240年庚子年曆史中一個轉折之年,這一年在中華民族偉大復興之路上將毫無懸念地被載入歷史。
下面我們來複盤今年驚心動魄的新冠疫情事件。

1 西方的傲慢
2019年12月 ,武漢華南海鮮市場出現不明原因肺炎患者,雖然陸續也有新聞報道,但是所有的人都把它僅僅當做一則不起眼的新聞而已。
誰也不曾想到,這個不明原因的肺炎將對中國乃至全世界造成怎樣的衝擊。
2020年1月, 武漢不明原因肺炎開始零星擴散,開始有一線醫護人員懷疑這是類似SARS的傳染性疾病,但是當時患者數量不足,還不能得出人傳人的結論。
轉折點是1月19日 ,鍾南山臨危受命緊急趕往武漢,次日再趕到北京彙報,**1月20日,**鍾南山在記者招待會上首次提出,這是一種具有高度傳染性的疾病。

(來源:財新網)
消息一出,舉國震動!
1月23日,武漢宣佈封城!
武漢封城之後,全國輿論掀起一場風暴,公眾普遍質疑武漢方面面對這樣具有高度傳染性疾病反應遲鈍,各路媒體反覆梳理武漢疫情前期過程,把武漢方面的失誤反覆鞭打。
現在我們回頭來看,其實新冠疫情早在去年6月就在意大利出現,並且擴散到全世界,美國CDC現在也承認去年12月美國就出現大量新冠疫情患者。
如果説反應遲鈍、應對失誤,這些歐美發達國家相比武漢方面差距至少有八條街,但是那時武漢方面卻是唯一的焦點。
中國武漢爆發疫情**國際輿論一片幸災樂禍的聲音,**其中不乏藉機對中國社會主義體制進行攻擊,然後有一張著名的圖片廣泛流傳。

西方媒體指責中國限制措施侵犯人權(RT視頻截圖)
美國紐約時報的報道更為惡毒。

美國紐約時報:《中國是真正的東亞病夫》
在鋪天蓋地的國內國際輿論風暴中,也有人提出如果新冠疫情首先在歐美國家出現會是什麼結果,然後輿論場上無數公知大V就跳出來論證美國、日本等國家不但對傳染性疾病有一整套嚴密的防控機制,而且民主國家新聞自由、信息透明,所以即使有疫情發生,也很快就能撲滅。
應該説公知大V吹捧歐美國家也不完全是“毫無依據”,他們所有的説法當時都是有“國際共識”的。
美國名校霍普金斯大學的著名智庫經濟學人在2019年發佈了一個全球衞生安全指數。在這個衞生安全指數里中國各項指數都偏低,總分僅48.2分,全球排名51位,“響應”排名47位,“規範”排名141位,有50個國家綜合指數在中國之前。

而大美利堅合眾國排名第一,總分83.5,遠遠領先排名第二的英國。

在武漢封城之後,智庫經濟學人還發布了一篇雄文,聲稱按照他們建立的模型顯示,“中國這種體制不利於抗擊疫情”,而美國的體制“響應更迅速,更透明、行動更能及時糾偏”。

經濟學人:《非民主體制下疫情更加致命》
是的,在美國精英階層眼裏,中國應對公共衞生安全能力,甚至還不如厄瓜多爾——就是那個社會治理非常低下,後來爆發新冠疫情之後,大量屍體都無法處理,用塑料袋包裹堆在家門口或者街邊的厄瓜多爾。

厄 瓜多爾
2 中國的抗疫戰爭
在國際輿論冷嘲熱諷之中,中國卻發起了一場氣壯山河的抗疫戰爭。
武漢在經歷的短暫的慌亂與無序之後迅速進入戰時狀態。
上千萬人居家隔離,十天建成火神山醫院,在一個月內建設16家方舟醫院,設立定點醫院255家,隔離病房22.5萬間,救治病牀11.7萬張;

來源:新華社
核酸檢測量 從疫情之初每日300份提高到5月的132萬份;
累計開展流行病學調查****10萬人,追蹤管理密切接觸人羣28.5萬人;
供應鏈運行良好,武漢封城期間物資供應充足,物價平穩;
在這一切成績的背後,是全國人民對武漢的鼎力相助——
在疫情期間有346支醫療隊,4.26萬名醫務人員,965名公共衞生人員火線馳援,19個省對口幫扶。
全國10%的重症醫護力量集結武漢,25%的ECMO集中在湖北,社會各界捐款151億,捐物1.59億件,無數醫護人員、志願者爭先恐後馳援武漢,可歌可泣的事件層出不窮。

2月之後,全國絕大部分地區都開始實施最嚴格的防控措施,14億國民自動服從國家號召居家隔離,幾百萬公務員,幾千萬共產黨員被有效組織起來在抗擊疫情一線衝鋒陷陣——迅****速完成社區隔離、疑似患者篩查、供應鏈組織等工作。
在西方智庫評價體系裏,中國這個應對流行性疾病排名只有51位的國家以一系列眼花繚亂的表演讓全世界媒體都目瞪口呆。
在中國,篩查如同戰爭片——
中國一個最基層的居委會只有幾個工作人員,但是隻要動員令一下,卻能迅速組織幾百名志願者(大部分都是共產黨員),迅速完成社區封閉、監管、排查、宣傳工作。
在中國,追蹤就是偵破片——
對於確診患者密切接觸人羣的追蹤我們不但在社區進行拉網式反覆篩查,更要聯合衞健、公安、統計、通信部門進行抽絲剝繭式追蹤,將潛伏在人羣中的無症狀感染者全部找出來,有效防止了疫情的擴散;
中國政府與人民出色的表現,以至於世界衞生組織總幹事譚德賽在介紹中國經驗時説了這樣一句話——
“我一生從未見過這樣的動員!”

(來源:央視新聞)
3 冷嘲熱諷與落井下石
當中國在與新冠疫情拼死決戰的時候,西方國家在做什麼呢?
它們在冷嘲熱諷,在冷眼旁觀,在落井下石。
武漢封城,
它們説我們這是侵犯人權;
我們萬眾一心眾志成城抗擊疫情時,
它們説這是中國版的“切爾諾貝利時刻”;
當日本人好心提醒歐盟國家要重視新冠疫情時,一個意大利官員居然説,這是黃種人才會感染的疾病。

(環球網)
三體有一句名言——弱小與無知不是生存的障礙,傲慢才是!
這句名言用在西方國家真是再貼切不過了。
最令人寒心的是,當中國因為抗擊疫情工廠大面積停工,經濟嚴重停滯的時候,某些國家與地區落井下石的表現令人齒冷。
美國 第一時間宣佈中斷與中國的航班,並派出軍艦闖入我南海;
印度與台灣地區 宣佈對華禁售口罩等醫療物資;
美國商務部長 公開宣稱:新冠疫情將有助於製造業迴流美國;
印度交通部長 直言不諱表示:疫情之後,中國全球工廠的地位將被削弱,印度會吸引更多投資。莫迪政府甚至雄心勃勃劃出46萬公頃土地準備承接中國轉移出來的產業鏈。
2月初在日本橫濱爆發的鑽石公主號事件如同一面照妖鏡讓一票西方國家醜陋無能的嘴臉原形畢露。
口口聲聲標榜自己“人權至上”的幾個西方發達國家的表現讓人倒盡了胃口,面對鑽石公主號上3711人的人道主義災難,英美兩國是推卸責任不聞不問,日本是應付輿論敷衍了事,最後眼睜睜看着郵輪在橫濱停靠半個月不能上岸,傳染病例超過700人!
當時我就預言,西方發達國家如果爆發疫情,結局絕對不會好!
4 西方的策略
果然,3月新冠疫情陸續在西方各國爆發之後,這票號稱應對流行病準備最充分的國家的表現讓人瞠目結舌。
美國,川普在疫情之初的表態:
——“我可以代表美國説我國疫情尚在掌握之中”
——“沒什麼需要恐慌的”
——“新冠病毒會奇蹟般地消失”
——“新冠病毒是民主黨的新騙局”
——“不管發生什麼,我們都做好了準備;我們有全球最好的專家”。
英國 :
3月12日,英國首相公佈了英國的防疫政策:**“羣體免疫”**策略。

(來源:新浪財經)
“讓英國絕大部分的人感染新冠病毒,這樣雖然會有一部分人會因此死亡,但是絕大部分的人將會活下來,並且獲得抗體,從而獲得羣體免疫力。”
日本:
2月初,日本厚生勞動省大臣加藤勝信公佈了日本的防疫策略:從預防感染的政策角度來看,**為所有人實施PCR檢測並非有效對策,**需將有限的檢測資源集中用於有重症化風險的患者。
瑞典
嚴格執行“羣體免疫”政策,好吧,就是躺倒任由病毒蹂躪。
德國
德國採取典型的緩解策略:強調新冠肺炎不可能被完全阻斷, 採用大流感的管理模式,全民教育,降低社會活動度,通過家庭自我防護,降低疫情傳播,主要注重對重症病例的救治。
5 三觀盡碎
説實話,原本我對中國崛起很有信心,但是對於西方國家綜合實力的強大,國民素養、科技發達還是比較認同的。
雖然我也認為他們社會治理存在很多問題,但是在新冠疫情這張考卷下,西方國家不但面對疫情態度消極,而且應對疫情的治理能力之差,道德底線之低讓我三觀盡碎。
比如,中國一旦遇到突發性自然災難,我們立刻就有無數志願者站出來,自發承擔救援物資組織、救濟、援助等工作。
在我想象中,西方國家基層志願組織更為發達,並且還有成熟完善的社工文化,所以,遇到新冠疫情西方國家志願者組織應該有更為出色的表現。
但是,在西方國家爆發新冠疫情之後,我根本看不到大規模系統性志願者的身影。
雖然意大利、法國等等國家也陸續頒佈了封城的命令,但是無論是執行居家禁止令還是旅行禁止令,這些國家主要靠軍隊與警察來執行,並且效果很差。

(來源:新浪網)
而中國靠着居委會大媽、脾氣暴躁的村支書以及志願者就讓14億人乖乖待在家裏,嚴格執行每户人每2天出門採購一次的規定。
比如,新冠疫情爆發之後,我們都知道這是一種通過呼吸系統傳染的疾病,所以我們人人佩戴口罩,回家就洗手,甚至還對全身衣服進行消毒——在我們看來,這些不過是常識性操作而已。
但是這些常識性操作在西方國家卻是另類,他們不但抗拒佩戴口罩,還喝消毒液,焚燒5G基站(認為是基站在傳染病毒),抵制居家禁止令,組織大規模集會。

特朗普支持者喝消毒液(來源:推特)
比如,我們都認為西方國家都有一套完善的疾病防控機制,包括信息採集、追蹤、疾病監測與收治等等。
但是新冠疫情在歐美國家爆發之後,我們眼珠子都掉了一地,這些發達國家不僅社會治理極差,基礎設施不行,連基本信息採集都錯漏百出。
以美國為例,號稱全球科技最發達的國家,聯邦政府居然沒有一個可靠的病例上報系統,逼着彭斯一個個給全美醫院發函,要求他們向聯邦政府上報數據,至於對確診患者密切接觸人員的追蹤,西方一票發達國家居然沒有一個能做到。

來 源: 瀟湘 晨報
吐槽一下:好萊塢大片中那種敲幾下鍵盤就可以幾秒鐘之內在全世界鎖定目標的本領去哪兒了?
比如,我們覺得民主國家信息透明,靠選舉執政的官員應該要對民眾負責。
但是看看西方國家一頓騷操作,前期對疫情或者漠不關心或者拼命隱瞞,後期疫情爆發後製造各種“羣體性免疫”理論——
實際就是對疫情不管不問,最後導致疫情全面爆發,截止到12月歐洲死十幾萬人,美國死幾十萬人,居然沒有一個官員被問責。

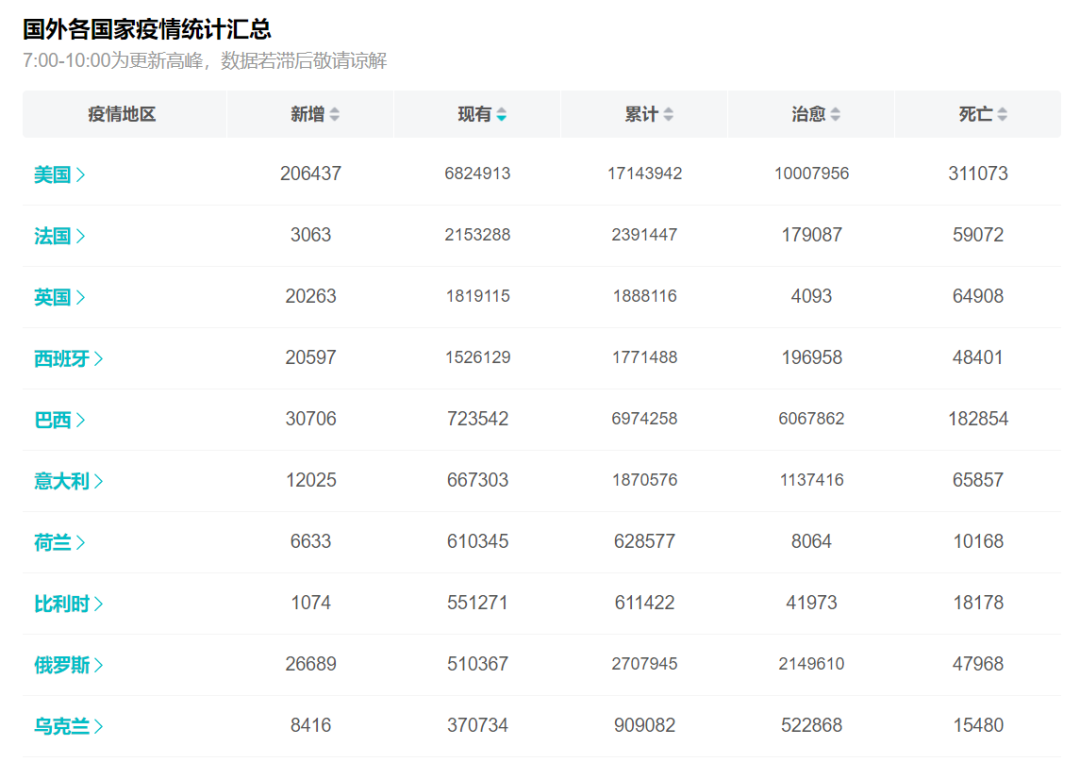
截至12月16日國外疫情數據
而中國僅僅是湖北方面前期應對疫情不當,**就有3000多官員被問責撤職!**老實説,我覺得湖北這批被問責的官員隨便拉一個出來表現也比西方國家不被問責的官員強得多!
比如,公知告訴我們,民主國家沒有腐敗。
結果美國總統安排自己女婿負責醫療物資採購,這些聯邦政府採購的醫療物資被轉手交給5個私人醫療公司,然後醫療公司將這批物資採用競價拍賣價高者得的方式賣給各個州政府——

(來源:澎湃新聞)
這種肆無忌憚發國難財的行為,美國從政府到新聞界居然熟視無睹。
最重要的是,一些我們認為理所當然的事情,在歐美國家卻並不如此。
比如,在現代社會政黨是什麼?我們理所當然地認為政黨是現代國家組織裏動員力的基礎,是國家與民族凝聚力的源泉,是社會的脊樑。
在中國遇到社會性災難我們習慣了這樣的場景:黨員先上,然後帶動老百姓參與,基層黨組織協調。
在這場波瀾壯闊的抗擊新冠疫情的戰爭中,我們共產黨員起到了模範先鋒作用,疫情期間一共有400多名政府工作人員與志願者犧牲在第一線,其中超過70%都是共產黨員。
但是在西方國家應對疫情期間,我們卻看不到任何政黨組織與黨員的身影——社區隔離沒有,醫療物資採購沒有,民間援助更是沒有!
只有在美國大選時,我們才看到民主黨與共和黨開始活躍起來,各種集會演講,各種社區拉票——好吧,衝鋒陷陣時政黨組織與黨員躲在一邊,爭權奪利時一個個如同打了雞血一樣積極。
這就是西方國家政黨與中國共產黨本質區別!
吐槽一下,香港特區那票形形色色的政黨也是如此,搞動亂一個比一個積極(畢竟有境外資金獎賞),選舉爭權奪利一個比一個上心,真遇到疫情了,全做了縮頭烏龜!
6 抹黑與甩鍋
因為西方國家腐敗、無能,組織渙散,結果新冠疫情毫無懸念在全球大爆發。
面對新冠疫情兇猛的攻擊,以美國為首的西方國家抗疫一塌糊塗,不但不反思總結自己的失誤,反而喪心病狂地對中國進行抹黑與甩鍋。
美國總統特朗普、國務卿蓬佩奧公然將新冠病毒命名為“中國病毒”,西方媒體一擁而上,一段時間“中國病毒”、“武漢病毒”的報道鋪天蓋地。

明鏡週刊:新冠病毒由中國製造
甩鍋之後就是發起對中國的“索賠”運動。
美國 一些政客與社會組織公然向中國起訴,要求索賠20萬億美元;
英國 一家智庫要求政府向中國索賠3510億英鎊;
印度 一個非政府組織也要求政府向中國索賠;
澳大利亞 公然提出要發起對中國的“獨立調查”;
一時間山雨欲來風滿樓,黑雲壓城城欲摧。
當時很多國人都焦慮未來西方國家會不會聯手向我們發難,這個問題我倒是不怕的,試想,連新冠疫情的突然衝擊我們都能頂住,西方國家一些政客的叫囂難道還會讓天塌下來?
前段時間德國媒體批評我國搞戰狼外交引發輿論熱議,很多人還頗為認同德媒的觀點,認為我們外交沒必要咄咄逼人,沒必要四處出擊四面樹敵,甚至有人覺得痛打土澳也不符合統戰的原則,這裏講講我的看法。

(來源:中國青年網)
我們不提過去,就看看今年以來國際輿論場上西方媒體與政客的對華言論。
中國爆發疫情之初 , 西方輿論不是攻擊我們體制,就是侮辱我們是東亞病夫;
好吧,我們忍了;
當我們眾志成城抗擊疫情的時候 , 西方輿論説這是中國版的“切爾諾貝利時刻”,不但不感激中國為它們爭取了一個月的緩衝時間,反而冷嘲熱諷;
好吧,我們還是忍了;
當西方國家爆發疫情之後, 美國為首的一些政客説這是“中國病毒”,是中國人將新冠病毒傳染給全世界;
請問,這還能忍嗎?
接下來,就是西方國家發起向中國索賠的呼聲;
請問,這能忍嗎?
所以,中國戰狼外交完全是西方國家步步緊逼的結果,**你不與他們鬥,不去爭,不教訓一些反華急先鋒,這票國家無中生有就能在我們身上撕下一塊肉來,**你信不信?
最近我們外交部發言人趙立堅在境外輿論戰中獲得一次痛快淋漓的勝利,結果就引來了德國媒體“戰狼外交”的指責,大家知不知道,為啥這票西方國家只會含蓄地批評中國的外交風格,卻沒有對趙立堅本人進行攻擊嗎?
插播一段趙立堅往事。
趙立堅在巴基斯坦擔任臨時代辦兼參贊的時候,曾經怒懟美國駐聯合國大使賴斯。
事件起因是趙立堅在社交媒體推特上批評美國的種族問題,“華盛頓特區的白人從不去西南區(後發文澄清為華盛頓東南區),因為那是黑人和拉美裔的地區。”
此舉惹惱賴斯,賴斯發推文稱趙立堅為“可恥的種族主義者”,而且“驚人地無知”,推文稱,“在正常時期,你會被列為不受歡迎人物(PNG)。
趙立堅則回擊稱,賴斯才是“可恥”和“驚人地無知”,趙立堅説他目前派駐伊斯蘭堡,但曾在10年前派駐華盛頓,指責賴斯,“把説你不想聽的真話的人標籤為種族主義者,是無恥與噁心的行為。”
據傳,賴斯為此向中國方面投訴,要求中國處理趙立堅。
然後不久,趙立堅卻被調任為外交部新聞司副司長兼新聞發言人!
雖然駐巴基斯坦臨時代辦與新聞司副司長同為副司級,但是外交部新聞司副司長兼新聞發言人地位與影響力顯然遠遠超過巴基斯坦臨時代辦。
我想起國際外交史上一段經典對話。
20 世紀A國與B國劍拔弩張,某日A國一個軍官發表了一段言論讓B國非常不滿,於是B國要求A國處理這個軍官,然後A國回應是這樣説的——
“我們對於史密斯上尉的言論表示遺憾,我們已經提醒史密斯少校注意自己的言論,如果再出現類似的問題,我們將對史密斯上校進行嚴厲的處罰!”
7 拯救全球經濟
當全世界都在新冠疫情裏打滾的時候,率先取得抗擊新冠疫情勝利,並且率先恢復生產的中國向全世界,甚至包括前期落井下石的國家不計前嫌地伸出自己的援手。
我們向幾十個國家派出醫療隊與專家小組;
我們給上百個國家提供天文數字的口罩、防護服、呼吸機等醫療物資;
我們向世界衞生組織捐款20億美元;
我們承諾自己研發的新冠疫苗將作為公共衞生產品提供給全世界;
人在做,天在看!
所以,當全世界因為疫情導致經濟陷入停擺之時,中國經濟卻是一片欣欣向榮的景象!
加班!加班!不停加班! 這是今年中國生產企業特別是外貿出口企業的普遍現象。
因為疫情導致全世界生產停擺,中國成為全世界唯一僅存的製造基地。
從5月到11月,雖然人民幣連續升值從兑美元匯率7.19升值到6.5,但是也擋不住外貿出口暴增的勢頭;
醫療物資出口暴增;
手機、筆記本、家用電器出口暴增;
自行車、小家電出口暴增;
紡織品出口暴增;

剛剛過去的11月,**中國出口同比增長21.1%,當月貿易順差754億美元,**創造了改革開放以來最高紀錄!
中歐貨運班列同比猛增105%, 海運集裝箱一箱難求!

大家知道這些現象意味着什麼嗎?
意味着中國憑一己之力硬生生拯救了全世界經濟!
為什麼?
原因很簡單,在疫情爆發之後,全球主要經濟體為了撐住經濟都不約而同進行大規模印鈔放水。
但是如果只有鈔票沒有足夠的商品供應,海量的貨幣與短缺的物資直接就會導致物價飛漲,民不聊生——最後經濟崩潰幾乎是必然的結局。
但是,還好中國的工廠填補了全世界商品短缺的空白,天文數字的中國商品源源不斷通過海運、鐵路運輸到達世界各地,保障了全世界的物資供應,讓全球主要經濟體僅僅只靠印鈔就撐住了經濟。
中國經濟的強勁復甦以及旺盛的需求不但將國際原油價格從負油價硬生生拉回到40美元以上的區間,還拉動鐵礦石、動力煤價格節節攀升。
假如沒有中國在今年1—2月眾志成城的抗疫戰爭, 假如中國現在如同其他國家一樣在疫情泥潭裏打滾, 假如現在中國也無法向全球提供充足的商品供應;
現在全球經濟會是什麼模樣?
那就是一場史無前例的災難!
年初中國的抗疫戰爭為全世界爭取了1個月的緩衝期,
好吧,被一票發達國家豬隊友浪費掉了!
現在中國的工廠生產的商品撐住了全球經濟沒有崩潰,社會沒有失控, 所有在年初冷嘲熱諷,抹黑甩鍋我們的國家——
你們不但欠中國人民一聲感謝,更欠中國人民一次道歉!
8 超級爛攤子
那個在今年不遺餘力抹黑甩鍋中國,各種落井下石的美國現在怎麼樣了呢?
目前確診超過1700萬,死亡超過30萬——死亡人數已經超過2次世界大戰,並且每日還以超過珍珠港事件死亡人數向上飆升。

年初湖北某“著名作家”編造的謠言“滿地無人認領的手機”被你們如獲至寶,迅速翻譯成幾十種文字向全世界傳播,現在這些現象正在一一在美國呈現。

與患者臨終告別的IPad(來源:推特)

遺體無人認領(來源:央視新聞截圖)

埋葬屍體的萬人坑(來源:英國《每日郵報》)
對於美國目前的超級爛攤子我想起中國一句古話——
天道好還,中國有必伸之理; 人心效順,匹夫無不報之仇!
都不用我們出手,老天爺也會 狠狠懲罰你們!
9 非同尋常
覆盤2020年讓我感慨萬千。
過去我一直在想,中華民族偉大復興一定有一個標誌性事件讓全世界都認同美國衰落的趨勢無可阻擋,中國崛起的趨勢同樣無可阻擋。
但是過去我想破腦袋也不會想到這樣的標誌性事件居然是一場全球性公共衞生事件。
在同樣面對新冠疫情的衝擊,中國不但將自己的道路優勢、制度優勢表現得淋漓盡致,而且14億國民內生性的爆發力凝聚力更是讓全球瞠目結舌。

雖然新冠疫情還沒結束,但是全球重要經濟體對華態度已經悄悄發生變化。
2019年印度退出RCEP協定,當時日本表態,印度不來我就不籤,結果今年還是簽了;
新加坡總理在簽訂RCEP協定之後,對外表態,不參加沒有中國的聯盟;
12月10日 德國前副總理菲舍 爾撰文:中國贏得了2020年。

( 來 源: 參 考消息)
2020年即將過去,未來如果我們回望這個不平凡的一年或許才能意識到—— 我們在2020年見證了中華民族偉大復興之路上一段非同尋常的歷史。