2020,我們是“正道的光”_風聞
平原公子-平原公子官方账号-古人做事无巨细,寂寞豪华皆有意2020-12-18 14:10
國際貨幣基金組織IMF13日發佈《世界經濟展望報告》,預計2020年中國經濟將增長1.9%,是全球唯一實現正增長的主要經濟體。
IMF 預測發達經濟體今年將衰退5.8%,其中美國經濟將衰退4.3%,歐元區經濟衰退8.3%,英國經濟衰退9.8%。新興市場和發展中國家經濟將衰退3.3%。中國將是世界主要經濟體中唯一保持正增長的國家,預計今年增長為1.9%,明年將達到8.2%。
IMF指出,“中國的復甦速度快於預期”,稱在4月初大部分地區重新開放後,經濟活動正常化的速度快於預期,在強勁的政策支持和出口彈性的支撐下,第二季度GDP出人意料地出現了正增長。
中國不僅是抗疫最優的優等生,還是世界經濟復甦的領頭雁,壓艙石!
其實,這是理所當然的事情,不是這個結果,才奇怪。
你現在跑到全世界轉一圈,就會發現,只有中國的工廠,還機器轟鳴;只有中國的商場,還人來人往;只有中國的普通老百姓,還在正常上班、買菜、遛娃、跳廣場舞;只有中國的網民,還在討論社會壓力、留學生困境、高考模式、互聯網公司壟斷、男女矛盾、抑鬱症、丁真問題、賽博朋克2077.…..唯獨沒有人談疫情。


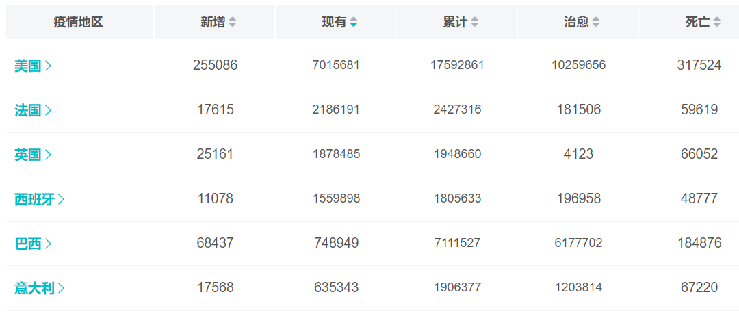
美國末日生存科幻電影裏,人類最後的淨土往往是格陵蘭島,但在2020年,地球上最大的淨土,就是中國。現在全世界累計確診7000多萬人,死亡160萬人,主要資本主義發達國家全部淪陷,唯一的超級大國美國,累計確診1759萬,死亡31萬,這些數據還在“加速”,根本看不到停下來的希望。


前段時間,紐約時報發文《中國變得更好,我們病得更重》,其中有句話很有趣,叫做:“新冠本應是中國的切爾諾貝利,結果卻更像是西方的滑鐵盧”。
這句話,寫盡了西方如今羨慕嫉妒恨的心態。
經濟活動的主體是人,工農業生產、商品貿易的主體也是人,把人保住了,一切都保得住;如果連人都保不住,就別談什麼經濟了,這就叫“存地失人,人地皆失;存人失地,人地皆存”,晚決定不如早決定,下定決心在疫情初期就扼殺了疫情,那麼一切都可以重來;如果等到歐美今天這個狀態,再搞什麼“封城”、“停擺”、“社交隔離”,就是“孩子死了奶來了”,想封也封不了,想停也停不下來,人保不住,經濟也保不住。
生產力,只會在一個安全穩定的世界裏取得進步;市場經濟,只會在一個人人安居樂業的世界裏繁榮發展……社會穩定、市場龐大、人民健康、勞動力優秀、積極進取,2020年的地球上,這樣的世界只有中國了。
我想起年初疫情剛剛爆發的時候,美國政客幸災樂禍説:“ 新冠疫情將會加速製造業迴流美國 ”;結果他的美夢沒有成真,全球的製造業,反而更加依賴中國了,中國是是一個龐大的工業世界,擁有全部的產業體系和供應鏈,工業總產值超過美國日本德國之和,中國甚至是全世界唯一一個可以完全“內循環”的國家, 在疫情期間,中國堅持了“雙循環”,繼續向全世界提供着強大的生產力和豐富的產品。中國作為作為全球工業的唯一引擎,有大功於世界。
11月份,中國出口2680.7億美元,同比增長21.1%。對此,《華爾街日報》報道稱,這一增長幅度超出此前的市場預期,推動這一增長的原因是對美國的出口激增。“ 18個月前,在中美貿易戰最激烈的時候,幾乎沒有人會預料到中國的出口會在2020年打破紀錄。但事實確實如此,中國創紀錄的出口增速和美國疫情形成鮮明對照 。”

商務部外貿司司長李興乾表示,中國已向200多個國家和地區出口防疫物資,推動構建人類衞生健康共同體,推動國際產業鏈供應鏈穩定運轉,為世界經濟貿易合作注入活力。
11月份,中國外貿進出口總值3.09萬億元,同比增長7.8%。今年前11個月,中國貨物貿易進出口總值29.04萬億元人民幣,比去年同期增長1.8%。
説得難聽點,如果沒有中國,在這次疫情下,歐美各國會過得更慘。
經濟合作與發展組織(OCED)預測,全球GDP可能在明年年底恢復到疫情前的水平,但這在很大程度上依賴於中國的經濟活動,預計2021年中國對全球經濟增長的貢獻率將超過三分之一。這是社會主義的勝利,也是社會主義中國對這個世界的偉大貢獻。

我昨天説,如果經歷了2020年,還有人不想做中國人,還有人不喜歡中國,還有人把資本主義的普世價值當作了神諭,那説他的意志真的堅定,他的立場真的大過了生命,這樣的人是值得尊敬的,我們應當保護他,支持他,讓他繼續在這條路上走下去。畢竟,我們的道路,是需要參照物的。
《經濟學人》的政治主編沃爾德里奇説:如今西方正走向"始於500年前的歷史的完全逆轉,中國在世界經濟中同樣遙遙領先——佔世界經濟的四分之一。我們忘記了這些事情,而中國沒有”。
很多中國人都會吐槽自己活得很難,壓力很大,但這些人轉頭就會更努力地工作,讓別人的壓力更大;很多中國人都在哭窮,但他們哭完轉頭就會更拼命地賺錢、花錢,他們內心從來不會“安貧樂道”。
益普索出了一份調查報告,2020中國的“幸福度”,排名世界第一。

可能有人不服,他們會説:“不要代表我,我一點都不幸福”,很正常,能理解,幸福是一種非常主觀的感受。
我們很多人都會自嘲“內卷”,但內卷、競爭激烈其實是一個生機勃勃、充滿希望、前途廣闊、努力就能改變命運的社會的標誌。如果不“卷”了,人人都有一美元炸雞了,説明那是一個階層固化、人人安於本分的社會,你再努力也沒用的社會。
在一個大部分人生下來就只能混吃等死的世界,在一個窮人生得自由死得隨機的世界,你連“卷”的資格都沒有。
中國不是完美的國家,我們的制度也不是完美的制度,我們存在種種問題,但我們有個好處,我們不比爛,我們有問題就承認問題,有問題就解決問題,不會掩耳盜鈴,不會刻舟求劍,我們在精準扶貧,我們在反壟斷,我們在探索宇宙,我們不斷地追求進步、發展和公平。
很多人會嘲笑我活在《新聞聯播》裏,沒關係,其實我最享受的時光,就是和一家人吃飽穿暖,坐在電視機前看《新聞聯播》的時候。