半月2次成被執行人,格力電器回應
(觀察者網訊)1月19日消息,企查查數據顯示,1月16日,格力電器的運營主體珠海格力電器股份有限公司被潛江市人民法院列為被執行人,執行標的近30萬。

圖片來源:企查查
值得注意的是,此前1月7日,格力電器(重慶)有限公司新增2條被執行人信息,被重慶市渝北區人民法院列為被執行人,累計執行標的超215萬。
對此,今天,格力電器對觀察者網回應稱,關於潛江案件,在規定期限內已按判決書足額付款至法院,按照法院流程,需要原告提起執行程序,才能將款項從法院提取出來。目前原告已提起執行程序,但法院尚未將款項支付到原告賬户。
關於重慶案件,前期因快遞單信息書寫錯誤,判決書未能及時送達至格力電器(重慶)有限公司。瞭解情況後,目前雙方已達成執行和解。
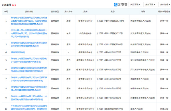
企查查顯示,珠海格力電器股份有限公司涉及的司法案件高達500餘件,案由包括侵害商標權糾紛、產品責任糾紛、侵害發明專利權糾紛,著作權糾紛等等,但多數為原告。

圖片來源:企查查
事實上,格力電器剛剛完成股權交易不久。
2019年12月2日晚間,格力電器公告,控股股東格力集團與最終受讓方珠海明駿已簽署股份轉讓協議。
公告顯示,在公司控股股東格力集團與珠海明駿簽署的《股份轉讓協議》中,約定珠海明駿以46.17元/股的價格受讓格力集團持有的格力電器9.02億股股份(佔格力電器總股本的15%),合計轉讓價款為416.62億元。
值得一提的是,該公告顯示,本次權益變動前,格力電器的控股股東為格力集團,實際控制人為珠海市人民政府國有資產監督管理委員會。本次權益變動後,格力電器將變更為無控股股東和實際控制人。
公告顯示,珠海明駿成立於2017年5月,主要從事股權投資,珠海高瓴股權投資管理有限公司為該公司的基金管理人。
本文系觀察者網獨家稿件,未經授權,不得轉載。