蘋果新專利曝光 聚焦進一步簡化Apple TV的智能交互體驗
蘋果公司正在研究多種方法,以簡化用户如何選擇他們想要觀看的內容的操作。當前該公司已將所有內容都彙集到Apple TV應用上,但相關流程還是過於繁瑣。好消息是,未來蘋果服務能夠記住用户想要在哪個設備上啓動哪款 App、選擇要觀看的節目、並將相關內容和配置信息流式傳輸到其它設備上。

其實在Apple TV上,用户已能夠要求Siri展示“由 Reese Witherspoon 主演的影片”,然後Apple TV就會向用户展示帶有特定影片的橫幅UI 。點擊其中任意一個,都可展開顯示更詳細的信息。
通常情況下,這包括從iTunes購買電影或節目的能力。如果已經訂閲了其它服務,還可在Disney+等第三方平台中進行檢索。不過近日曝光的三項新專利,揭示了蘋果想要更進一步。
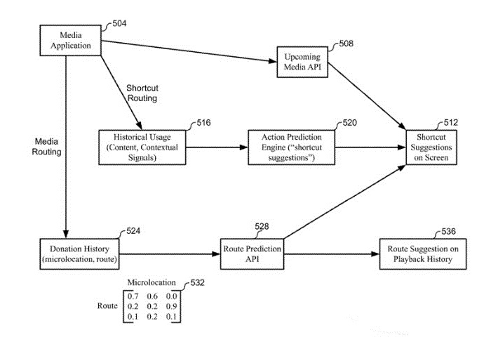
在美國專利No.20200221180中,該公司提到了“媒體路徑預測”(Predictive Media Routing)的新設想。
比如用户可以打開App、選擇內容內容、點擊播放按鈕以在本地設備上進行播放。或者點擊另一個按鈕,選擇可用的設備列表,以將內容串流傳輸到其它地方。

在美國專利20200221366中,該公司還提到了“基於微定位的路徑預測”(Predictive Routing Based on Microlocation)。
在這個類似的設想中,蘋果希望設計一款支持音視頻媒體播放、遠程控制電視/ 揚聲器、以及管理其它用户連接的應用程序。
該公司稱:當在移動設備上存儲大量內容時,將使得預期中的應用程序或功能調用變得相當費時費力。如果可以藉助機器學習技術來預測用户行為,便可召喚Siri來輕鬆實現相關操作。

在第三項20200221155美國專利中,蘋果繼續着眼於整個流程的體驗。即用户必須按下多少次按鈕,才能開始觀看他們想要欣賞的內容。
作為一項激進的交互策略,新專利試圖完全跳過按鍵操作,而是僅通過語音來實現。只是對於Siri來説,還需要更加智能地預測用户到底想在哪個設備的屏幕上觀看。