揚電科技與供應商關係密切,疑似存在關聯關係
【環球網 記者 陳超】深圳證券交易所創業板上市委員會2020年第53次審議會議於昨日召開,審核結果顯示,江蘇揚電科技股份有限公司(以下簡稱“揚電科技”)首發符合發行條件、上市條件和信息披露要求。這是今年過會的第343家企業(未含科創板)。
揚電科技主要從事節能電力變壓器、鐵心、非晶及納米晶磁性電子元器件三大系列產品的研發、生產與銷售,主要產品包括節能型SBH15非晶合金變壓器、節能型S13/S14硅鋼變壓器、非晶鐵心、硅鋼鐵心、非晶輥剪帶材、非晶磁芯、納米晶磁芯和相關器件。
自然人股東程俊明與邰立羣系夫妻關係,截至招股説明書籤署日,兩人合計控制公司48.09%的股份。其中,程俊明直接持有公司股份2730.00萬股,佔發行前總股本的43.33%,為公司控股股東;邰立羣通過泰州揚源控制公司股份300.00萬股,佔發行前總股本的4.76%。程俊明、邰立羣兩人共同控制公司,均為公司實際控制人。
揚電科技本次擬在深圳證券交易所創業板上市,公開發行股票數量不超過2100萬股,全部為新股發行,原股東不公開發售股份,本次公開發行股票數量佔發行後公司總股本的比例不低於25%。
產能水平成謎
信息顯示,揚電科技擬募集資金3.98億元,其中,2.21億元用於硅鋼S13型、S14型節能變壓器、非晶變壓器技改與擴能建設項目;7673.40萬元用於高端非晶、納米晶產業研發中心建設項目;1.00億元用於補充營運資金。
招股説明書披露,報告期內,揚電科技主要產品節能電力變壓器系列產能為24000台,鐵心繫列產能18000噸。但此次募投項目的《建設項目環境影響報告表》卻稱,揚電科技現有項目產能是年產25000t/a非晶鐵芯和25000台/a非晶變壓器項目。
同是公開數據,揚電科技對於公司目前的產品產能並沒有統一的答案。是招股書披露錯誤還是環境影響報告表出錯不得而知。




神秘入股的自然人
招股書進一步透露,朱敏是揚電科技大股東之一。朱敏與葉方龍曾合資成立泰州市揚瑞機電設備有限公司。該公司註冊地姜堰經濟開發區天目西路690號,就是揚電科技的所在地。揚瑞機電經營範圍是:機電設備銷售(國家有專項規定的除外);變壓器外殼製造、銷售。上述經營範圍與揚電科技也高度一致。公開資料顯示,該公司2017年7月註銷。公司成立的目的、註銷的原因是什麼,為什麼與揚電科技同址辦公,揚電科技招股書隻字未提。

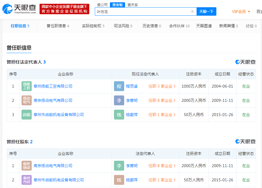
除此之外,上述信息還牽出神秘人葉方龍。工商資料顯示,葉方龍還曾擔任揚電科技關聯企業泰州揚能工貿有限公司、南京揚動電氣有限公司的法定代表人。葉方龍不僅曾是揚電科技關聯企業法定代表人,報告期內,還長期擔任揚電科技大供應商泰州市啓能機電設備有限公司的法定代表人。
天眼查顯示,2018年11月,泰州市啓能機電設備有限公司因未採取措施,產生的揮發性有機物廢氣直接無組織排放,被泰州市環境保護局罰款2萬元。而工商資料顯示,該公司經營地是泰州市姜堰區羅塘街道人民北路99號,正是租賃揚能工貿場地。
揚電科技招股書稱,揚能工貿、揚能新材、新智建廚與揚電科技、揚電科技的其他主要客户、主要供應商之間不存在資金往來;而同一時期,葉方龍同是揚能工貿與啓能機電的法定代表人,兩公司還存在廠房租賃,揚電科技的信息披露並不準確。

