澳際移民被指“違規操作、退費難”,澳際教育更“難逃其咎”_風聞
蓝鲸教育-蓝鲸教育官方账号-以财经视角看教育 | 上海报业集团旗下教育新媒体2021-03-16 10:17

澳際教育若繼續無視消費者投訴,前路必將越走越窄。
撰 文 | 檀念一
日前,藍鯨教育接到用户爆料稱,老牌留學機構“澳際教育”旗下“澳際移民”在為客户辦理業務時存在“違規操作、退費慢退費難”的問題。
結合相關爆料及公開信息,藍鯨教育發現,有30年經營歷史的“澳際教育”,在經營過程中存在種種問題。
“違規操作”與“退費難”
爆料人張女士表示,她曾於2014年計劃以技術移民的方式向加拿大遞交申請,選擇了一家名為“澳際移民”的公司幫其辦理相關手續。“本來我們自己也能做,但是我與愛人工作較忙,就委託澳際作技術移民的中介”,由澳際幫助整理、遞交相關資料,其只按需提供各類材料即可。
2015年,張女士已經拿到了加拿大方面申請通過的檔案號,但在相關材料被寄回香港、回到中國簽證中心辦理最終簽證時,她收到一封郵件,大意為“按照加拿大移民法的相關規定,辦理技術移民需有加拿大方面的律師簽字,但澳際並未委託相應律師完成程序,故懷疑張女士使用非法移民中介,移民申請被否。”
張女士對藍鯨教育表示了她的質疑:“因為我們是一起通過澳際郵寄的相關材料,那一批申請者中有人選擇自己郵寄,已經拿到了offer;但委託澳際郵寄的人都收到了被拒的郵件。可能是澳際沒有聘請律師簽字又把我們的材料集體郵寄,所以被加拿大方面認作是從事牟利工作的非法中介。”
在收到該郵件後,澳際給張女士提供了兩種方案:一是由澳際出面協調一位律師簽字;或者是由張女士一家申訴,指出“所有的材料和信息都是留的個人信息,郵箱也留的是個人郵箱。澳際並非中介,我們只是委託它做一些翻譯工作,但對方贈送了一項郵寄服務。”
據張女士瞭解,後續選擇澳際提供律師的申請方,均再次被加拿大方面拒絕。而像張女士這種“否認澳際在做中介工作,強調是自己在申請”的申請方,在又等待一年多後再次收到了拒信。張女士表示,“加拿大方面認為解釋不夠充分、予以拒絕,且此事發生後我們一家還上了加拿大的黑名單。導致未來至少五年我們都沒法再辦理加拿大的簽證,甚至旅行簽證都受限”。
在被加拿大方面再次拒絕後,張女士要求澳際移民退款。到了2018年,澳際給張女士退了部分款項,但退費的前提卻是簽訂一個協議。張女士指出,“協議大意為二次被拒後此次申請的case已經結束,客户方不再對澳際追責”。協議簽完後,澳際方面才退回50%的中介費。
在張女士看來,申請被拒的根本原因就是“澳際沒有請律師,它們只是簡單地幫我們整理了材料且郵寄走。”因為後續張女士瞭解到,按照加拿大的移民法,只要是請中介幫助申請人整理材料,中介方必須請一位加方律師簽字來完成對應程序。“但當時我和愛人疏於瞭解,澳際沒有告訴我們沒請律師,只説這事兒他們能辦。”至於澳際為何沒有聘請律師,在張女士看來“請律師要支付較高費用,澳際應該是如此操作恰巧成功過,這一次還想照舊行事但是沒成功”。
“頂風而上、把路走窄”
張女士提供的相關材料顯示,為其提供服務的“澳際移民”,隸屬於“澳際之星國際教育諮詢(北京)有限公司”;聯繫地址為北京市東城區燈市口大街33號國中商業大廈。另據天眼查顯示,該公司股權穿透後如下:

疑似實控人宗愛茹與澳際之星的聯繫地址,均指向了老牌移民留學機構——“澳際教育”。
據公開信息顯示,北京澳際教育諮詢有限公司是首批獲得國家教育部資格認證的國內最大的、最專業的出國留學中介服務機構。2009年6月“澳際”還被北京市工商行政管理局認定為“北京市著名商標”,是留學行業內知名機構之一。

據天眼查顯示,宗愛茹為北京澳際教育諮詢有限公司經理;另有宗立平為公司法人、任執行董事一職;宗立君為公司監事——三位高管擁有同一姓氏,澳際教育大概率為家族企業。

查詢澳際教育官網發現,移民只是業務的一部分。該集團旗下還有澳際留學、留學英語、國際學校、澳際遊學、高端申請、澳際置業等服務板塊。

在黑貓投訴平台上,澳際教育旗下的“澳際留學”,投訴量有8條,但時至今日,竟無1條完成、甚至無1條回覆。最早一條,可追溯至2020年4月1日,也就是説近一年的時間內澳際留學沒有處理任何投訴。

仔細查看相關內容,基本均與“澳際退費非常困難”密切相關;包括“拒絕退款、逾期不退款、退款流程長”等問題。涉訴金額在1000-50000元不等。

在澳際教育官網上,赫然可見“澳際30年”的宣傳語,醒目的“諮詢熱線”,甚至還有專門的“學費支付”欄目,但就是沒有相關的投訴通道。

這家自成立至今已有30年曆史的老牌留學機構,其掌控的商業帝國到底成何規模?
天眼查顯示,北京澳際教育諮詢有限公司對10家公司100%控股,但其中福建澳際、濟南澳際、瀋陽澳際、大連澳際、傲美達教育、北京澳際深圳分公司、新文凱教育投資7家公司皆已註銷。值得關注的是,澳際教育還涉足茶葉,持有北京吳裕泰茶業股份有限公司5%的股權。

北京澳際教育諮詢有限公司旗下,主要有兩大產品,一為出國留學中介機構“澳際教育”,一為留學信息服務APP“小希留學”。另有5個微信公眾號,分別為澳際教育、澳際青島、澳際北京、USPlus談教育和澳際留學;以及官方微博30個,名稱中多含有“澳際”二字。

澳際教育2019年度報告沒有公示從業人數,其社保信息中繳納城鎮職工基本養老保險的人數為359人,企業已頗具規模。
但澳際教育的自身風險高達266條,周邊風險也有86條。“司法解析”一欄中,排名第一的案由是“勞動爭議”。天眼查上所披露的開庭公告共計58例,其中身為被告的高達43例、身為原告的僅有6例。

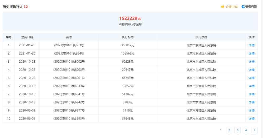
另外,其作為歷史被執行人共計32次,涉案金額達1522229元。

作為一家經營30年的老牌留學機構,澳際教育在自身存在如此多的問題後仍屹立不倒,或許的確有其可圈可點之處。但無論如何,“退費慢、退費難”的問題遲遲不給消費者解決,以簽訂免責協議為前提退款,其經營信譽無疑大打折扣。
近兩年來,教培機構“退費慢退費難”、甚至攜款跑路,已成廣大消費者高度關注、甚至監管層重點監控的主要問題之一。作為留學機構,澳際教育若繼續無視消費者投訴,仍選擇“頂風而上”,其前路必將越走越窄。