翼支付成燙手山芋 被電信“倒手”後的幾大猜想_風聞
镭射财经-立足数字化思维,深挖新商业故事。2021-04-09 22:44
中國電信這一剝離看似是“左手倒右手”,卻也是非常必要的。將屢屢被罰的金融業務從上市公司體系中剝離後,交給了集團,擺脱“燙手山芋”主要還是為了回A上市。

來源 | 一視財經 王多多
為了回A上市,港股上市公司中國電信近日剝離了天翼電子商務有限公司(以下簡稱“翼支付”)。天翼電子商務是中國電信金融業務甜橙金融的運營主體,其主要通過翼支付開展業務。中國電信的運營主體為中國電信股份有限公司,後者是中國電信集團的全資子公司。
中國電信這一剝離看似是“左手倒右手”,卻也有足夠的理由。將屢屢被罰的金融業務從上市公司體系中剝離後,交給了集團,擺脱“燙手山芋”主要還是為了回A上市。
1
翼支付“易主”
3月26日,中國電信發佈公告,表示以約38.97億元的轉讓對價將其持有的天翼電子商務有限公司(“翼支付”)股權出售給中國電信。中國電信集團公司為中國電信的控股股東,此次交易構成關連交易,且需取得中國人民銀行批准。出售完成後,翼支付將不再是中國電信的附屬公司。
具體而言,中國電信及中國電信國際分別同意以人民幣1.31億元及人民幣0.44億元的轉讓對價向中國電信集團及廣華物業出售中國電信持有天翼融資租賃75%的股權和中國電信國際持有天翼融資租賃25%的股權。
數據顯示,2019年、2020年,翼支付除税前淨利潤分別約為0.84億元及1.31億元;除税後淨利潤分別約為0.69億元、1.14億元。截至2021年2月28日止,翼支付未經審計淨資產價值約14.69億元。
2019年、2020年,天翼融資租賃除税前淨利潤分別約為278.80萬元及352.24萬元;除税後淨利潤分別約為209.09萬元及264.18萬元。截至2021年2月28日止,天翼融資租賃未經審計淨資產價值約1.75億元。
2
混改之旅
天翼電子商務有限公司曾於2019年1月實施首輪引戰,釋放21.26%的股權,引入4家戰略投資人,深圳前海淮潤方舟、北京潤信瑞恆(中信建投資本)、東興證券及中廣核資本。
公佈的增資公告顯示,天翼電子商務有限公司本次擬新增註冊資本不超過3.45億元,本次增資擬新增不超過10家投資人,並同步實施核心員工股權激勵。增資完成後,原股東出資比例不低於64.7741%,其中中國電信股份有限公司出資比例不低於51%;本次增資投資人和核心員工股權激勵出資比例合計不超過35.2259%,其中核心員工股權激勵出資比例不超過3%。
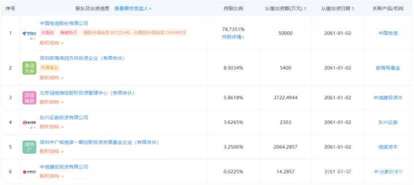
第二次混改在2020年2月,翼支付工商信息新增了五個股東,註冊資本由從5億元變更為6.35億元。目前,翼支付原股東共有6家,分別是中國電信(78.74%)、深圳前海淮潤方舟投資企業(8.5%)、北京潤信瑞恆股權投資管理中心(5.86%)、東興證券投資有限公司(3.63%)、深圳中廣核信諾一期創新投資發展基金企業(3.25%)、中信建投投資有限公司(0.02%)。

截至2021年3月26日,中國電信公司持有天翼電子商務人民幣50000萬元出資額。此外,2020年6月28日,天翼電子商務於上海聯合產權交易所正式掛牌交易,增資引入戰略投資者,2020年12月1日,天翼電子商務與各投資方簽訂增資協議,2020年12月31日,投資方增資款項實繳完成。
值得注意的是,增資完成後,中國電信公司持有天翼電子商務股權比例將從78.74%降至64.53%。若按此比例作價38.97億元,那翼支付總值已超過60億元。
這也就意味着中國電信旗下翼支付在歷經兩年時間後,翼支付二次增資已經完成,下一步極可能是衝刺IPO了。
翼支付想要IPO,從業務上看已水到渠成。數據顯示,截止到2020年9月,翼支付服務超過了5000萬月活用户,年交易額將近2萬億,消費金融分期(橙分期)業務累計已經發展用户2100萬户,引入社會合作資金超過200億。累計接入了華潤、永輝、沃爾瑪、萬寧等千萬家線下商户,以及蘇寧易購、天貓、餓了麼、網易優選、美團等170餘家線上電商。
3
為何成中國電信回A的燙手山芋
因合規問題頻遭投訴,屢次被央行公開處罰,這或許是翼支付成為中國電信燙手山芋的最主要原因,勢必也會成為其後續IPO的最大攔路虎。
2019年10月21日,人民銀行營業管理部公示一則處罰信息,翼支付因違反清算管理規定、非金融機構支付服務管理辦法有關規定,根據《非金融機構支付服務管理辦法》(中國人民銀行令〔2010〕第2號發佈)第四十三條第七項的規定,被處以人民幣罰款6萬元。

但這已不是翼支付第一次被罰。
2018年8月,翼支付曾因違反《支付機構預付卡業務管理辦法》相關規定,被罰款人民幣1萬元。翼支付被央行首次公開處罰。

雖然數據顯示,2016年到2017年關於翼支付的資金損失類風險事件從72件下降到了22件,金額佔比從千分之8.07下降至千分之0.47。但是,翼支付僅交易類客户投訴事件就高達3044件,客户投訴頻發。
2019年1月,翼支付官網公告2018年非銀行支付機構關於客户投訴及處理情況,2018年交易類客户投訴事件達4623件,相比較2017年的3044件增加1579件。同時,2018年的服務類客户投訴事件為443件,較2017年的377件多出66件。處理時效方面,2017年1個工作日內處理完畢佔比為89.3%,2018年該數據為56.96%。
其中,翼支付旗下“甜橙金融”也因“搭售保險”、“疑似虛假宣傳”和“暴力催收”被大量用户投訴。在21CN聚投訴上,“翼支付”投訴達1702條,“甜橙金融”投訴量1266條。在黑貓投訴上,“翼支付”投訴量為625條。
因此,中國電信剝離翼支付,並非是簡單的“倒手”,而是非常有必要的。將屢屢被罰的金融業務從上市公司體系中剝離,擺脱“燙手山芋”,這是其回A上市最重要的一步。