優圖佳視將國旗標註版權所有 “版權門”捲土重來?_風聞
中访网-中访网官方账号-中访网,解读新商业的主流媒体2021-05-28 10:20

時間回到2019年,視覺中國“版權門”事件因一張“黑洞”圖片的版權標註問題引發軒然大波,有網友還發現連中國國旗、國徽等圖片素材在視覺中國上也被標註版權所有。
最終,在廣大網民和媒體的監督批評下,視覺中國配合監管部門在“VCG視覺中國”發佈致歉信,並下線不合規圖片,自願關閉網站開展整改。
而就在2019年3月,全國政協委員、中國科學院院士武向平在接受採訪時就對對黑洞照片版權問題作出瞭解答,“只要標註來源,全世界誰都可以使用”。2019年4月12日,國家版權局發佈公告稱,國家版權局將把圖片版權保護納入即將開展的“劍網2019”專項行動,進一步規範圖片市場版權秩序。
一場風波過去,並不代表維權灰色產業的消失,一家名為**“北京優圖佳視影像網絡科技有限公司”**的企業正在上演類似的戲碼。
據其官網介紹“優圖影像成立於2007年,擁有攝影、策劃、實行、後期製作團隊,在中國圖片行業具有強大的影響力。優圖影像所拍攝製作的圖片精緻、實用、品質高、覆蓋面廣、具有商業價值,深受國內外客户擁戴”。
乍一看,“擁戴”一詞挺有意思,根據百度百科,“擁戴”意為推舉擁護;擁護愛戴。擁護推戴某人做領袖,特指人。這樣一家連官網介紹用詞都不準確的公司到底是做什麼的呢?
根據企查查,優圖佳視是國內一家圖片生產商,致力於依託專業的攝影、策劃、實行和後期製作等團隊,拍攝出精緻實用的高品質圖片,具有卓越的商業價值,並搭建superimagemarket.com平台,用於整合全球商業攝影師的高品質商業圖片,從事攝影整合業務。
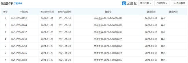
可以看到,該公司擁有作品著作權7萬多項,不知道這些圖片是否全部都得到了正式授權。

值得注意的是,優圖佳視還將中國國旗納入了版權,且早在2013年就進行了著作登記。但這違反了《網絡安全法》等有關規定。

《網絡安全法》第47條、第68條規定,“針對法律、行政法規禁止發佈或傳輸的信息未停止傳輸、採取消除等處置措施”的屬於違法行為,而國旗、國徽及烈士照片等是法律明確禁止的傳輸行為。
同時,有律師解讀,《著作權法》所保護的是“作品”,是指文學、藝術和科學領域內具有獨創性並能以某種有形形式複製的智力成果,而國旗和國徽的平面圖片難以稱為具有獨創性的作品。
不僅如此,優圖佳視這家專門的**“圖片維權公司”,通過廣發律師函的方式從當事人身上索要高額錢款。“1張圖片,要求我們賠償侵權金額7000元+3000元律師費,共計10000元”**,有當事人在網上公開的民事起訴狀顯示。
通過企查查可以看到,該公司自身風險高達2萬條,涉訴案件數量非常驚人,案由多為著作權權屬、侵權糾紛。

其被告名單中有央視網、海外網、廣東電網、途牛國際旅行社、中青旅,甚至還有上海市長寧區人民政府。
此前有媒體曝光稱,這是一家典型的利用起訴來牟利、將維權變為銷售的公司,優圖佳視官網上所有的圖片均沒有任何水印或logo,圖片可以任意下載,這不就是“釣魚維權”嗎?
而早在2016年就有很多“被釣魚”的網友組成了“優圖佳視受害者聯盟”,還建立了網站,分享自己應訴、維權的經歷,但不知為何優圖佳視現今還如此“猖狂”,難道是視覺中國“版權門”的前車之鑑還不夠嗎?
最高法曾明確提出:虛構版權牟利不予保護、嚴格審查首次發表時間、不能僅以水印認定權利歸屬、判賠金額應當參照市場價值。
當初,人民日報通過官方微博發表評論稱,“視覺中國”下線國旗、國徽等不合規圖片並致歉。怎樣的圖片能收費?探討來得猝不及防卻頗有意義。當版權保護成共識,沒有人否認攝影作品有著作權。問題在於,著作權是否真成立?平台有沒有淨化版權池?商業模式是否經得起推敲?避免版權保護陷入“黑洞”,與提倡版權付費一樣重要。
現在,這段評論也送給優圖佳視。法律是神聖而嚴肅的,法律維權不應作為牟利的手段,“人人喊打”的圖片網站只會被“黑洞”吞噬。