薇婭被指售賣潮牌山寨產品後道歉:不會迴避此次事件中應該承擔的責任_風聞
郭肖-观察者网编辑-2021-05-29 11:59

【文/觀察者網 郭肖】知名主播薇婭再次陷入輿論風波。此前,薇婭直播間售賣的一款“潮牌Supreme的聯名風扇”被指“山寨貨”引發批評,昨天(28日),薇婭道歉。

眾所周知,Supreme是美國知名潮牌,由英國人Jame Jebbia於1994年在紐約創立,全名是Supreme New York,近年來多次和國際大牌合作受到歡迎,隨着該品牌在全世界知名度大漲,多個山寨品牌借勢在多個國家或地區成功布局了線下店鋪。最知名的山寨品牌就是來自意大利的Supreme Italia,該品牌借Supreme的名聲大肆營銷,誤導了很多合作者,最出名的一次“烏龍”就是和三星手機的合作。
2018年底,三星手機剛剛官宣與該品牌達成戰略合作伙伴關係,隨即被指出Supreme Italia是山寨品牌,遭到羣嘲,三星火速刪除了相關報道並終止了合作。

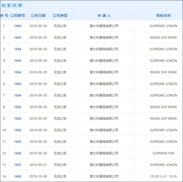
Supreme Italia在中國也註冊了“Supreme London”、“Supreme fra”、“Supreme Ldn”等多個商標,註冊人是“意大利最高有限公司”,2019年9月開始,中國國家知識產權局商標局以“因異議無效”為由,將這些商標陸續判定為無效。

同年11月,Supreme官方陸續在中國獲批一系列商標,如“SUP”和“SUPREME”,這些商標的申請人“章節四公司(Chapter 4)”是Supreme的品牌知識產權所有人。

那麼,本次薇婭售假事件的涉事品牌,這個Supreme又是來自哪裏呢?
觀察者網查詢發現,該品牌的全稱是“supremeusa”,官網介紹稱,品牌由Wen-Jang Shieh(創始人&董事局主席)在美國佛羅里達成立,全稱是Supreme品牌管理集團,屬於Supreme大中華區運營中心。
集團於2020年6月在中國注資籌備,着手Supreme文化潮牌在中國的商業拓展業務,同年年底中美合資公司北京潮品國際品牌管理有限公司(BeijingSupremeBrand Management Co., Ltd)正式成立。

圖自品牌官網
很明顯,兩個Supreme並不是一家公司,但“supremeusa”並未與Supreme New York做明顯區分,作為一般消費者,很難辨別。
比如,下圖中,左邊是紐約的Supreme New York,右邊是Supremeusa。

今年3月,該品牌還曾經發布通稿,稱“Supreme憑藉多年品牌影響力推出了一款聯名掛脖風扇”。
一個由Wen-Jang Shieh在美國佛羅里達創立的潮牌Supreme一直以來熱衷於與各品牌聯名,且推出過不少引人矚目的聯名產品,近日Supreme憑藉多年的品牌影響力和良好的經營信譽與XXXX打造了一款時尚掛脖風扇產品。
5月14日,這款風扇出現在了“頭部”主播薇婭的直播間。薇婭特意強調,這款商品是爆款,宣傳稱是美國聯名,非香港代理。產品售價198元引發哄搶,當晚共賣出2.19萬件,銷售額超過400萬。
隨即,有時尚博主指出售假。當晚,有博主公開質疑,薇婭所售產品為假貨,該博主指出,“薇婭直播間這個Supreme x GUZI聯名,難道不是假貨嗎? 選品的人不懂山寨也就算了,自己都不懂 supreme這樣的品牌,真的聯名的話,代購也好,早就鋪天蓋地了,甚至也不會是這個198價格售賣。”
次日,薇婭刪除了原本直播間該產品的“直播回看”。
目前,這款產品已全部下架,此前,薇婭曾在直播間表示,該產品是天貓國際推薦的,而且確實是一個美國品牌,但“不是我理解的那個supreme”,因此對所有買家全額退款。
昨天,薇婭及其所屬公司謙尋文化相繼發表道歉聲明。謙尋文化稱:
首先,本次合作合規,“達成此次合作前,雙方簽署了完備的法律協議,並要求授權方提供了相關資質和授權文件”;
其次,是“對潮流品牌的認知和積累不足”導致了本次事件出現,“深感慚愧”;
最後,聲明稱,儘管流程合規,但出現了版權爭議問題,因此向消費者道歉,已聘請知識產權律師參與未來產品評估。
隨後,薇婭轉發了這條道歉,表示“這是我和團隊永遠銘記的教訓,我們也絕不會迴避事件中應該承擔的責任。”
