騰訊和字節跳動再戰新消費,誰的刺刀磨得更鋒利_風聞
壹番-2021-07-09 11:09

用户流量爭奪之外,「頭騰」悄然開戰新消費。
**本文來自微信公眾號:壹番財經(ID:finance_yifan),**文|畢胥萍。
一輪接一輪的頭騰之戰愈演愈烈,三年來騰訊與字節在移動內容主戰場上明槍暗箭不斷。
還有一場容易被外界忽略的局部戰爭,正在暗地裏加碼升級。與主戰場的硝煙瀰漫不同,這次,雙方火力集結於當前最火的投資熱土——新消費,以真金白銀買出來一批“僱傭兵”跑馬圈地。
7月2日,字節跳動投資李子柒的簽約公司微念,讓這家小巨頭的新消費投資版圖浮出水面,這已是字節半年間投資的第6家和新消費相關的公司。
而騰訊也毫不示弱,今年以來,在新消費領域的投資數量至少達到9家。
巧合的是,6月中旬,字節跳動成為Manner咖啡的新投資人,Manner咖啡半年間3次融資累計超3億美元。從去年10月份開始,騰訊已連續兩次參與加拿大國民級咖啡品牌Tims的融資。線下咖啡賽道,可以是騰訊與字節短兵相接的一個集中點。
無論騰訊還是字節跳動,根據相關資料顯示,兩家巨頭半年來投資的新消費品牌數量,均已超過他們去年全年。
兩家相比,誰能在新消費投資中佔得頭籌?誰又能捧出下一個新消費的頂流?塵埃落定之前,結局不得而知。覆盤騰訊與字節兩家公司自去年以來的角力情況,或許可以一窺從2020年新消費元年開始的這股熱潮,現在究竟如何了。
01 騰訊:重注線下餐飲品牌,寵物相關也是心頭好,成熟企業為主選擇
據企名科技數據顯示,騰訊投資於2020年對外共投172起,2021年以來,已投資163起,新消費相關共計至少16起。
食品飲料是新消費裏最熱的賽道,也是騰訊加註最多的領域。也是在這領域,先不提喜茶,騰訊從去年到現在年中,有兩家企業選擇了兩次“下注”。

一個是線下咖啡賽道的加拿大國民級咖啡品牌Tims咖啡,繼去年5月,今年2月再次參投。另一個是和府撈麪,去年11月的D輪,騰訊就唱起主角戲之一,今年4月推出和府撈麪新品牌“小面小酒”被認為是品牌增長的“第二曲線”,也因此剛剛7月初的E輪,騰訊依然沒有缺席。
無論是和府撈麪還是Tims咖啡,騰訊在線下餐飲這塊明顯在賭未來的頂流,除此之外,多個垂類食品也沒有放棄。
主打長沙風味的熱滷品牌,盛香亭獲得了騰訊的A輪近1億元的戰略投資,品牌計劃未來三年將門店數量由目前300家左右提升至近2000家,可謂野心勃勃。根據Frost&Sullivan數據顯示,2020年休閒滷製品零售額約為1235億元,2015-2020年休閒滷製品複合增長率達24.1%,行業發展前景被看好。
休閒食品品牌衞龍完成了Pre-IPO輪融資,極有可能成為辣條第一股,融資額約35.42億元人民幣,騰訊作為跟投方參與其中。
回到備受關注的喜茶,其最近也曝出最新一輪融資,投資方均為老股東。2019年騰訊和紅杉曾領投喜茶C輪融資,作為騰訊主導的明星項目,本輪或將繼續參與。喜茶600億元的估值將再次打破中國新茶飲的商業價值紀錄,相比之下,“新茶飲第一股”奈雪的茶估值僅300多億。

喜茶正式公開的融資歷程
還有一個值得一提的是,沒有出現在表格裏的墨茉點心局,中式烘培類賽道的領先者,這家企業被譽為投資機構最難擠進去的三家連鎖品牌之一,原本媒體報道騰訊參與了墨茉點心局的A+輪融資,但是被企業予以否認。
市場規模數千億寵物行業,諸多細分領域,包括寵物食品、寵物健康、寵物用品和寵物服務等,均是資本追捧的大熱門,也是騰訊重點關注的領域。
衞仕品牌母公司上海寵幸完成4億元人民幣B+輪融資,由騰訊投資和凱輝基金聯合領投,或已刷新寵物消費品領域單筆最高融資。一週之內,騰訊還投資了一家綜合性寵物服務與商品零售品牌“寵物家”APP,成為第二大股東。去年,騰訊還領投數額達數億美元的寵物醫療項目新瑞鵬,投後估值近300億。騰訊動作頻繁,連續入場寵物服務賽道,可見其對行業發展前景的樂觀。
除此之外,智能健身領域,騰訊同時參投了兩家企業。成立僅兩年的健身科技公司Fiture,藉助3億美元的B輪融資,保持了國內的智能健身硬件賽道一家獨大的地位;而7年7次融資的Keep去年年底完成3.6 億美元F輪融資,投後估值20億美元。同樣是騰訊投資的兩家健身品牌,未來,在Keep拓寬業務邊界的過程中,與Fiture或許將有一場遭遇戰。
美妝領域,去年主打“國貨美妝”的互聯網彩妝第一股完美日記(逸仙電商)上市之際引入3億美元基石投資,騰訊認購了其中5000萬美元;騰訊參投了妍麗,讓它成為行業內CS渠道首個最受關注的資本交易案例之一。截至今年6月,妍麗已在全國40多個城市開設130餘家直營門店。目前,國內美妝品牌市場已經接近飽和,未來資本若要尋找優質標的,也將更加困難。

逸仙電商赴美上市
還有熱門美瞳賽道,頭部新鋭品牌MOODY於2月連續完成兩輪3.8億元B輪、B+輪融資,又於3月接受騰訊、小紅書等投資;服飾賽道今年開始復甦回暖,快時尚服飾品牌集團“細刻”完成5000萬美元B輪融資,也由騰訊領投。
無論如何,從這些品牌來看,騰訊的新消費投資也都是偏於穩健,對於企業的成立時間、運營模式和盈利能力等方面的成熟性要求較高。
02 字節跳動:關注年輕人的垂類品牌,初創企業大膽試
據企名科技數據顯示,字節跳動戰略投資部於2020年對外共投項目38起,2021年以來,已投資37起,新消費相關共計至少11起。
而翻開字節跳動這一年多來的佈局,有關年輕人的新式消費,會是字節跳動的重點。
無論是咖啡、奶茶為代表的茶飲,還是以李子柒、懶熊火鍋、鯊魚菲特等為主的速食、輕食類的網紅產品,都是字節跳動慷慨解囊的地方。

今年上半年,Manner在半年時間裏完成三次融資,累計融資額超過3億美元,字節跳動成為新投資人。Manner是上海本土的咖啡連鎖品牌,僅用兩年時間,其線下門店就超過170家。
除了線下咖啡,茶飲也是字節與騰訊針鋒相對的一大賽道。inWE因味茶曾以劉強東5億元投資而為人所知,字節跳動也於去年參投。
眼下最被看好的,恐怕要數“第一網紅”李子柒的微念。7月2日,字節跳動投資微念品牌管理,持股1.48%,看中其在新消費領域的不俗表現。
鯊魚菲特是全網雞胸肉品類銷量第一的輕食品牌,字節跳動領投完成了億級人民幣的B輪融資,2020年銷售額已超2億元。在飲品類,字節跳動則拿下了新鋭蘇打酒品牌空卡的新一輪融資,據悉,僅2020年以後,就有9個低度酒品牌獲得融資,屬於熱門賽道。字節跳動還跟投了懶熊火鍋A輪融資。懶熊火鍋2020年GMV達到2億+,1年內完成4輪超億元融資,擴展潛力無限。
年輕人的生活方式消費這塊,字節也沒有放過,特別是家居向的。
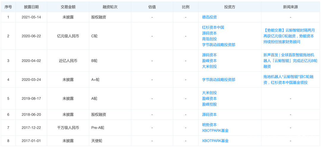
生活家居品類,最引人注目的品牌之一是主打掃地機器人的雲鯨智能。2020年3月,A+輪由字節跳動領投;2021年初,字節再次參投。2020年,線上掃地機器人銷售89.6億元,擴張迅速。雲鯨作為第一梯度,新一輪融資投後估值65億。據《晚點Latepost》,2021 年初,對雲鯨投資競爭激烈,同樣作為老股東的另一家頭部基金也有意參投,但最終沒能搶下份額。

雲鯨智能融資歷程
字節也投資了智慧家居品牌喵兜兜天使輪,該項目是前阿里巴巴城市生活事業部總裁、天貓超市項目發起人馬學軍,據稱要打造“升級版宜家”。
還有一個值得提到的是,今年3月,字節參投口腔護理品牌參半NYSCPS,佔股7.8%,當時品牌估值已達到8億元。而2020年10 月,參半的口腔護理產品才上線。據官方介紹“參半樂益生菌漱口水”上線80天,銷售額便超過1億元,穩居淘寶天貓和拼多多等平台口腔護理行業第一。
總結來看,字節跳動在新消費這塊無論是企業成立時間,還是企業重點服務的客羣,都是偏年輕化,並且字節跳動敢於在企業在初創的時候下手,或許,這也是最符合新消費的理解定位。
另外,伴隨着抖音電商成為字節跳動的核心業務,以上這些網紅化、年輕化的品牌,也必然會在抖音直播間裏有更好的銷售成績。
03 騰訊的穩健,字節的果敢,誰都不一定輸掉
“投資不可不談消費”
“中國所有的品牌都可以重新再做一遍”
“新消費品牌被預言為中國未來5~10年裏最確定的機會”
這可能是自2020年以來,關於新消費最為流行的三句話,新消費在風投圈一時風頭無二。據IT桔子統計,僅2020年新消費領域投融資額達到近450億元,獲得融資的項目達286起。
無論騰訊或者字節的投資,外界往往會將其與主營業務掛鈎,猜測被投企業在戰略層面能否與其他業務聯動發展。
事實上,兩家企業對新消費的關注或許更偏財務投資。兩家的局部戰爭是否會升級,仍然無法驗證。
據《晚點LatePost》報道,字節的新消費品牌投資均由其財務投資部門操盤,該團隊最初由戰略投資部門內部分化而出。字節的財務投資不限定方向,可以投和字節主業無關的項目。據知情人士稱,財務投資部以決策快速、追求回報率為導向,整體的盤子和話語權都比較小。

這也解釋了為什麼鯊魚菲特、空卡等會出現在他們的視野內,通過抓住熱門賽道的頭部品牌,實現變現或許才是唯一目的。
大膽試錯的字節跳動就如同它內部驅動產品創新一樣,勇於去挑戰市場,也勇於給新鋭力量機會。
騰訊方面,對新消費歸屬於投資部門下屬的大消費板塊。操刀大消費投資的騰訊投資董事總經理夏堯曾在《深網》等多個媒體的採訪中介紹騰訊的消費投資邏輯。據他介紹,騰訊投資看好的大消費主要三大投資方向,一是各個行業消費升級中藴含的投資機會(Tims中國、目荻MOODY當屬此類);二是中國人口多樣、多層結構下的消費行業結構性投資機會(寵物家等當屬此類);三是傳統消費品或服務業數字化轉型升級過程中衍生的投資機會(和府撈麪當屬此類)。
線上趨近飽和,騰訊大消費投資開始從線上到線下調整,跳出互聯網投資思路,將視野放在了更廣闊的線下大消費行業。
在這一邏輯下,便出現了Tims中國、喜茶等項目。而小程序、微信等數字化工具成為騰訊向被投企業輸出的新能力,以提升傳統餐飲門店的運營效率。
財務投資必然會排斥業務串聯嗎?自然不是。
對於字節,抖音等平台可以賦予企業更多流量與技術支持,李子柒等網紅達人也可以藉此擴大影響力。而騰訊廣告上月則宣佈了“域見超新星”計劃,將砸流量扶持100個新品牌。互聯網巨頭們都看到了新消費品牌在未來可能展現的力量。
相較於文娛、遊戲等投資項目,新消費領域選邊站隊的意味並不濃厚,但爭鋒相對的態勢絲毫不弱。
騰訊、字節都看到了新消費品牌在未來可能爆發的潛力,而投資入股僅僅是邁出的第一步,新消費賽道爭奪戰剛剛打響。
無論是騰訊走的穩健,還是字節跳動的勇於給出試錯機會,誰能投出下一個消費頂流都不好説,畢竟,用户消費的變化隨時隨地都在發生。
對於期待雙方“打起來、打起來”的吃瓜羣眾們來説,好戲或許還在後頭呢。