上市前,蜜雪冰城失去“靈魂”?_風聞
价值星球Planet-资本星球官方账号-从全球化视角,带你进入不一样的商业世界。2021-10-22 14:05
作者 | 唐飛
編輯 | 貝爾
“你愛我,我愛你,蜜雪冰城甜蜜蜜……”
靠着這首洗腦循環神曲,蜜雪冰城成了今夏新消費圈最亮的仔,幾乎霸佔了各類社交媒體的話題榜單。
日前,根據河南證監局披露,蜜雪冰城股份有限公司(以下簡稱“蜜雪冰城”)擬在A股市場首次公開發行股票並上市,正在接受廣發證券對其進行輔導,已於2021年9月29日在河南證監局進行輔導備案。
之前有傳言稱蜜雪冰城一直在積極推動上市計劃,如今消息塵埃落定,不出意外蜜雪冰城可能會成為繼奈雪的茶之後第二家新茶飲上市公司。
媒體對蜜雪冰城的解讀文章已有很多,所以本文將不再贅述蜜雪冰城的創業歷史、推廣策略、行業優勢等等,轉而試圖呈現一些其“大熱”背後的隱患。

可能失去“雪王”
那個連唱帶跳的蜜雪冰城吉祥物被稱為“雪王”,在很多人的印象裏,它已經和蜜雪冰城密不可分。
2018年11月,蜜雪冰城與營銷公司華與華合作,並最終確定了這個“雪王”形象。隨即,這個頭戴王冠、身披紅色披風、手持冰淇淋甜筒權杖的白色雪人出現在全國各地的蜜雪冰城門店門頭中。
此後,蜜雪冰城從品牌形象到門店設計、物料周邊,全部圍繞“雪王”符號來制定,並以此推出了多種IP衍生產品,在某種意義上“雪王”就是蜜雪冰城的代言人。

圖片來源:蜜雪冰城官網
此後,“雪王”帶着蜜雪冰城一路擴大商業版圖。官網顯示,2018年蜜雪冰城門店數量為7500家,至2021年10月,蜜雪冰城的全球門店已超10000家。2020年蜜雪冰城實現了65億元的銷售業績,2021年銷售目標是100億。
然而這個可愛的“雪王”自己卻遇到了麻煩。
2021年10月12日,蜜雪冰城與國家知識產權局的商標糾紛在北京知識產權法院開庭。該事件源於2020年3月25日,蜜雪冰城申請第32類商標“雪王”,後被國家知識產權局駁回申請,隨後蜜雪冰城申請駁回複審。2021年1月28日,國家知識產權局再次駁回複審。
今年10月3日披露的判決書顯示,蜜雪冰城於2020年申請的“雪王”商標與引證商標在文字構成、呼叫、含義等方面相近,北京知識產權法院認定其為近似商標,駁回了蜜雪冰城的訴訟請求。
目前,北京法院審判信息網並沒有公佈10月12日開庭的結果,但如果“雪王”商標敗訴,未來蜜雪冰城能否繼續使用“雪王”將成謎?
河南豫龍律師事務所律師付建表示,如果蜜雪冰城在終審敗訴,那麼蜜雪冰城在未取得該商標權利人合法授權的情況下,繼續使用有被訴可能。

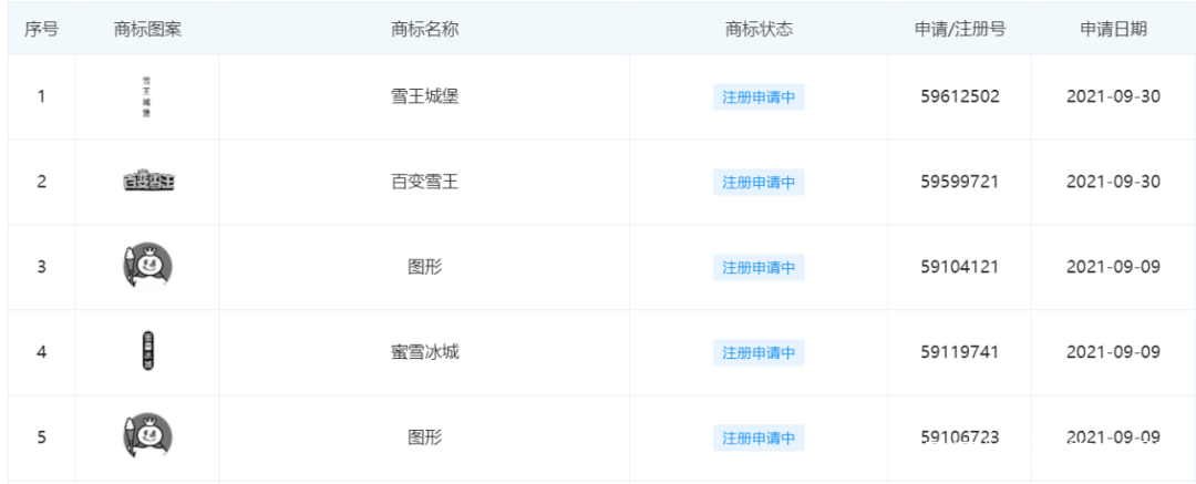
圖片來源:企查查
當然,蜜雪冰城也做好了備選方案。企查查顯示,蜜雪冰城申請了多個帶“雪王”形象的圖形商標,還有帶雪王字樣的“雪王城堡”、“百變雪王”商標,申請日期主要集中在今年9月。也就是説,萬一“雪王”商標不可用,蜜雪冰城仍有其他可選項。
但辛苦近三年才樹立起來的品牌IP就這麼放棄,對公司和業績都是不小的挑戰。
增長“三重奏”
據中信建投發佈的研報,我國現制飲品市場目前仍處於快速成長期,下沉空間廣闊,由低線城市下沉與消費升級共同推動,通過測算市場規模可達2868億元。
雖然當前下沉市場暫未飽和,但是以蜜雪冰城的開店速度,達到“開店天花板”的那一天也並不遙遠。基於長期考慮,在擴店或將觸碰天花板的情況下,尋求規模價值之外的品牌價值對即將上市的蜜雪冰城至關重要。
一般來説,面對這種問題有兩條路可走,一是進攻一二線城市和高端市場,與喜茶、奈雪貼身肉搏;二是產品多元化佈局,擴張產品種類。
第一條路並不好走,地域不同、客羣不同,商業邏輯也就不同。
2009年,蜜雪冰城曾開出“高端店”,並將冰淇淋粉換成康派克奶漿,但只維持了兩年。2018 年,蜜雪冰城又推出高端子品牌“M+”,而市場反響平平。在向咖啡領域的拓展中,2017年蜜雪冰城創立的“幸運咖”初期也是走高端路線,卻也同樣折戟。
以前蜜雪冰城通過價格優勢和成本控制搶佔下沉市場,但一、二線城市的消費者收入水平較高,對茶飲價格的敏感度較低,因此低價策略對消費者的吸引不足;而一、二線城市的店鋪租金、員工薪酬等成本又遠高於下沉市場,使得經營成本大幅提高,成本控制難度更大。這些都使得蜜雪冰城在一、二線城市發展顯得“水土不服”。
蜜雪冰城CEO張紅甫也曾在社交平台上發文感慨:“別人做高端做得風生水起,卻不一定適合‘屌絲’經歷的自己,不適合就不要硬撐着。”
於是公司開始嘗試第二條路,轉向多元化佈局。
平安證券研報顯示,截至今年8月,蜜雪冰城門店菜單SKU數僅30-40,遠少於喜茶和奈雪的茶。不過就在河南證監局公告蜜雪冰城擬在A股上市的前一天,蜜雪冰城推出了首家集合體驗店,並嘗試通過抖音、小紅書等新興渠道做推廣。

圖片來源:小紅書
在這家體驗店裏,蜜雪冰城不僅推出了新飲品,還賣起了炸串、椰乳燴麪、DIY冰淇淋、咖啡、烘焙等多種新品類,甚至還有極具河南特色的椰乳燴麪、烙饃冰激凌。
除了推出更多新品,蜜雪冰城還嘗試走出中國佈局海外。2018年,蜜雪冰城就在越南開了其第一家海外門店。2021年7月,蜜雪冰城宣佈其亞洲總部將落户成都青白江,預計2023年1月建成投產。項目建成後將負責國內西南部及東南亞、南亞地區的市場拓展、原料供應、運營管理及銷售結算。
此外,蜜雪冰城在海南安定縣成立了海南鮮易達供應鏈有限公司,7月在海南省海口市成立了大咖國際企業管理有限公司。相關業內人士認為,蜜雪冰城在海南建廠一方面可以享受一系列優惠政策,另一方面也可以藉助海南的地理優勢輻射東南亞市場。
更大層面上,蜜雪冰城也開始刷新大眾對其固有的認知,幾乎與上市消息同時傳出的還有一條蜜雪冰城的投資消息。
10月13日,廣東匯茶餐飲管理有限公司發生工商變更,新增股東雪王投資有限責任公司,同時註冊資本由500萬增至617.28萬人民幣,增幅約23.46%。
值得一提的是,這個雪王投資有限責任公司是蜜雪冰城的全資子公司,今年9月13日才剛剛成立。企查查信息顯示,該公司經營範圍包含創業投資(限投資未上市企業)、以自有資金從事投資活動等,所以不排除未來會繼續投資其他項目的可能性。
而不論反攻一線城市、增加SKU還是投資新興品牌,這一系列動作的背後更多還是為了“增長”,為了贏得更大範圍的市場認可。
蜜雪冰城真的“甜蜜蜜”?
從目前的蜜雪冰城的股權架構來看,張紅超、張紅甫分別持有蜜雪冰城47.53%股份,並列為第一大股東。如果能順利上市,參照200億的估值計算,兄弟兩人身價很可能過百億。
但是,奈雪的茶上市後股價持續低迷,最近一個交易日報收9.65港元/股,較發行價19.8港元已經腰斬 ,這讓不少投資者開始懷疑新茶飲賽道的前景。蜜雪冰城此時上市必然也會受到奈雪的影響。
作為餐飲連鎖品牌,蜜雪冰城的尷尬之處在於,擴張的步伐邁得很大,但是管理卻跟不上。採用加盟模式雖然幫助蜜雪冰城迅速打開市場,但相較於直營,加盟所帶來的品控不確定性也更大。今年來,蜜雪冰城食品安全質量問題也頻頻被曝光。
今年5月,蜜雪冰城被爆出旗下門店鄭州永安街店、濟南大觀園店、武漢馬湖商業街店存在篡改開封食材效期、使用隔夜茶湯奶漿半成品的食品安全問題。之後的兩天內,鄭州市市場監管局對全市區域內的蜜雪冰城旗下門店進行監督檢查,發現多個問題,責令35家門店限期整改。蜜雪冰城官方也向公眾發出了致歉信,並作出整改計劃。
“按照蜜雪冰城的品控標準,一杯茶飲有着4小時最佳品嚐期的要求,如果超過期限就必須倒掉,這樣的標準下,不乏有門店不願意執行或者對抗總部的監督體系。”蜜雪冰城一位高管事後坦言。
8月,福州市市場監督管理局隨機抽檢了7家網紅奶茶店,檢查結果顯示,蜜雪冰城門店存有發黴檸檬,調製糖漿與奶製品無密封冷藏保存。
9月,北京市海淀區市場監督管理局發佈其對17家餐飲門店監督檢查的結果,北京蜜雪冰城餐飲管理有限公司因食品經營條件不符合食品安全要求、安排未取得健康證明的人員從事接觸直接入口食品的工作的問題,被立案查處。

圖片來源:北京消協官微
10月,北京市、區市場監管局在全市範圍內對連鎖餐廳、“網紅”餐廳、美食城等餐飲企業開展了食品安全大檢查,隨後“北京消協”官方微信公佈了一批存在食品安全問題的餐飲品牌,蜜雪冰城赫然在列。
屢次被查、屢次表示整改,又屢次再犯,食品安全似乎成了蜜雪冰城的阿喀琉斯之踵,須知食品安全本身就是企業安全,此前因此“塌房”的品牌數不勝數,同行奈雪的茶就是前車之鑑。
中國食品產業分析師朱丹蓬也表示,新式茶飲行業頻繁出現食品安全問題,會為蜜雪冰城上市帶來一定的不確定性。
即使上市後,蜜雪冰城的種種問題也會被資本市場的“聚光燈”放大,到時候蜜雪冰城能否真的“甜蜜蜜”仍需時間的驗證。
參考資料:
[1]《陷商標糾紛或失去“雪王”?蜜雪冰城內憂外患將何去何從》,紅星新聞
[2]《新式茶飲迎風起,龍頭品牌各領風騷》,興業證券
[3]《蜜雪冰城反攻北上廣》,藍媒匯