市值超3800億,6大業務發力,“CXO之王”藥明康德還有哪些隱憂?_風聞
子弹财经-子弹财经官方账号-子弹财经(zidancaijing)2021-11-16 11:15

作者 | 張純陽
編輯 | 蛋總
出品 | 子彈財經
全球疫情的大爆發,讓一眾生物製藥企業迎來了“最好的時代”——不僅在業績上有亮眼的表現,還在資本市場中備受投資者的追捧。在這其中,CXO板塊就誕生了數家市值超千億元的企業,可謂獨領風騷。
截至目前,國內CXO龍頭藥明康德,以3882億元的市值登頂“全球CXO之王”的寶座,而在美股市場,市值最接近藥明康德的是艾昆緯(改名前為昆泰醫藥),其當前市值為486.65億美元(約合人民幣3105億元)。
回顧藥明康德的發展歷程,即便不看其市值的變化,光是其業績的增長速度就足夠驚人——2011年,藥明康德的營業收入僅為26億元,而2021年營業收入預計突破200億元,年化增長率在34%左右,10年的時間增長了9倍。
藥明康德如何成了“醫藥行業的巨頭”?其最新財報中展露出哪些發展隱憂?這家CXO巨頭未來還有多少增長空間?
**1、進擊的“醫藥巨頭”**2021年10月30日,藥明康德公佈了2021年第三季度的業績,三****季度營業收入59.85億元,同比增長30.6%;歸母淨利潤8.87億元,同比增長36.2%。
若從單季度來看,三季度營收增速要低於第一季度的55.31%和第二季度38.14%的同比增速,三季度歸母淨利潤增速要低於第一季度394.92%的同比增速,高於第二季度-16.89%的同比增速。
單季度的營收增速和淨利潤增速並不能完全反映企業的經營情況,有些屬於正常的短期波動,**從2021年的前三季度來看,營業收入165.2億元,同比增速39.2%;淨利潤38.1億元,同比增速38.1%,**截止三季度,今年的營收和歸母淨利潤同比增速都處於歷年來的新高,公司仍在快速增長的軌道上。
此外,三季度同比新增客户數1300個,達到5640個活躍客户,來自全球前20大製藥企業客户的收入同比增加21%,來自“長尾”和其他客户的收入同比增加49%,“長尾”和其他客户的營收貢獻已達70%以上。
在2021年三季報之前,藥明康德將自己的業務板塊分為中國區實驗室服務、CDMO服務、美國區實驗室服務、臨牀研究及其他CRO服務、其他業務五個板塊。
從2021年三季度開始,公司重新劃分了業務板塊,主要劃分為化學業務(WuXi Chemistry)、生物學業務(WuXi Biology)、測試業務(WuXi Testing)、細胞及基因療法CTDMO業務(WuXi ATU)、國內新藥研發服務部(WuXi DDSU)和其他業務六個板塊,認為可以更好地反映當前業務管理架構和全球運營的實際情況。

(圖 / 藥明康德2021年三季報)
財報數據顯示,化學業務板塊作為藥明康德的第一大業務板塊,在2021年前三季度收入超過100億元,同比增長47.5%。根據新的劃分,化學業務板塊在2018年上市以來第二次加速,年化複合增長率達36%。
其次,測試業務在2021年前三季度收入為33.4億元,同比增長43.9%,也是在2018年上市以來,達到年化33%的複合增速;而生物學業務在2018年以來,增速並沒有跨階段的提升,2021年前三季度的收入為14.2億元,同比增速為33%。
值得關注的是,細胞及基因療法CTDMO業務在過去幾年的增速一直不高,2021年前三季度收入為7.4億元,同比下降5.2%,但公司對未來4年給出了年化複合率30%的超高增速的預期。
至於國內新藥研發服務部(WuXi DDSU)方面,在2021年前三季度收入為9.3億元,同比增長16.4%。截至2021年9月30日,藥明康德累計完成136個項目的IND申報(Investigational new drug,即新藥研究申請申報)工作,其中70%以上的項目臨牀進度位列中國同類候選藥物中前三位。
據悉,在2021年7月24日,藥明康德DDSU管線出現第一個上市申請階段的藥品,客户藥品上市後將開始收取5%的銷售提成。
按照其下圖DDSU每年30個IND申報(45%為中國首家申報、70%為中國頭三家申報),2028年起每年新增0.5個新藥的規劃,該業務板塊未來可望實現營收的快速增長。


(圖 / 藥明康德公司公告)
除以上五個業務板塊的經營以外,2020年以來,藥明康德的投資收益明顯提高,而2021年前三季度的投資淨收益達13.74億元,遠超過2020年的6億元和2020年前三季度的4.1億元。

(圖 / Wind)
在2020年年報中,Shrodinger(SDGR)、海吉亞醫療、JW、德琪醫藥的分別上市,帶來的公允價值變動,給公司收益:

(圖 / 藥明康德2020年年報)
而在2021年半年報中的Lyell、納微科技、Ambrx Biophama均在2021年7月實現了中美兩地的上市,預計其公允價值的變化也將為公司帶來投資收益的變動,2021年前三季度,投資收益佔歸母淨利潤的比重已達38.6%(去年同期為17.3%)。
根據興業證券的統計整理,藥明康德的非流動性金融資產及長期股權投資,已由2018年的20.8億元,增長到2020年的67.2億元。其投資佈局着眼於醫療前沿領域,包括數字醫療、人工智能、細胞和基因療法、生物科技等,在各賽道搶佔先機,構築自己的生物醫藥生態圈。

從整體上看,藥明康德2021年三季報的表現仍能給投資者帶來信心,其各項營收和發展速度都頗為亮眼。不過,俗話説“羅馬並非一日建成”,藥明康德從一家創業公司成長為醫藥巨頭,都走過了哪些發展之路?
2、藥明康德的起步與騰飛藥明康德成立於2000年,2001年開始成為國內第一個開展化學藥研發外包的服務的公司,彼時共有48名員工,其中27名是博士,第一位客户便是製藥巨頭默克。2004年以前,是公司發展的第一階段,打通小分子一體化研發生產服務。
2005年,藥明康德正式開展生物分析服務,進入2005年-2013年“臨牀前測試+臨牀研究服務”的第二階段,公司營業收入從2005年的2.4億元增長到2013年的35.3億元,其中在2008年收購美國的AppTec,英文名更名為WuXi Apptec,這也是藥明康德英文名的由來。
從2014年開始,藥明康德進入第三個發展階段,佈局C>和CTDMO等新領域;2015年,藥明康德從美股私有化退市,2018年先後分別在A股和港股上市,逐漸成為人們所熟知的CXO龍頭。
事實上,藥明康德之所以能成為CXO龍頭,離不開時代的發展及多重關鍵因素。
第一,歐美CRO市場在1990年代已較為成熟,自21世紀初開始向全球和亞太地區擴張,CRO產業逐漸向以中國為代表的亞洲轉移。畢竟中國擁有世界上最龐大的人口基數,臨牀試驗樣本充足,且臨牀前和臨牀試驗各階段的研究費用僅為發達國家的30%-60%,具有顯著的成本優勢。
第二,自21世紀初以來,海歸生物醫藥人才的歸國潮以及國內培養的大量生物化學人才所形成的工程師紅利,人力成本也僅為歐美發達國家的20%-50%。這兩個成本優勢疊加,使得CRO產業加速向中國等地區轉移。
第三,人才是企業發展的重要因素。從藥明康德的創始人和管理團隊來看,大股東李革和趙寧夫婦作為美籍科學家,均為哥倫比亞大學的化學專業博士且有多年美國頂級藥廠的工作經歷,管理團隊其他成員也大多具有博士學位和頂級藥廠的工作經歷。
人才優勢還體現在人員構成中,如下圖所示,公司研發人員的佔比超過80%,在三萬多人的員工中,有近三分之一具有碩士以上學歷,超過1100名博士,高學歷人才、研發人才的高比例在上市公司中是非常少見的。

(圖 / 藥明康德財報)
第四,資本是企業發展中必不可少的助力。在藥明康德2018年A股和港股的招股説明書中,就可以看到上市前的股東中有博裕資本、高瓴資本等機構的身影,而2018年公司在A股和港股的上市,募集到88.55億元,成為公司擴大生產、科研和投資的重要資金來源。
當然,資本的重要作用還體現在為企業提供一切運作的資金。CXO並不是一個容易做的生意,廠房建設、環保、投資、資質證照等申報都需要和政府部門保持密切的關係和溝通,例如在上海、蘇州、天津、武漢等地工場的污染物、廢水、廢氣排放等,每年、每季度或每月都面臨檢查,利用資本的經驗與人脈等資源,集合更多的力量,對企業的經營和進一步發展有着重要的促進作用。
目前,藥明康德已成為全球範圍內少數可以提供“一體化、端到端”服務的一站式平台。從下圖可見,整個醫藥的研發流程分為“研究、發現、臨牀前、臨牀、註冊、生產”這六個階段,CRO主要服務研究到臨牀的階段,而CMO/CDMO主要服務從臨牀前到生產的階段。
藥明康德提出CRDMO和CTDMO,在整合CRO和CMO/CDMO的同時,又強調T(Testing測試)的重要性,併成立了WuXi Testing分部,加強了自己一體化、端到端的服務能力。


(圖 / 藥明康德招股説明書)
綜上所述,不難看出藥明康德的崛起與時代發展的脈絡緊密相連,藉着產業轉移的東風、人才儲備的紅利及國內市場需求的上漲,藥明康德在二十年裏走完了“起步——轉型——騰飛”的發展路徑,從一家初創企業成長為全球CXO行業的巨頭。
不過,在一定程度上看,藥明康德的未來也緊繫於CXO行業的發展趨勢上,那麼,CXO行業還有多少發展空間?
3、CXO行業的未來趨勢****事實上,藥明康德作為CXO行業的龍頭企業,未來能否快速增長的第一個因素就是看CXO行業能否繼續快速增長。
如下圖所示,根據Frost&Sullivan(弗若斯特沙利文公司)的預測,2025年之前全球醫藥研發外包的年化複合增長率將為11.4%,而中國市場的年化複合增長率將為26.6%。


(圖 / Frost&Sullivan,July 2021,藥明康德)
同時,如下圖所示,外包對比企業In-House(內部研究)的比率,未來也有望不斷上升:

(圖 / Frost&Sullivan,July 2021,藥明康德)
第二個有利因素是全球醫藥研發外包服務向中國的轉移,在2026年全球預計佔比為22%,幾乎是2021年佔比的2倍:

(圖 / Frost&Sullivan,July 2021,藥明康德)
第三個有利因素是CXO行業的市場集中度有望提升,這將利好藥明康德這樣的行業龍頭。
如下圖所示,藥明康德2017年在國內醫藥研發外包市場的份額為8.3%,遠高於所有競爭對手,但同期佔全球醫藥研發外包市場的份額僅為1.1%。

(圖 / 藥明康德招股説明書)
而下圖中,國外主要競爭對手Covance(科文斯)與 Chiltern(奇爾特恩)、Inventive Health(因文健康)與INC Research(INC研究)均於2017年合併所佔全球市場份額最高達10%左右。

(圖 / 藥明康德招股説明書)
隨着未來全球CXO產業鏈繼續向中國轉移,藥明康德在全球市場的佔比有望進一步提升。
4、藥明康德的估值與隱憂客觀來説,一家企業的發展肯定不會“完美無缺、事事順利”,而唯有在激烈的行業競爭中,企業才能不斷補足短板,完善自身並取得更好的業績表現。
「子彈財經」將藥明康德與國內外競爭對手的估值進行了一番比較,得出以下幾個結論:

第一,行業的整體毛利率都在30%以上,這反映出CXO行業的特點,藥明康德的毛利率處於行業中位數水平;
第二,藥明康德對比美國的競爭對手,PS、PE、PEG都是偏高的;
第三,藥明康德對比國內的競爭對手,其PS、PEG較低,PE處於平均水平,國內四家CXO龍頭的估值水平還是比較接近的。
從整體上來看,國內CXO龍頭的估值要高出美國同行一截。但需要注意到,2021年IQVIA和LH淨利潤同比300%,195%的增長主要是2020年疫情的影響,不具有持續性。
而中美CXO龍頭估值水平的差別,部分反映出產業鏈未來向中國轉移,市場看好中國的CXO龍頭而看淡美國的CXO龍頭。
此外,藥明康德的未來也並非全然是一帆風順,第一個發展隱憂就是所處CXO行業的行業風險。
行業風險包含兩個方面:首先是CXO行業未來增速不達預期或放緩的風險,CXO行業的增速依賴於整個醫藥行業研發投入的不斷增加,如果下游全球醫藥市場的需求增速放緩,勢必會傳導到上游的CXO行業。
目前的高估值水平price in了CXO未來的高速增長,而一旦增速放緩,將迎來業績下滑和估值水平下降的反向戴維斯雙擊。
其次是CXO行業內競爭加劇的風險,如果藥明康德不能維持技術和服務優勢,競爭對手不斷趕超,或者整個行業開始降價內卷,將帶來毛利率的下滑。
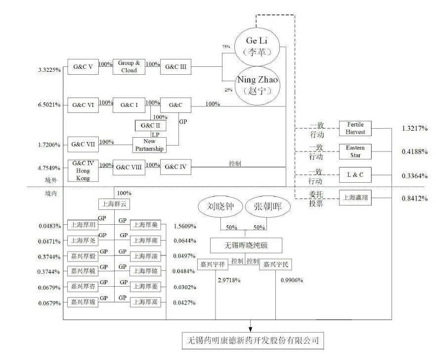
藥明康德的第二個發展隱憂便是公司股權結構所帶來的風險。
不同於大多數公司,藥明康德的大股東李革不直接持有任何股份,而通過擔任境內和境外一系列合夥企業的授權代表來行使權力,如果去查看公司上市前的股權結構,可看到各種境內和境外的合夥企業持股佔了大部分比例。
在2021年的中報公佈中,前十大股東大部分仍是合夥企業,且持股比例非常分散。這種持股結構,大股東對企業的實際控制力,以及眾多合夥企業背後的實際受益人,都較難評估和判斷。

(圖/ 藥明康德2020年年報)

(圖 / Wind,藥明康德2021年中報)
藥明康德的最後一個隱憂是投資業務所帶來的風險。
如前文所述,藥明康德投資收益已佔到當期淨利潤的較大比重,但投資也是把雙刃劍,生物醫藥領域的投資是一項高風險的活動,隨着投資規模的擴大,投資活動將承受更多的生物醫藥行業的系統性風險。
如同一艘大船在海上航行時,既享有波瀾壯闊的美景,但也少不了遇見暗礁與風浪,藥明康德亦是如此。在全球疫情的大背景下,CXO行業迎來發展的新時期,再次乘借時代發展的東風,藥明康德實現了“質的飛躍”,然而,面向CXO行業競爭日趨激烈的未來及企業本身存在的隱憂,藥明康德還沒到高枕無憂的時候。
*文中題圖來自:攝圖網,基於VRF協議。