一晚躺賺2.5億!張庭百億帝國“倒塌”背後,犯了三大致命錯誤_風聞
金错刀-金错刀官方合作-科技商业观察家,爆品战略理论提出者2021-12-31 15:52

文/ 金錯刀頻道
3年前,張庭堪稱明星轉商人的典範。
創業5年,一年繳税12億,趕超歐萊雅,秒殺中通,拿下上海納税冠軍。

公司每月營銷額就高達153億元,幫助過千萬人實現一夜暴富,粉絲過億。
曾經的演員張庭,自稱身家300億,被封為“微商女王”。
3年後,張庭再次登上熱搜,卻是被指涉嫌傳銷,凍結了6億資產。
在微博引起轟動後,張庭夫婦迅速回應:合法經營,配合調查。

儘管女神態度積極,但網友們“早該查了、傳銷無疑”的叫好聲還是鋪滿評論區。
就連人民日報都評價:剜掉網絡傳銷毒瘤。

今天的最新發展,TST的很多代理商也炸了,聲稱子子孫孫都掙不到錢。

不管網上罵聲多大,張庭夫妻仍然兩耳不聞窗外事,在直播間活躍的跳舞賣貨。
張庭夫婦平靜的表現背後,他們一手建立的微商帝國,其實早已經在崩塌的邊緣。
第一個致命錯誤:
從炫富到賣慘,微商女王人設崩塌
去年,在TST的七週年晚宴上,林瑞陽大喊:你們的靠山是誰?
台下上萬名員工大喊:大哥庭姐。

殊不知,張庭這個靠山,其實早已經靠不住了。
最明顯的改變是,曾經的炫富女王,如今開始瘋狂賣慘了。
這兩年,在直播間張庭開始打造“獨立女性”的人設。
袁隆平院士去世當天,張庭因為正常直播,遭受網友指責,張庭一改往日的貴婦範,演起了苦情戲。

在直播間,她崩潰大哭,講述自己生活、創業的不易,一邊哭一邊抱怨: “你們知道我有多努力嗎?一年365天我工作356天!”
為了塑造自己簡樸媽媽的人設,張庭在一條短視頻裏,自稱每天花費不到10元,但給老公1500的零花。

同樣的套路,張庭還用過很多次,比如“張庭一件禮服穿10年”、“一雙鞋穿7年”。
而過去的張庭,畫風卻並非如此。
炫富文化是所有微商人,刻在骨子裏的本能,身為微商教母的張庭,在炫富這塊更是從沒輸過。
在很多場合張庭夫婦的凡爾賽發言,讓無數人對他們的身價表示羨慕。
比如在參加各種綜藝時,張庭和林瑞陽夫婦的人設就是“身價300億”,“自家保險櫃裏的錢多得是,隨便拿。”,和不愛錢的馬雲,難分高低。
還對廣大有志青年喊話,誰娶了她女兒就可以少奮鬥20年。

帶別人參觀1650平、價值近兩億的“宮殿式住宅”時表示,第一次去她家的人都會迷路。

2020年9月,張庭夫妻還花了17億買下黃浦江邊的大樓,當時就豪氣的表示會送好友陶虹、明道各一層。

張庭夫婦炫富的最高境界是,被法國王室頒發榮譽勳章,曬出與 “奧爾良王子”的親密合照。

當然自己富還不夠,林瑞陽還自稱成為一百萬人的財神爺。
在馬來的發佈會上,林瑞陽稱線下有118萬人踩在我的肩頭掙錢,每月發薪水就高達2.5億。
要知道,當年“全球最大的製造廠”富士康員工才120萬人。

TST員工年終獎是10個月工資,年會也是時常下血本包郵輪遊帶員工遊韓國、日本,堪稱最佳老闆。

和其他微商努力幾年喜提豪車不同,TST旗下的首席代理,自稱自己一個月的工資就可以買保時捷。

從壕無人性,到艱苦樸素,張庭的人設一直在變,但唯一不變的是,點進去看到的商品櫥窗。
不僅是微商教母變了,就連微商教父龔文祥也變了。
過去“月零花錢600萬”、“每年發微信紅包300萬”、“2天入手2套千萬豪宅,是他的日常,如今的新聞都變成“賣房賣車,傾家蕩產,身無分文”。
微商界高調炫富的路子已經失靈。

第二個致命錯誤:
轉戰直播,產品卻8年不升級
在2009年的一檔財經節目中,林瑞陽被主持人問,如何跨過地產業的資金和專業門檻?
他帥氣微笑,吐出三個神秘大字——“靠朋友”。
林瑞陽從地產圈得來的“靠朋友”的經驗,在微商圈依然有效。
10年前,林瑞陽想要留住張庭的青春美麗,為愛遠赴法國,提取活酵母菌研究駐顏術,這才換來張庭20年來的容顏不改。

據説,2011年,林瑞陽就在中國台灣地區銷售活酵母護膚品;2013年從鮮奶中萃取酵母,做成現在的TST;2015年,TST官網稱,其研發出活酵母第三代,“三菌合一,五大功效”。
一款“為愛而生”的新產品,在張庭和林瑞陽朋友們的幫助下,活酵母面膜很快就成了明星產品。
林志玲、羅志祥是活酵母的品牌代言人。

趙薇、范冰冰、劉濤等數十個明星,都在微博上體驗宣傳TST活酵母的面膜,幾乎圈粉了娛樂圈的半壁江山。

除了明星光環,這款產品還吸引了陶虹徐崢夫婦、曹格夫婦成為合夥人。

在TST的晚會上,明星陣容堪比拼盤演唱會。

不僅如此,活酵母面膜作為一款微商產品,還一度成為綜藝的寵兒。
2019年4月,TST正式成為《極限挑戰》第五季特約贊助商。

因為對明星的喜愛和追捧,讓用户天真的覺得“明星都在用=產品絕對好”。但實際上,讓張庭夫婦賴以生存的產品活酵母面膜,從來就不是他們的核心競爭力。
這款以全球唯一一款有生命的保養品為噱頭的產品,發展了5年,不僅沒升級,反而不斷的在降級。
以2019年2月,TST才與愛奇藝合作推廣過TST的活酵母新生面膜乳為例。
2016年的第一代產品,活性成分還排在前兩位;到了2019年,主打的活性成分,已經吊車尾,通俗點就是太平洋裏打雞蛋,簡稱海洋蛋花湯;到了2020年第三代產品,幾乎看不到活性成分,全是保濕劑增稠劑,還不如幾塊錢的蘆薈膠。

圖片來源於:美麗修行APP
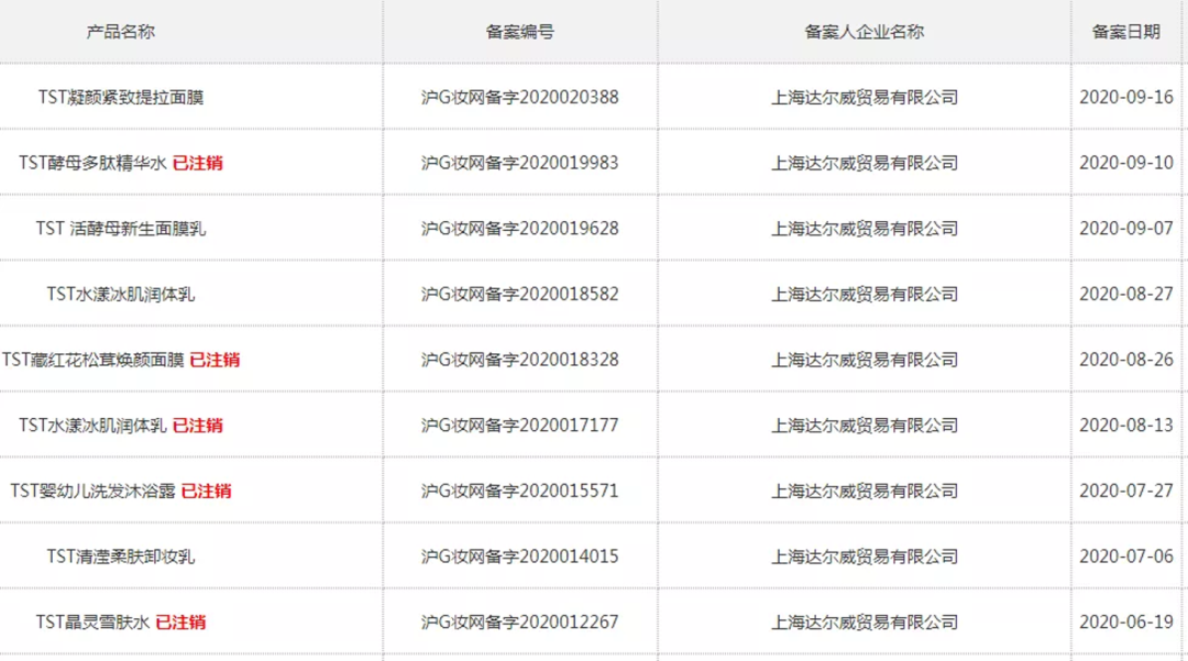
不僅如此,從國家食品藥品監督管理總局官網看到,2020年以來,TS有數十款產品被註銷了。

更別提多年來,無數網友投訴使用了TST的活酵母產品後,慘遭“毀容”,很多產品更是成了315投訴的常客,口碑一度爛大街。
如今再看張庭夫婦的微商帝國,其賴以生存的明星朋友們,一部分上了“黑名單”,剩下的也不敢再站台,一部分早早撤退。
僅剩的合夥人陶虹夫婦,也在今年11月份撤退,徒留下張庭夫婦面對“微商變傳銷”的指控。

產品和營銷都歸零的微商帝國,離崩塌只有一步之遙。

第三個致命錯誤:
傳銷+直播,是張庭早就埋下的雷
2018年,TST成為上海青浦區納税第一名,是張庭夫婦的高光時刻,也是微商行業最輝煌的時候。
那一年,第四屆廣東“微商春晚”現場,坐滿了200位微商行業領袖以及2萬微商從業人員,楊坤、金志文等諸多明星還在現場助陣。

那一年中國的微商從業人數已接近2100萬人。
這個數字,超過了西藏、青海、寧夏三省的人口之和,快趕上整個北京市的常住人口了。
對比當年中國的總人口後發現:每69個人裏,就可能有一個微商。
但直播帶貨的爆火,徹底粉碎了微商所營造的財富通道和邏輯。
2019年,被稱為直播元年,直播電商整體市場規模達到 4,338 億元,但2020年突破萬億達到 10,500 億元,到了2021年,直接突破2萬億。
據 CNNIC 發佈的《中國互聯網絡發展狀況統計報告》顯示,截至 2020年 9月,我國網絡購物用户規模達 7.49 億,直播電商用户規模達 3.09 億,是當年微商從業人數的十幾倍。
直播帶貨風口的出現,加速了微商消亡速度。
2020年,張庭夫婦入駐直播間,憑藉着“酒窩女神”的濾鏡,直播首秀3小時1.3億,超過羅永浩,一舉成為了當天明星直播帶貨榜上的第一名。
陶虹和張庭直播賣貨,也曾經創下過一晚入賬2.5億的傳奇。

那微商的盡頭會是直播帶貨嗎?
刀哥覺得不是。
以抖音直播為例,抖音直播奉行4321的原則:即4成商家、3成是明星達人、2成是活動,1成是頭部。
像張庭和林瑞陽夫婦的TST,作為商家,產品口碑撲街,更沒有新產品升級,儘管有10萬代理直播,但依然在直播界掀不起風浪。
作為明星主播,除了童年濾鏡,如今在張庭的抖音賬號裏,多是辣眼睛的秀恩愛、炫富和生活日常,過去靠炫富、炫夫吸引流量的方式,在抖音的短視頻裏並沒有優勢。

失去風口後,曾經的微商鐵律,再也行不通了。
而TST,作為微商超級頭部,仍是在一個危險賽道升級:傳銷模式+直播。
看似成功轉型,但更像一顆隨時會爆炸的雷。
結語:
在之前,微商的朋友圈裏充斥着各種瑪莎拉蒂、豪宅飛機、成堆現金、勵志語錄。
但如今,龔文祥從“中國微商自媒體第一人”,變成了“中國微商查税破產第一人”。
今年8月,一代微商網紅品牌鼻祖“歐束”高管團隊,因涉嫌組織、領導傳銷活動罪被逮捕,創始人宋維樵被判處5年半刑期,罰沒2.9億。
這些被終結的微商巨頭們,都有一個通病,那就是營銷大於產品。
產品一直是微商行業的大短板,TST的產品一直缺乏升級,還有人因為用了它家面膜爛臉,曾被評為3.15年度投訴案例。
刀哥提醒,不管是什麼流量風口,永遠記住一個爆品天條:
產品是1,營銷是0。
參考資料:
肥羅大電影.《“微商女王”張庭的幻滅史:酒窩女神是怎麼走到今天的?》
豹變.《從朋友圈到直播間,微商會起死回生嗎?》
知乎用户.江小訾
談資.《張庭還會出來賣慘嗎?》

圖片來源於網絡,侵權請聯繫刪除