四闖港交所“圓夢”,三巽集團股價三天原地踏步
张玉
(文/張玉 編輯/馬媛媛)古語有云:“一鼓作氣,再而衰,三而竭”。而地產圈有一家企業,硬是遞交了四次招股書,終於在最後一次成功登陸港交所,這就是起家安徽、紮根安徽的房企三巽集團。
7月19日,三巽正式掛牌上市。公司股票開盤價格為4.76港元/股,截至收盤,公司股價為4.75港元/股,漲跌幅為0。而在隨後的幾天,公司股價波動依舊不大,幾乎沒有任何漲跌浮動,截至7月22日上午收盤,公司股價報4.75港元/股,仍與此前持平。
此外,公司股票的換手量和成交量也顯得“非常平”。上市首日,公司股票換手率為1.7%,7月20日,公司股票的換手率為0.22%,成交量只有146.7萬股;7月21日,公司股票換手率只有0.11%,成交量70.5萬股。
對於上市以來的股價表現,7月22日,三巽集團相關負責人回應稱:監管機構對資本市場信息披露有相關規則,公司對相關信息不做評論。在行業當前現實背景下,公司能成功上市,併成為2021年首家IPO上市房企,也説明公司的價值和戰略是得到投資者的認可的。
香頌資本執行董事沈萌向觀察者網表示,內地房企到香港上市,是迫於內地融資困境的無奈,而房地產企業在香港資本市場的想象空間有限、估值水平和預期也都不高,特別是在內地實施“三道紅線”的高壓政策下,市場對內地房企的業績也不抱更高期望。因此,內地房企、特別是地方性房企的上市很少能吸引香港廣泛投資者參與交易,但承銷商會在IPO後一段時間進行二級市場保價,所以體現出的就是IPO後價格和交易量雙低迷。
家族化色彩濃厚
一份808頁的招股書,足以看出起家於安徽的三巽集團對於這次港股上市的重視程度。
現場照片顯示,上市當日,三巽集團創始人兼董事長錢堃喜笑顏開,站在一旁的女兒落落大方。不過,高光時刻,同樣作為公司創始人之一、公司第二大股東、錢堃妻子安娟依然甘居幕後,並未在現場出現。
就此,三巽集團相關負責人向觀察者網回應表示,安娟目前正在境外辦理公司上市相關後續事項。

三巽集團的起源可以追溯到2004年,彼時,錢堃及妻子安娟開始透過安徽三巽投資從事房地產業務。6年後,滁州三巽成立,並專注於開發住宅。2011年,三巽集團在安徽省滁州市收購第一幅地塊。後來,該地塊被開發為住宅滁州左岸香頌項目。
2018年,三巽集團將總部搬遷至上海,這也意味着集團開始對外擴張的野心凸顯。
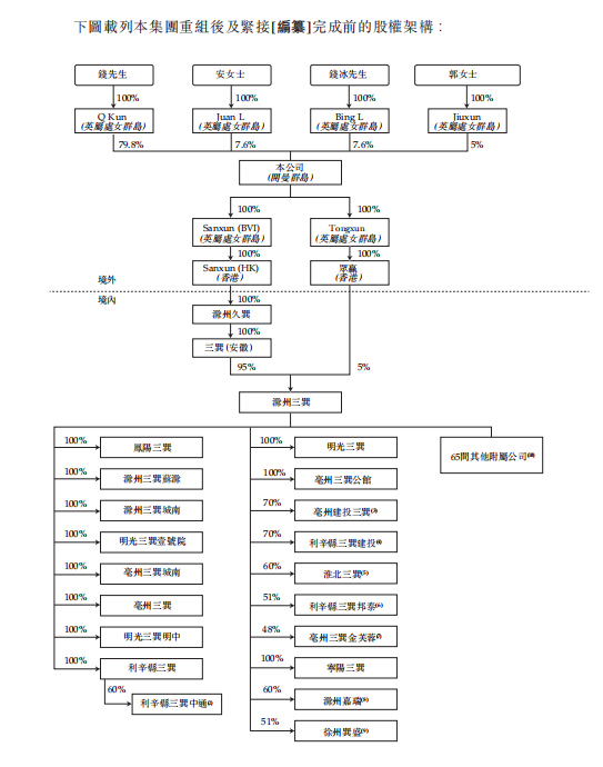
家族化是這家企業鮮明的標籤。從公司的股權架構來看,本次集團重組前,錢堃持有公司84%的股份,安娟持有公司8%的股份,錢堃的父親錢冰持有公司8%的股份。
集團重組之後,錢堃持股比例降至79.8%,安娟和錢冰的持股比例均調整為7.6%,新加入的股東郭女士持股5%。錢堃家族的持股比例由100%降至95%。

全球化發售及資本化發行完成後(假設超額配股權未獲行使),錢堃將透過其控股公司Q Kun擁有我們59.85%的股份,妻子安娟將透過其控股公司Juan L擁有5.7%的股份。此外,因為雙方的夫妻關係,其共同有權利在股東大會上行使已發行股本中65.55%的股份所附帶的投票權。錢堃、安娟、Q Kun及Juan L為一組控股股東。
夫妻檔組合之下,三巽集團發展速度也呈現較快的增長趨勢。招股書披露,截至2021年4月底,三巽集團及其聯營公司擁有44個處於開發階段的項目,總土地儲備面積約430萬平方米。公司收入也由2018年的7.24億元增加至2019年的31.09億元,2020年,公司收入進一步增加至39.46億元。
億翰智庫數據顯示,從綜合表現來看,2020年三巽集團排名第85位。從三道紅線的指標來看,2018~2020年,公司資產負債比率分別為80.8%、85.1%以及79.4%,踩中一條紅線。截止2020年末,公司剔除預收賬款後的資產負債率為79.3%;現金短債比為2.1。2018年至2020年,三巽集團借款總額的加權平均實際利率分別為14%、12.3%及9.4%。
超九成營收來自安徽
儘管將總部搬遷到了上海,起家於安徽的三巽集團依然深深紮根於安徽市場。
招股書披露,集團共計進入12個城市,其中34個項目位於安徽省,9個位於江蘇,1個位于山東。其中,截至2021年4月底,來自於安徽省的土地佔集團總土地儲備的82.3%。
具體來看,三巽在安徽的佈局主要集中在亳州,佔公司總土地儲備的31.2%,此外,淮南、合肥、宿州、蚌埠、滁州、安慶等亦有不少土地儲備。
上述佈局之下,三巽集團的大部分收入也主要來自於安徽省。2018年~2020年,安徽省貢獻的營收分別為7.24億元、31.09億元及35.63億元,分別佔總營收的比重為100%、100%及90.3%。
在行業利潤逐漸變薄的大趨勢之下,三巽集團的毛利率也呈現一定的波動趨勢。以住宅項目為例,數據顯示,公司毛利率在2019年達到30.2%,2020年,公司毛利率降至25.5%。億翰智庫數據顯示,2020年行業毛利潤率整體呈下降趨勢,E50房企普遍保持在20%-25%之間。從行業整體表現來看,三巽集團的毛利率尚在行業內屬於較高水平。
三巽集團在招股書中解釋稱,毛利波動的主要原因為已交付的建築面積波動。毛利率波動的主要原因為不同物業項目的毛利因物業的售價、建築及勞工成本及土地使用權成本不同而不同。
從公司目前戰略來看,安徽省及其周邊城市依然是三巽未來欲重點佈局的區域。三巽控股方面表示,扣除全球發售中應付的包銷費用及開支後,公司擬將所得款項淨額的60%用作開發現有物業項目的建築成本,即利辛鉑悦府、宿州靈璧清楓及寧陽鉑悦府;約30%用於土地收購,通過在安徽省以及計劃進軍的安徽省周邊城市尋求及收購地塊或合適的收併購機會,增加土地儲備;約10%用作一般營運資金。
三巽集團在回應中提及,一直以來,三巽在深耕安徽的同時,也在積極按照“2+X”及“兩橫三縱”戰略進行佈局。2018年起,三巽積極拓展環滬的江蘇、山東等區域。去年中期以來,三巽集團在無錫連落4子。而短短2年內,其在江蘇已佈局近10個項目,這也顯示了三巽集團深耕長三角的戰略定力,也將進一步拓寬其主業護城河。
本文系觀察者網獨家稿件,未經授權,不得轉載。