美媒稱華為將把手機設計授權第三方,以避開出口管制

【文/觀察者網 呂棟】
11月15日,彭博社援引知情人士報道稱,華為智能手機業務因美國製裁而遭受重創,該公司目前正計劃將其手機設計授權給第三方,以讓對方獲取關鍵零部件來製造基於華為設計的手機。
觀察者網就此事聯繫華為方面,對方暫無回應。

彭博社報道截圖
一位不願透露姓名的知情人士稱,華為正考慮將其手機設計授權給國資控股的中國郵電器材集團有限公司(PTAC)旗下的一家子公司,後者隨後將尋求購買美國對華為出口管制的零部件。
報道稱,這家名為Xnova的子公司已經在其電子商務網站上銷售華為品牌的Nova手機。根據合作關係,該公司後續將提供基於華為設計的自有品牌手機。
觀察者網注意到,微博賬號@Hinova今年8月已經註冊認證,認證方是中郵通信設備有限公司。而中郵通信設備有限公司正是此前曾參與聯合收購榮耀的中國郵電器材集團有限公司的全資子公司。

微博截圖
彭博社援引的另一位知情人士還指出,中國電信設備製造商鼎橋通信技術有限公司(TD Tech Ltd.)也將以自有品牌銷售一些華為設計的手機。由於談判仍在進行,合作關係可能會發生變化。
值得注意的是,鼎橋通信近期已經推出一款型號為“鼎橋N8 Pro”的手機,這款手機在外觀上與華為nova 8 Pro十分相似,並且還搭載華為自研的麒麟985 5G芯片。還有傳聞稱,鼎橋通信計劃準備推出一款外形與華為Mate 40一致的旗艦機。這款產品可能被命名為“M40”,搭載麒麟9000E 5G芯片。

鼎橋通信官網截圖
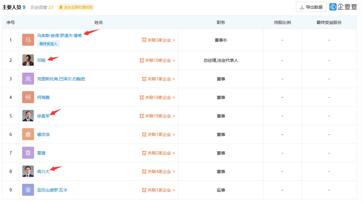
觀察者網查詢企查查信息發現,鼎橋通信成立於2005年,董事長為馬庫斯·彼得·羅道夫·博策(馬博策),他同時是諾基亞大中華區總裁、上海諾基亞貝爾CEO。另外,鼎橋通信董事名單中還有徐直軍、鄧飈、何海鵬、閻力大等多位華為相關人士。進一步查詢可發現,鼎橋通信的100%控股股東為香港註冊公司TD TECH HOLDING LIMITED,該公司由諾基亞(51%)和華為(49%)共同持股。

企查查截圖
彭博社報道稱,出售手機設計授權可能是華為挽救其智能手機業務的最佳機會,此前美國製裁切斷了其關鍵芯片的供應。自華為首次被美國政府打壓以來,其消費者業務已經連續四個季度出現銷售下滑。
財報顯示,2021年上半年,華為實現營收3204億元,淨利潤率9.8%。其中,消費者業務同比下滑47%至1357億元;運營商業務同比下滑14.2%至1369億元;企業業務同比增長18.2%達429億元。除企業業務仍保持正增長外,華為消費者業務與運營商業務,均表現為負增長。
市場調研機構Counterpoint Research的數據顯示,今年第三季度,華為國內出貨同比大幅下滑77%,環比也下滑18%,市場份額由去年同期的30%,下滑到僅有8%,可見美國製裁對華為手機業務影響之大。

圖片來源:Counterpoint Research
大約一年前,華為將旗下子品牌榮耀剝離。榮耀首席執行官趙明表示,該公司現在可以從包括高通在內的美國供應商那裏購買零部件。
彭博社援引的一位知情人士稱,華為工程師已經開始重新設計一些智能手機的電路,使其能夠適應高通或聯發科的處理器。該人士還稱,華為預計合作伙伴關係將使智能手機出貨量明年達到3000萬部以上,包括內部型號和合作伙伴銷售的機型。
報道認為,最新的授權協議不太可能為華為帶來實質性利潤,但這種合作關係可能對幫助該公司維持其智能手機開發能力至關重要。
本文系觀察者網獨家稿件,未經授權,不得轉載。