哪吒汽車“我命由我不由天”商標被駁回
None
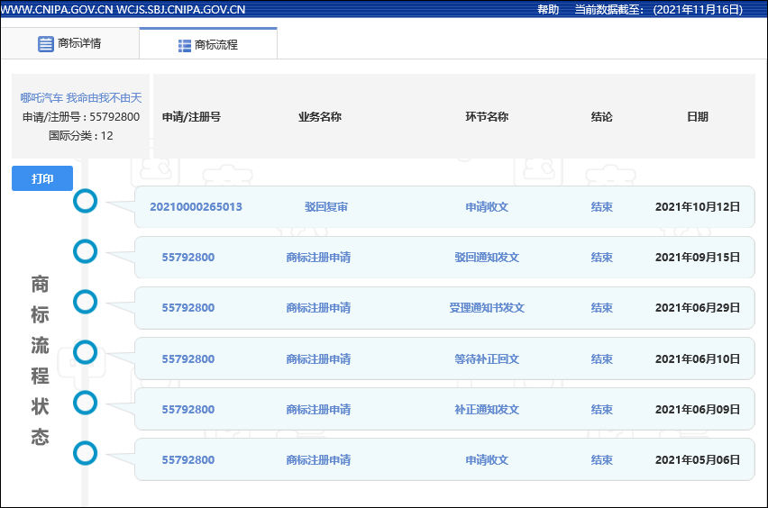
(觀察者網訊)根據商標局11月16日的最新狀態顯示,哪吒汽車關聯公司合眾新能源汽車有限公司於2021年5月申請註冊的“哪吒汽車 我命由我不由天”商標狀態發生變更,商標流程變更為“駁回複審”和“駁回通知發文”,相關商標國際分類為運輸工具和科學儀器。

國際分類為運輸工具的商標流程狀態 圖源:國家知識產權局商標局 中國商標網 截圖 (下同)

國際分類為科學儀器的商標流程狀態
另據企查查網站顯示,目前,該公司“我命由我不由天”商標均未註冊成功。
合眾新能源汽車成立於2014年,而在2019年國產動畫電影《哪吒之魔童降世》上映時,合眾新能源也與其進行了跨界合作,進行了一波IP營銷。“我命由我不由天”一詞也在該影片上映後引發網民熱議。