薇婭公司通知員工回家休息,業內人士:她不是最後一個
None

“帶貨一姐”薇婭偷逃税被追繳處罰13.41億事件持續發酵。20日晚間,每經小編查詢發現,薇婭微博、淘寶直播、抖音、快手等平台的賬號已被封。

薇婭微博賬號被封

薇婭淘寶直播間被封

薇婭抖音賬號被封
薇婭快手賬號被封
“對薇婭的影響應該非常大,畢竟是蠻嚴重的違法事件,企業家以及公眾人物沒有遵守好國家的法律法規所造成的影響,可能還不在於罰金本身。” 艾媒諮詢CEO兼首席分析師張毅在接受每日經濟新聞記者採訪時表示。
值得注意的是,20日下午,薇婭事業部信息通知羣截圖流出,薇婭經紀人王斯(古默)發言表示,“接下來請大家先行回家休息,在此期間工資照發”。一位接近薇婭事業部的行業人士告訴《每日經濟新聞》記者,此圖片消息屬實,後續公司將就此發佈公告。

網紅格局將被改寫
在充斥着吆喝聲的直播間,大部分用户失去理智,激情下單,一單又一單高昂的成交額不斷刷新紀錄,薇婭一步步成為“帶貨女王”,實現個人財富積累。
隨着這則通報,一切戛然而止。
據央視新聞透露,税務部門近年來發現網絡主播存在一定的涉税風險,於是展開了風險核查,發現薇婭存在重大逃税問題,並多次提醒督促整改,但仍整改不徹底,所以對薇婭進行立案調查,證實了她的違法事實行為,並作出相應的處罰。
很快,薇婭方面發佈了致歉信,表示“完全接受税務部門對我做出的相關處罰決定,並將積極籌措資金在規定時間內完成補繳税款、滯納金和罰款”。

圖片來源:薇婭微博
薇婭的丈夫董海鋒也發佈道歉信表示:“我深知我們在税務上並不專業,因此聘用所謂的專業機構幫我們進行税務統籌合規,但後續發現這些所謂的合法合規的税務統籌均存在問題。在更為專業的財務團隊到崗後,發現税務統籌有極大風險,於是自2020年11月至今,我們終止了所謂的税務規劃統籌,按照45%個人所得税率全額繳納薇婭相關税款,並主動補繳在此之前的不合規的相關税款。”

圖片來源:董海峯微博
每經記者瞭解,主播帶貨收入主要來源於兩大板塊:一是“佣金”,即商家給予的帶貨分成比例;二是“坑位費”,一般存在於大主播身上。薇婭的直播間內,僅坑位費就達到了幾十萬元。
2020年,自新冠疫情爆發後,直播帶貨迎來了真正的“風口”,這個充滿想象力的行業吸引了主播、明星甚至企業家的加入。張庭、舒暢、林依輪、賈乃亮等明星通過直播“翻紅”,高流量明星楊冪、鹿晗、楊穎、李易峯等人也都出現在直播間,為商品或者項目賣貨。
一度有人認為,直播帶貨是low的。這和電視裏扯着嗓子吆喝“不要1999,只要999,現在拿起電話撥打……”的電視購物有什麼區別?但頭部主播與消費者之間建立起的一種陪伴與信任的橋樑,讓直播帶貨這幾年風靡各大平台,也成為很多明星的第二職業。
薇婭曾在《吐槽大會》上開玩笑説:“當明星有啥好的,明星的歸宿都是帶貨,我只是想跳過當明星這一步。”不過在今年“618”之後,業內普遍認為“熱度”降下來了。一位MCN機構從業者向每經記者透露,有明星去年的直播報價為20多萬元,今年降到了不到5萬元。
今年“雙11”直播,成績最漂亮的當屬薇婭、李佳琦與雪梨,但雪梨與薇婭先後因為税務問題翻車。
11月22日,雪梨、林珊珊兩大主播被依法追繳税款、加收滯納金並處罰款6555.31萬元、2767.25萬元。隨後,兩主播被“全網下架”,微博、淘寶、小紅書、抖音乃至淘寶等賬號接連被封禁。如過山車一般,雪梨徹底從頂流主播變成查無此人。
迎接薇婭的又是什麼?
據瞭解,薇婭原定於12月20日晚7點的淘寶直播被取消,截至發稿,薇婭的個人微博賬號已被封,淘寶店鋪被下架,直播間的所有視頻已不可見。
“對薇婭的影響應該非常大,畢竟是蠻嚴重的違法事件,企業家以及公眾人物沒有遵守好國家的法律法規所造成的影響,可能還不在於罰金本身。” 張毅表示。
網紅薇婭帶火了MCN機構謙尋
作為絕對頭部,薇婭、李佳琦不再只是“主播”。他們與大牌出聯名產品,成為產品代言人,是綜藝節目力邀的“主咖”,各界名人排着隊來他們的直播間,待遇不亞於當紅大明星。
有知名度、有錢,薇婭早已活成了“資本”。為了這一天,薇婭努力了近20年。
17歲,離開安徽老家到北京闖天地的薇婭,和當時還是男朋友的董海峯在北京動物園批發市場開服裝店,自己當穿搭模特,成為批發市場裏最火的檔口,攢下人生中第一桶金;20歲,一直喜歡唱歌的她,參加選秀比賽,並在後來以女團主唱的身份出道;23歲,切斷與演藝圈的一切聯繫,和董海峯一起重拾服裝舊業,開了七家線下店,在西安、廣州兩地置辦數套房產,過着忙碌而富足的老闆娘生活……

圖片來源:視覺中國
如果沒有2012年的那次“背水一戰”,薇婭只是中國千萬服裝生意人中的一員,斷不會成為時代的面孔。那一年,薇婭和董海峯夫婦二人感受到來自電商的擠壓,董海峯決定,關掉線下店,轉戰線上。“電商迅速崛起,西安店面租金越來越貴,還不如放手一搏,不要給自己留後路。”董海峯曾回憶道。
經營網店,幾度虧損。“賣掉一套房子,又賣掉一套房子。把前面的積蓄都花光了,家裏的生活越來越吃緊。”薇婭在接受魯豫採訪時説,電商這條路是不是選錯了?那是薇婭最不自信的時候。
天無絕人之路,轉機出現在2016年薇婭開始為淘寶當直播主播時。當時的阿里直播運營負責人發現,雖然直播帶貨還不賺錢,但薇婭卻是最賣力的那一個。
後來的故事大家都知道了,短短几年之間,薇婭在這個“前無古人”的直播電商風口長出了豐滿的羽翼,飛向她以前怎麼也想不到的天空。2020年,薇婭的年成交額已超過300億元,牢牢霸佔着“帶貨女王”的寶座。
顯赫的戰績帶火了薇婭背後的MCN機構謙尋。2019年,薇婭夫婦成立謙尋(杭州)文化傳媒有限公司,董海峯是該公司大股東。2020年、2021年,君聯資本、雲峯基金先後注資謙尋,謙尋將主營業務拓展為包括孵化網紅主播、短視頻內容生產及投放、全域內容營銷等,目前已簽下林依輪、李靜、海清等轉戰直播帶貨的明星。
數據顯示,謙尋已和超過5000家品牌達成過合作,累計GMV超過100億元。除了自身公司被頭部機構投資,今年1月,薇婭夫婦開始涉足私募股權投資領域。
財富巨升。2021年中國福布斯富人榜出爐,薇婭與丈夫董海鋒以 90 億元人民幣的身家躋身前 500 名。
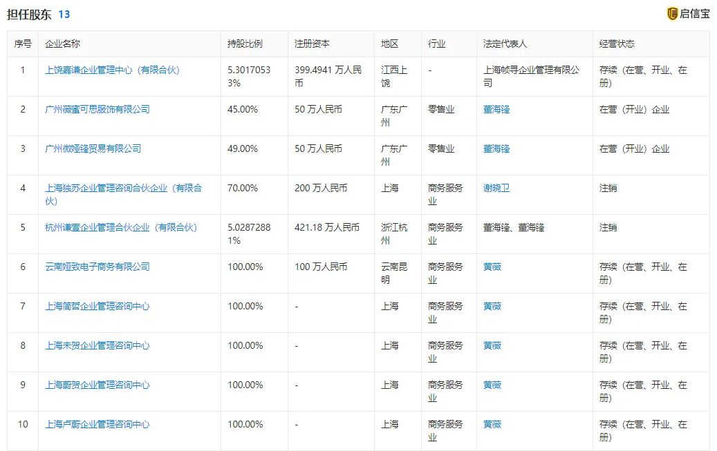
在偷税漏税醜聞出來前,薇婭已經清理了部分商業版圖。啓信寶App顯示,目前薇婭(黃薇)共投資16家企業,包括上饒嘉謙企業管理中心(有限合夥)、廣州薇蜜可思服飾有限公司、廣州微婭鋒貿易有限公司等;擔任法人的企業共有8家,包括雲南婭致電子商務有限公司、上海簡哲企業管理諮詢中心、上海未賀企業管理諮詢中心等。

圖片來源:啓信寶
12月6日,薇婭和董海峯的合資公司杭州謙壹企業管理合夥企業(有限合夥)發生工商變更,企業狀態從存續變更為註銷,註銷原因為決議解散。據瞭解,該企業成立於2020年11月,剛剛滿一年。彼時,#薇婭夫婦合夥企業註銷#還衝上微博熱搜第一,有網友質疑, 是不是怕被查税才進行的企業註銷。

圖片來源:微博截圖
即便為“直播一姐”,薇婭在直播方面也翻過車。早前,因為營養成分表數據存在偏差,號稱全麥麪包銷售額第一、薇婭帶貨的品牌“田園主義”被上海市消保委點名,雖然事後該品牌創始人公開澄清出問題產品與薇婭所售產品無關,但薇婭並沒因此在輿論場上全身而退。
直播行業或將迎來強監管
薇婭不是最後一個
薇婭被罰並非毫無預兆。10月29日,就有爆料稱,直播行業將迎來税務大整頓,隨後薇婭公司回應稱:“假的、不是我們,別相信。”
但據一位從事電商行業的人士透露,相關部門對直播行業的查税已有數月。“薇婭不是最後一個,直播違法的不在少數,還有大主播也在被查。會不會真出問題,還是在處罰出來之前及時補交了處罰,就不好説了。”
為何直播帶貨會成為偷税漏税的重災區,跟行業的迅速爆發緊密相關。
直播電商產業發展迅猛,畢馬威聯合阿里研究院發佈的《邁向萬億市場的直播電商》報告顯示,2020年直播電商整體規模達到1.05萬億元,2021年這一規模將擴大至2萬億元。而根據商務部此前公佈的數據,2020年上半年全國電商直播活躍主播人數超過40萬。

圖片來源:報告截圖
成交規模連年上漲,社會影響力持續擴大,直播間的各種“亂象”卻屢禁不止:過度宣傳、虛假宣傳、退換貨難、貨不對版、退款難等都被用户詬病已久。
張毅對每經記者表示,作為業態新模式,直播電商行業發展迅猛,規模也在不斷增加,直播電商為大眾帶來了就業機會和脱貧機遇。也正因為如此,部分監管手段沒有及時跟上。“但這不意味着可以鑽法律漏洞,應盡的公民義務不該忘卻。”
多位從業者認為,賣貨性質的直播與娛樂性的直播,都存在大量的偷漏税情況。張毅介紹,税務機關已在重點關注直播行業。電商直播因為涉及到貨物,有章可循,但娛樂直播方面,大多為打賞性質的營收,如何徵收税款?目前存在一定難度。
薇婭會“涼”嗎?業內大部分在觀望,並且持消極態度。“像薇婭這種頭部主播的影響力已經不亞於一些明星了。”有直播行業從業者表示。
無論等待薇婭的是什麼,在時代之下,也不過是一粒沙。張毅堅信,是市場需要,才出現了薇婭、李佳琦,而不是因為有薇婭、李佳琦,直播行業才蒸蒸日上。“市場足夠大,頭部主播的壟斷反而對行業的發展不利。對商家而言,好像變得只有找他倆才有效果;對於平台而言,他倆要是不高興就很麻煩;對於消費者而言,會懷疑是不是隻有跟着他倆才能買到好的東西,其實也不然。”
高昂的佣金之下,大主播擁有了太大的話語權,讓本就來自民間的薇婭成為造富神話。有商家苦不堪言,直言小的直播間沒有人氣,便咬咬牙也要請薇婭。
某券商的電話會中透露了超頭部格局下,平台、品牌都很難受。“雙11期間他們(超頭部主播)對品牌話語權太強了,品牌作為銷售,無論是市場,還是銷售功能,都受制於他們。利潤砍掉了很多,內卷格局了,必須要找他們,才能進TOP5。”過度強勢的主播,讓品牌變得被動,長期下去,會對國潮崛起、健康發展都不利。該券商人士認為:“薇婭一定程度上成為市場過強的渠道,也是她被罰的一層因素。”
東吳零售認為,税務方面,合法合規是經營的底線。找頭部主播帶貨是為了排名,而排名是有限的。品牌和渠道的戰爭一直在持續,頭部主播過於強大,甚至會影響品牌的健康發展。關於直播的未來,東吳零售分析稱,直播帶貨本身不會有大問題,但頭部主播越來越強的格局是有問題的。未來對於其他主播而言,平台、品牌都希望他們去做更多內容向的直播,而非僅僅索要折扣。未來或許更注重去中心化,直播的主播矩陣可能也會洗牌。
iiMedia Research(艾媒諮詢)數據顯示,新冠疫情影響下,直播普及率進一步提高,直播用户突破5億。而薇婭被罰,直播行業勢必迎來一波洗牌,張毅認為,會對整個直播電商市場的繁榮發展起到促進作用。“頭部的集中會更加分散,各主播MCN機構的機會會更大,未來百家繁榮才是正常狀態。”