遭騰訊等10大股東清倉?知乎回應:系正常變動

【文/觀察者網 呂棟】
12月23日,觀察者網查詢企查查發現,知乎母公司北京智者天下科技有限公司12月21日發生股東變更,共有10個股東退出該公司約78.1%的股份,這部分股份由知乎創始人周源接盤。與此同時,周源的職務由董事長變更為執行董事。
具體股份變更信息如下:
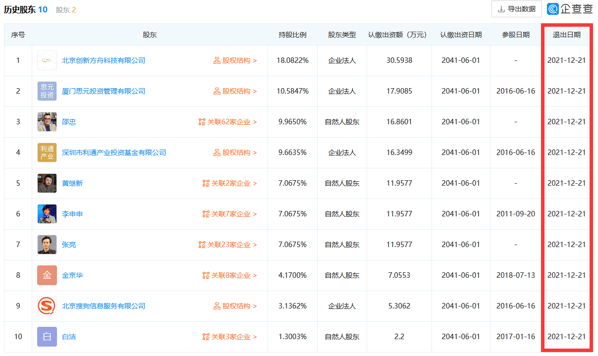
北京創新方舟科技有限公司退出約18.08%股份,廈門思元投資管理有限公司退出約10.58%股份,邵忠退出約9.97%股份,深圳市利通產業投資基金有限公司退出約9.66%股份,黃繼新退出約7.07%股份,李申申退出約7.07%股份,張亮退出約7.07%股份,金京華退出4.17%股份,北京搜狗信息服務有限公司退出約3.14%股份,白潔退出約1.3%股份。

企查查信息截圖
股份變更後,北京智者天下科技有限公司僅剩兩名股東。其中,周源的持股比例從約21.2%上升到約99.31%,法定代表人李大海的持股比例不變仍為0.6933%。
而根據知乎今年3月在美股上市時披露的信息,當時知乎創始人、董事長兼CEO周源持股比例為8.2%,知乎高管整體持股9.6%;機構股東中,創新工廠持股13.1%,騰訊持股12.3%,啓明創投持股11.3%,賽富持股9.3%,快手持股8.3%,今日資本旗下CTG持股6.8%。
這被部分媒體解讀為知乎遭騰訊等股東清倉減持。

知乎招股書截圖
針對上述股權變動,知乎方面向觀察者網回應稱,北京智者天下科技有限公司是知乎境外上市主體ZHIHU INC.的境內關聯公司,本次架構變動是知乎公司治理的正常變動,也是中概股公司上市之後的標準操作,知乎的實際控制人與重要股東及其持股比例均沒有變化。
與此同時,觀察者網注意到,北京智者天下科技有限公司的主要高管也發生調整,李大海從經理兼董事調整為經理,周源從董事長調整為執行董事,張寧從董事調整為監事;汪華、白潔、孫偉、王媛、楊建文、李朝暉、WUJING均退出董事,林鶯退出監事。
今年3月26日,知乎在經過7輪融資後在紐交所掛牌上市。掛牌首日,知乎盤中一度跌近30%,最終收跌逾10%,收盤總市值約47.8億美元。隨後其股價一度在今年6月底上衝13.85美元/股的高位,但從今年10月來持續走熊,目前股價為5.44美元/股,總市值約30.56億美元,較6月高點暴跌61%。

知乎股價走勢
從最新一期的財報來看,知乎仍未擺脱虧損的困境。
財報顯示,2021年三季度,知乎營收為人民幣8.235億元(約合1.278億美元),較2020年第三季度增長115.1%;淨虧損為2.698億元人民幣(約合4190萬美元),而2020年同期淨虧損1.100億元人民幣,虧損幅度明顯擴大;毛利潤為人民幣4.248億元(約合6590萬美元),較2020年第三季度增長93.0%;毛利率為51.6%,而2020年同期為57.5%。
虧損擴大,無疑還是跟知乎大力燒錢推廣有關。財報顯示,2021年三季度,知乎總運營費用為7.473億元人民幣(約合1.160億美元),而2020年同期為3.499億元人民幣;銷售和營銷費用為3.747億元人民幣(約合5820萬美元),而2020年同期為2.196億元人民幣。

知乎2021年三季報截圖
當然,知乎在營銷上重金投入,成果也十分明顯。2021年三季度,知乎平均月活躍用户數(MAU)為1.012億,同比增長40.1%;平均月付費會員數為550萬,同比增長109.9%。上述兩項數據是推動其營收同比翻倍有餘的主要動力。同時,知乎三季度廣告業務收入為3.211億元,相比2020年同期的2.311億元亦增長近38.9%,這在廣告業整體低迷的環境下顯得難能可貴。
值得一提的是,得益於整體用户羣數量和用户付費比例的增加,三季度知乎會員付費收入達到1.783億元,較去年同期的9110萬元增長95.8%,同樣近乎翻倍。而在線下培訓行業遭受整頓的背景下,知乎致力提供的、包括職業培訓和專業課程在內的在線教育服務則迎來“風口”,連同關聯的電商等業務,在三季度收入4570萬元,同比增長202.6%。
枯燥的財務數據外,知乎面臨的更大隱憂是一些老用户對氛圍的失望乃至“退乎”。
日前有資深知乎用户發文稱,老用户絕大多數認為正因為知乎的氛圍越來越差,導致知乎的創作者越來越少。不論是“勸退學”還是“曹學”,都來自社區大量的互動和思想碰撞才能產生。如果討論的質量變低,無法誕生出這種強勢輸出的概念。而知乎從以個人答主專業向回答為核心的內容調性,似乎變成以團隊回答、付費故事、情感炒作和視頻為導向的內容取向。
更危險的是,知乎有時還遊走在法律的禁區。
12月20日,北京網信辦發佈消息,近日,國家網信辦指導北京網信辦依法約談知乎網負責人,針對知乎網多次出現法律法規禁止發佈或者傳輸的信息等問題,依據《中華人民共和國網絡安全法》,責令其立即整改,嚴肅處理相關責任人。北京市互聯網信息辦公室對知乎網違法行為進行行政處罰立案。
本文系觀察者網獨家稿件,未經授權,不得轉載。