專利申請顯示蘋果可能已經解決了摺疊式iPhone電池彎曲問題
蘋果公司的設備如此依賴電池,以至於該公司一直在研究各種可能的方案,以使其功能更強大,或以某種方式提供更多功能。一項新披露的專利申請顯示,該公司正在繼續研究能在摺疊式設備中工作的電池。
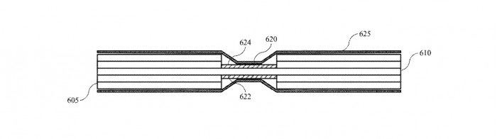
蘋果一項名為"靈活的電池配置"專利申請,涉及到電池單元在外殼中的排列。蘋果在這項專利申請當中表示,這些電子設備可以包括一個鉸鏈部分,沿着設備第一部分和設備第二部分延伸,設備第二部分可以圍繞鉸鏈與第一部分進行可彎曲地聯接。

蘋果公司以前曾生產過不同形狀的電池,以便更好地利用空間,例如,2015年的MacBook,其中分立的不同的電池堆在一起,而這個新的建議是一個單一的電池單元,其特點是在它要彎曲的地方有一個更薄的部分,鉸鏈部分的特點是厚度小於第一個部分的厚度和第二個部分的厚度。

蘋果表示,摺疊設備也可以有兩個電池,在鉸鏈兩側的每個部分都有一個。專利中的細節顯示,一個電池單元可以有一個更細的部分,以便於彎曲。與傳統技術相比,這種技術可以提供許多好處,包括機械靈活性。 因此,蘋果公司正在研究可彎曲的電池如何成為柔性設備的一個關鍵部分,而不是研究如何將剛性的電池裝入這樣空間當中。