互聯網新生態戰爭的第一戰:從改名打響_風聞
手游矩阵-手游矩阵官方账号-聚焦游戏大千世界,不仅限于手游领域2022-03-13 22:36
在元宇宙概念潮大熱的現在,一切話題與這三個字搭邊後,就似乎塗上了吸引人的香氣分子,引起的話題度與關注度都陡然上升。
去年10月底,全球知名互聯網公司Facebook宣佈將自己使用了17年的公司名稱更改為“Meta”,取元宇宙單詞“Metaverse”之意,並宣稱數年以來其持續在元宇宙領域投入了數十億美元,今年更是會投入超100億美元。

雖然這次改名讓“Meta”和其創始人扎克伯格飽受爭議,且在今年開年後“Meta”股價大跌,一日時間蒸發了100億美元,但目前Meta公司仍未停止其向元宇宙前進的步伐。
在互聯網的發展歷程中,公司更名其實並不少見,但到了Facebook這個量級的公司徹底堅決的改名,也算是獨一份了。更為重要的是,不僅僅是元宇宙概念的影響,而是伴隨着這股彷彿勢不可擋的互聯網新概念的來臨,互聯網公司的改名頻繁度,也高了不少。
為什麼要改名?
不談Facebook,就説在全球範圍內同樣影響力極大的兩家公司:蘋果與Google,同樣經歷過大改名事件。

先是蘋果在2007年從美國蘋果電腦公司(Apple Computer Inc. )更名為蘋果公司,並開始不僅僅侷限於電腦,從智能手機、手錶、系統等方面全面發展。而Google也在2015年重組後將其公司改名為“Alphabet”,與旗下Google的搜索業務獨立開來,而Google則成為旗下全新的子公司。

不論是蘋果、谷歌甚至到Facebook,它們的改名本質上是原有公司名稱無法覆蓋公司多元業務後為了順應發展,同時提高品牌溢價的一種選擇。但相較於蘋果的前瞻改名,Google重組改名,但仍保留Google品牌,獨立搜索業務本身來説,Facebook改名“Meta”,明顯要玩的更大一點。
一是Facebook這個公司品牌17年未曾更改,留下的品牌印象和辨識度更為固定,二是Facebook本次的改名是整個公司的更改,同時也一定程度上是迎着元宇宙概念火熱的孤注一擲,它在用這樣的方式,想要搶先佔下元宇宙生態高地。

正是這樣大張旗鼓高調宣佈,讓Facebook成為了“元宇宙元年”裏,最受關注的互聯網公司之一。它的抉擇為人們帶來了無限遐想——一個互聯網頂尖公司對元宇宙概念的全力支持,它是否會意味着什麼呢?伴隨着這樣的遐想,全球範圍內“元宇宙”概念無疑更為火熱了。
光看國內,隨着去年下半年元宇宙風浪的愈大,名稱含“元宇宙”的註冊企業數量激增,據企查查數據顯示, 截至2021年底國內已有1692家公司共申請了1.14萬個元宇宙商標,其中99.9%的商標均於2021年申請。在Facebook決定“All in Metaverse”並於10月底宣佈改名“Meta”後,其國內“元宇宙”公司的註冊數量也迎來大增長,其中11月的註冊數量達到了全年的三分之一。同時在隨後的幾個月中,申請將自己公司名稱改為“元宇宙”相關名字的公司也迎來激增。而去申請元宇宙相關商標,相關冠名概念版權的互聯網公司更是數不勝數。

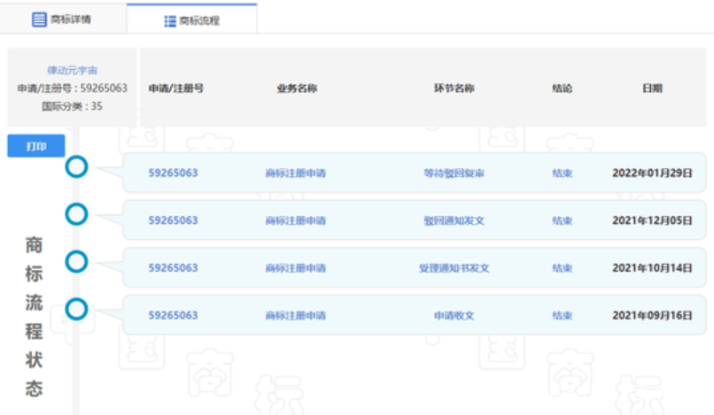
前不久,騰訊音樂娛樂科技有限公司申請多個“律動元宇宙”商標被駁回,商標申請時間顯示為2021年9月。但即使這部分“元宇宙”商標被駁回,騰訊也仍還有着佈局——其騰訊科技有限公司申請註冊的qq元宇宙、天美元宇宙、王者元宇宙等商標狀態仍在申請中。

而其他的互聯網大廠和遊戲廠商——網易、字節跳動、阿里巴巴、小米、盛趣、米哈遊、完美世界……同樣在不斷入局元宇宙。
全球頂尖公司的All in,互聯網前沿公司的大手筆入局,都加快了元宇宙概念的席捲而來,甚至如今在“元宇宙”還只是個概念時,Facebook就已經在用“改名”打響了其用户生態之戰。這樣的洪流之下,你很難不相信元宇宙就是下一個科技互聯網可能的新形態。
大洪流之下的連鎖效應
首先在強調更多互聯網公司元宇宙佈局及元宇宙新品牌的創立之外,我們先來説一則看起來與元宇宙無關的消息——知名數據分析機構App Annie近日宣佈改名data.ai,定位是“由AI賦能的聚合數據”,宣稱是第一家由人工智能驅動,將消費者與市場數據相聚合,併產生數據洞察、促進數字化發展的公司。

在這則改名消息中,其實主要提到的關鍵詞是“AI”,強調的是AppAnnie技術上往人工智能驅動的徹底傾斜。同時創建於2010年,在智能手機崛起時代以App即手機軟件來命名的AppAnnie,也將不再侷限於移動互聯網。
2012年馬化騰在知乎提問“整個人類處於互聯網發展的哪個階段?下一個十年,互聯網升級的大致方向在哪裏?”彼時所處的時間,正是移動互聯網時代的進入,4G網絡大規模鋪設的來臨,也為接下來手機遊戲市場的爆發鋪墊了技術基礎。

而隨着移動互聯網時代的高速發展,智能手機市場紅利的天花板觸頂,手遊市場同樣開始飽和後,2018年馬化騰又於知乎發問“未來十年哪些基礎科學突破會影響互聯網科技產業?產業互聯網和消費互聯網融合創新,會帶來哪些改變?”。目前該問題下已經有了超3300個回答,但並沒有人能肯定與絕對地進行預測。

在移動互聯網時代發展久未迎來質變的現在,對於未來的新互聯網形態,每個人都眾説紛紜,而“元宇宙”就是在這個轉折期裏提出來的,被一眾科技互聯網公司與大佬們最看好的未來形態之一。
同時元宇宙的強包容性也決定了各領域公司對其的趨之若鶩,即使是AppAnnie宣佈改名的關鍵詞AI,同樣是“元宇宙”概念實現裏的重要一環。在虛擬世界的新龐大數據和新經濟系統要交給怎樣的對象來負責和架構與建設?大部分人都將目光投向了AI領域,這也是不少元宇宙項目及公司選擇的技術開發方向。

在瞬息萬變的互聯網時代裏,不少行業人士都贊同身處這個行業內要時刻保持危機感與焦慮的觀點,只有這樣才能永遠探索走在前端,做造浪與追浪者,不被浪潮所拋下。也因此你經常能看見互聯網公司對各種新概念的熱衷,即使不少概念是當前技術下無法實現的。
從各個互聯網公司成立元宇宙項目,Facebook改名“Meta”,米哈遊成立新品牌“HoYoverse”甚至到AppAnnie改名“data.ai”,騰訊註冊各種“XX元宇宙”商標,本質上都是在搶佔科技互聯網下一個新形態的生態高地,在技術實現前先奪得用户生態先機。
“元宇宙”的概念什麼時候能真正實現?沒有人知道。但這個被眾人看好的科技互聯網未來形態的行業戰爭,已經打響了。