王洪棟入中信 重回銀行業能否再造“招商奇蹟”_風聞
金融人事plus-金融人事plus官方账号-2022-03-22 09:57
近日,銀行人事獨家獲悉,出身於銀行體系的資管專家王洪棟又回到了老本行,入職中信銀行財富管理部,任總經理。
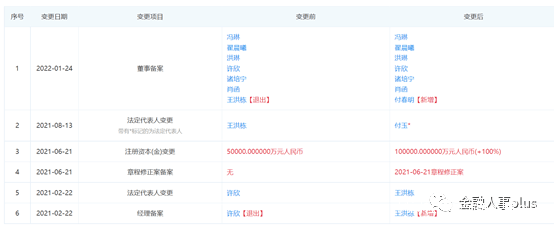
2022年1月24日,天風(上海)證券資產管理有限公司發生工商變更,高管中王洪棟卸任董事一職,由付春明接任。

天風(上海)證券資產管理有限公司成立於2020年8月24日,註冊資本10億人民幣,該公司為天風證券(601162)全資子公司。其實,相關數據顯示,早在2021年8月,王洪棟就已經不再是天風資管的法定代表人了,他的去向也在業內備受關注。

王洪棟,生於1977年,金融學博士,曾擔任招商銀行北京分行同業金融部總經理,招商銀行總行財富管理部副總經理,天風證券股份有限公司零售業務總部總監、副總裁,天風資管負責人等。
轉換跑道不易 資管老將回歸銀行業
王洪棟曾在招商銀行任職長達15年之久。
公開信息顯示,王洪棟於2004年加入招商銀行,歷任北京分行零售銀行部財富管理業務分管總經理、同業金融總部總裁。2015年,他進入招商銀行總行,擔任財富管理部總經理助理、副總經理。
在招商銀行總部任職期間,王洪棟具體負責財富管理業務戰略制定、產品研究、營銷管理等工作,對各類財富管理產品及客户經營均有深入研究,並對財富管理各類產品均作過創新研究。也正是這段時間,招行公募基金銷售一舉成為行業內第一,超越其他國有銀行及其他渠道,並且收入和客户數量連續三年增長。
2019年10月27日,王洪棟取得證券從業資格證書,所在單位顯示為天風證券。王洪棟的跳槽頗受業內關注,畢竟,在招商銀行的王洪棟彼時是國內銀行業財富管理領域改革的代表任務,轉投券商所代表的行業風向也令業內猜測不已。天風證券將藉助他的經驗推進財富管理轉型,頗令人期待。
2020年4月3日,天風證券第三屆董事會第二十九次會議,全票通過《關於聘任公司副總裁的議案》。時任副總裁劉翔先生因個人原因辭職,由王洪棟繼任。任職期限自決議通過之日起,至第三屆董事會屆滿之日止(2021年4月17日)。
幾乎同一時間,天風證券公佈了內部組織架構調整,即設立零售業務總部業務管理中心;零售業務總部運營管理部機構經紀業務部由二級部門調整為一級部門,並更名為零售業務總部機構業務管理部。
當時看來,無論是天風證券還是王洪棟本人,都將大幹一番。但,半年後,業內就開始流傳王洪棟即將離開天風證券,他的繼任者也很快就位了。2020年11月,天風證券分管財富管理業務副總裁發生變化,原副總裁王洪棟不再分管該項業務,副總裁一職將由新華基金總經理、原恆泰證券副總經理劉全勝接任。
王洪棟並未像外界猜測的那樣離開天風體系,而是去了天風證券全資子公司——天風資管。2020年8月,天風資管剛開業時,王洪棟曾以天風資管副董事長兼總經理表示:“2021年是天風資管作為子公司的開局年,不破局,就出局。”並在行動上致力於券商薪資管領域的發展。
2021年上半年,天風資管實現營業收入2.80億元,資產管理業務淨收入排名第14位,截至報告期末天風資管資產管理業務受託客户資金規模為1,283.80億元。
近日,中證協發佈證券公司2021年度經營數據。數據顯示,2021年全行業140家證券公司實現營業收入5024.10億元,實現淨利潤1911.19億元,分別同比增長12.03%和21.32%。從主動管理規模前二十的排名變化來看,平安證券、五礦證券、國金證券、國聯證券在2021年四季度進入前二十,而天風證券和長江證券、國海證券、華融證券則掉出了前二十。
很多人猜測,銀行業專家轉型到券商,是不是有些水土不服?
王洪棟和中信銀行的財富管理大時代
入職中信,無論對中信銀行還是王洪棟本人都是不錯的選擇。
王洪棟曾任招商銀行財富管理總部負責人,操盤招商銀行財富管理體系建設,推出國內銀行業第一家智能投顧服務摩羯智投,公募基金銷售一舉拔得頭籌,銀保業務躋身行業前三甲,是銀行業財富管理轉型的領軍人物。
提到這一點,王洪棟無疑是這個領域最優秀的專家之一,他認為,“財富管理重塑的不是一種盈利模式,而是客户關係。這句話的本質意思是,不要把財富管理理解成一種變現方式,否則就一定會變成不以客户為中心。”這和中信銀行在財富管理方面的理念是十分切合的。
早在2020年,中信集團已明確提出“打造集團統一的財富管理品牌,提高集團在財富管理領域的綜合競爭力”;中信銀行也將加強戰略投入,計劃2023年將零售打造成為盈利第一大板塊。中信銀行認為,財富管理是包括銀行、保險、基金、信託等金融機構和第三方資產管理公司專注的藍海。
王洪棟還強調以客户視角貫穿財富管理全過程。“過去的部門機構是用職能部門來界定工作職責,界定相互的邊界。現在要變成客户視角的服務旅程,以服務旅程來整合工作組,衝破各個部門之間的職責邊界。最後把公司戰略、客户視角的服務旅程全部數字化。”他如此表示。
從2020年年報數字看,中信銀行零售業務營收佔比達41%,個人客户、私行客户、管理資產餘額、信貸餘額均提升至全國股份制銀行2-3名。客户基礎決定了銀行業務最重要的指標AUM(客户管理總資產),2020年,中信銀行零售AUM2.3萬億,排名同業第三。
本文來源:金融人事plus,原文標題:《王洪棟入中信 重回銀行業能否再造“招商奇蹟”》