新氧停止私有化,金星難尋退路?_風聞
子弹财经-子弹财经官方账号-子弹财经(zidancaijing)2022-11-29 10:40

出品 | 子彈財觀
作者 | 晴天
編輯 | 蛋總
美編 | 倩倩
“打敗你的不一定是同行,有可能是過路人。”這句話對互聯網醫美平台而言,同樣適用。
11月18日,互聯網醫美平台新氧發佈2022年Q3財報,今年第三季度公司實現營收3.233億元,同比下降25.07%;淨利潤230萬元,同比下降66%;平均月活躍用户數390萬,同比下降51%。
整體而言,新氧的業績明顯下行。用户的快速流失,更是公司面臨的最嚴重問題之一。
在垂直醫美領域處於領先地位的新氧,近年來,不斷面臨來自本地生活平台和社交平台的競爭。
除了本地生活服務龍頭美團的搶食,不斷加強本地服務業務扶持的抖音,也逐漸成為醫美用户流量的重要入口。雖然醫美並不是美團、抖音的核心業務,但基於強大的用户基本盤,對垂直醫美平台的分流已形成“降維打擊”。
2021年11月,新氧CEO金星發起私有化要約,計劃將新氧私有化、從美股退市,但是遲遲沒有新進展。今年10月底,新氧發佈公告,金星撤回私有化提案,新氧此輪退市流程終止。
多重壓力之下,昔日的“互聯網醫美第一股”新氧,將會走向何方?
1、四面楚歌財報數據顯示,從2021年至今,新氧月活躍用户量,處於快速下跌狀態,2021年第一季度至2022年第三季度,新氧移動端平均月活躍用户分別為840萬、1000萬、800萬、740萬、440萬、350萬和390萬。

新氧月活躍用户量在2021年第二季度達到峯值1000萬,此後一路下跌。2022年第三季度,較2021年第二季度已經跌去61%,僅為390萬。
作為互聯網平台,用户量是平台發展的基礎。雖然目前移動互聯網流量見頂已是事實,但新氧的活躍用户量卻跌回2019年的水平。
新氧活躍用户量的大幅下降,既有內因,也有外因。
從公司自身來看,活躍用户量主要依託於新氧平台,以及微博、微信、視頻平台等新媒體矩陣。依靠內容吸引大量用户,再進行商業變現,是互聯網平台常用的運營策略,新氧也是如此。
不過,新氧在內容運營上屢現“事故”,必然會對其用户的長期增長和忠誠度帶來影響。
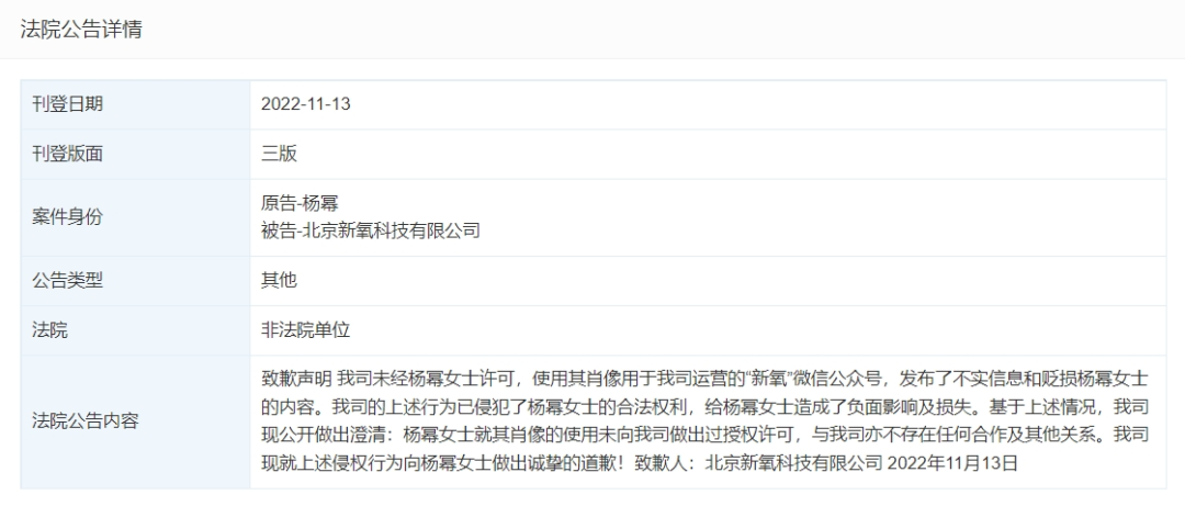
天眼查顯示,今年11月13日,新氧作為被告刊登致歉聲明,因未經楊冪許可,使用其肖像用於“新氧”微信公眾號發佈了不實信息和貶損楊冪的內容,從而向楊冪致歉。

(圖 / 天眼查)
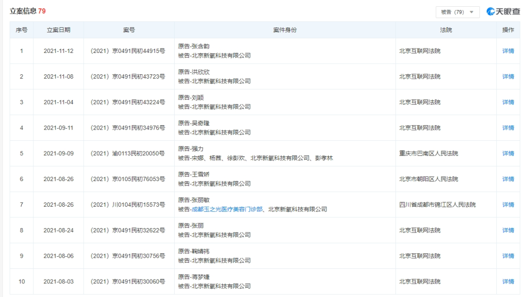
這只是新氧與眾多明星網絡侵權糾紛的案例之一。天眼查顯示,2017年1月至2021年11月,共有79條以新氧為被告的網絡侵權立案信息,原告包括張含韻、吳奇隆、鞠婧禕等。

(圖 / 天眼查)
以明星為噱頭來發布內容吸引用户,這條路顯然已經被證明走不通。
2021年11月之後,新氧沒有再新增相關立案數據,其微信公眾號與明星相關的內容也急劇減少,但通過財報數據可以看到,從2022年第一季度開始,新氧活躍用户量也出現了斷崖式下降。
實際上,新氧用户量的增長也極依賴營銷投入。根據財報數據,2022年第三季度,新氧銷售費用1.248億元,同比減少34.6%。2022年一、二季度,銷售費用分別同比下降了41.1%、47.5%。
新氧調整內容策略以及投放策略,進一步影響了活躍用户量。與此同時,一直以來的強敵美團醫美,以及正在崛起的抖音、小紅書等,也成為搶奪醫美用户流量的重要競爭對手。
雖然抖音平台對醫美信息嚴監管,目前運營策略不明朗,但基於強大的用户基礎,加上平台流量向本地生活服務傾斜,抖音正在成為醫美線上流量的重要入口。
某醫美運營負責人對「子彈財觀」表示,就他所瞭解的情況,目前抖音醫美所佔份額與新氧差距已經不大。
內外壓力之下,新氧平台的交易能力也大幅下降,根據財報數據,2021年第一季度至2022年第三季度,新氧平台促成的醫美服務交易額分別為8.8億元、10.4億元、7.6億元、5.3億元、3.4億元、3.5億元和3.6億元。
實際上,無論是與明星的糾紛也好,還是之前被媒體質疑的容貌焦慮也好,這都反映了企業在經營理念上的決策,是不是真的把用户利益放在第一位,是不是追求長遠的發展而不是短期利益?而這也將最終反映到業績的變化以及競爭壁壘的構建上。
2、深入上游醫美行業的典型格局是上游集中度高、利潤豐厚,下游競爭激烈、投入高利潤低。隨着醫美市場逐漸轉向以輕醫美消費為主,作為下游獲客平台的新氧,還不斷面臨巨頭的“跨界打劫”和圍堵。
深入上游佈局、差異化競爭,是新氧在2021年開始做出的重要轉變。
2021年7月,新氧發佈公告,以7.91億元收購武漢奇致激光84.49%的股份,正式佈局醫美產業上游。
與此同時,新氧在業務上也不斷深入產業鏈進行佈局。根據公開信息,新氧的具體舉措包括推出自營業務新氧優享、發展醫美上游產品代理業務。

(圖 / 新氧優享小程序)
根據新氧優享小程序介紹,新氧優享是新氧推出的自營輕醫美服務平台,通過新氧集中採購直供到店,並提供全流程服務。
目前,新氧優享獲客渠道包括新氧自媒體賬號、新氧App、新氧優享自營旗艦店等。以新氧微信公眾號為例,主要通過發佈科普及體驗文章來為新氧優享微信羣導流,再引導用户到小程序下單。
消費者朱夏向「子彈財觀」講述了她在新氧優享的消費過程:下單成功後,她選好具體時間和醫美機構,當天現場有新氧優享工作人員接待,在這過程中,工作人員還會協助她進行超聲炮設備以及治療頭的掃碼驗真,並且也會對操作醫生資格信息進行查詢。
“雖然是在一家醫美機構裏做的超聲炮,但無論是超聲炮設備,還是幫我做治療的醫生,其實都不屬於這家機構,而是由新氧協調和安排的。當時,這家機構的諮詢師也有給我推薦其他項目,但我就是來做超聲炮的,所以並沒有買其他項目。”朱夏説。
整體而言,這種模式平台擁有主導權,可以保障正品設備和產品、正規醫生,朱夏還是願意繼續嘗試的。而且通過社羣團購下單,超聲炮全面部項目價格為7999元,比新氧平台上的很多醫美機構價格更低。
通過新氧優享自營旗艦店可以看到,其提供的醫美項目主要包括抗衰、補水、塑形三大類,價格從2499-20999元不等,並沒有低於2000元的項目。
通過自營模式可以提升品質保障和服務質量,通過產品自採、自媒體引流可以提升利潤率,不過整體來看,自營模式實質上只是借了線下醫美機構的“殼”,如何實現和醫美機構的利益共贏,避免既當裁判員又當運動員的衝突,這恐怕也是平台需要長遠考慮的問題。
在代理業務上,據公開信息,新氧代理了玻尿酸品牌愛拉斯提、抗衰提拉材料微拉美等。依託平台醫美機構資源以及用户教育優勢,新氧具備做醫美產品代理的優勢,不過目前國內獲批的玻尿酸產品已超過60款,玻尿酸市場的競爭已是紅海,要突圍並不容易。
微拉美作為抗衰微整形材料,需要結合面部小切口手術,並不是傳統意義上的輕醫美項目,風險也較輕醫美項目更高。
今年11月,澎湃新聞報道了李女士(化名)於今年1月免費體驗新氧平台微拉美面部提拉項目後,術後創面感染並取出部分線體的事件。
近日,有知情人向「子彈財觀」透露,新氧代理業務負責人金善花已於今年9月左右從新氧離職。是否因代理業務進展不順,現在還不可知。但據可靠消息,由於代理團隊的離職,微拉美代理業務已從新氧剝離。
3、停止私有化今年10月底,新氧發佈公告,CEO金星撤回私有化提案,新氧退市流程終止。
私有化提案的撤回,源於去年11月22日,金星發起私有化要約,擬以每股美國存托股(ADS)5.3美元,即每股A類普通股6.89美元(每13股ADS相當於10股A類普通股)的現金,收購金星及其聯屬公司(買方集團)尚未擁有的新氧科技全部已發行A類普通股。
當時新氧前一日收盤價為4.32美元,市值為4.5億美元。若以5.3美元計算,金星給出的溢價為22.7%,公司作價為5.52億美元。
不過,金星發出私有化要約後,新氧私有化進程遲遲未有新進展,但在此後,出現了兩大變化:一是新氧股價持續下跌,二是隨着大國關係的演變,今年5月新氧被美國證監會(SEC)列入“預摘牌名單”。當時,“預摘牌名單”中概股數量更新至139家。
無論是股價下跌導致公司股價持續位於1美元以下,還是進入SEC“預摘牌名單”,最終的結果都可能導向退市。現在回過頭看,2021年11月發起私有化要約,對於金星而言顯然是一個“並不划算”的決定。
截至11月25日收盤,新氧股價為0.64美元,對比金星給出的私有化價格,溢價達到728%,這就不難理解為什麼金星要撤回私有化要約。
據美國股市相關規則,如果股價持續低於1美元達到6個月,上市公司將面臨退市。2022年7月,新氧收到了納斯達克發出的退市警示函,因公司的股票連續30個交易日收盤價低於1美元/股,獲得180天的合規期,以重新符合納斯達克上市規則。
截至2022年11月25日,新氧股價已經持續近3個月低於1美元。如果股價持續低迷,新氧有可能將在2023年3月面臨退市。

(圖 / 攝圖網,基於VRF協議)
“成熟的資本市場是非常殘酷的,小公司在美股市場沒有太大價值,新氧在美股已經沒有什麼機會了。但如果是去年的話,在A股市場還是有機會的。”一位奇致激光投資者對「子彈財觀」表示。
他認為,新氧雖然業務沒有那麼好,但畢竟在垂直醫美平台裏面屬於前列,也有一些業績和利潤,有可能把資源轉化到上下游產業鏈上,從而在A股尋找其他的資本路徑。“不僅僅是新氧,去年有一批公司都是這麼做的,就是把一部分業務剝離出來,放到A股的殼裏。”
在他看來,新氧在去年控股新三板公司武漢奇致激光,給後期在國內市場的資本運作提供了可能,但是隨着2021年下半年以來國內醫美市場格局的轉變,繼續尋求在國內市場的資本運作,已經變得異常困難。
“現在醫美行業在國內資本市場已經不那麼受歡迎了,加上公司業績也並沒有太大起色,在我看來,這個機會其實已經沒有了。”該投資人表示。
2021年以來,有關部門出台一系列醫美行業監管政策,加上經濟環境的變化以及疫情影響,A股醫美上市公司股價和市值出現大幅下跌。
以愛美客、華熙生物為例,2021年2月愛美客股價最高達1232.03元/股,截至11月28日為457.87元/股;華熙生物2021年7月股價最高307元/股,目前則是106.21元/股。
如果A股沒有機會,港股是否是一個好選擇?
“假設新氧此後從美股退市,再尋求上市的話,A股會比較難,也要考慮國家對醫美行業的政策性問題。從目前公司的結構來看,H股可能更合適。”券商分析師王宇對「子彈財觀」説。
不過,在上述奇致激光投資人看來,去港股意義不大,“本來港股市盈率就很低,新氧無論是業績還是商業模式都沒有那麼好,到港股不會有多高的估值。”
今年11月,重組膠原蛋白領軍企業鉅子生物港股上市,其2021年營收15.52億元,淨利潤8.28億元,淨利率達到53.3%。A股上市公司愛美客上述數據分別為14.4億元、9.5億元和66.12%。
可見鉅子生物營收規模高於愛美客,淨利率相比愛美客雖略有遜色,但依然秒殺國內絕大部分上市公司,也高於茅台2021年的淨利率52.47%。儘管如此,截至11月28日,鉅子生物港股市盈率約25倍,遠遠低於愛美客(79倍)和華熙生物(56倍)。
“現在無論是上A股還是港股,難度都挺大的,也許這才是金星收回私有化要約的真正原因,在這種情況下,要找私有化的投資人也更難了。”上述奇致激光投資人説,“其實在哪個資本市場沒有那麼重要,關鍵還是要業務強。業務強就有機會,業務不強就沒有機會。”
*注:文中朱夏、王宇為化名。文中題圖來自:視覺中國,基於RF協議。