科工力量:“消失”兩年:中國率先發現的千金藤素離新冠藥還有多遠?
【文/清檸】
前言
“沒想到大家反應會這麼大。”
就讀於北京化工大學(後文簡稱“北化”)的徐正(化名)對於“千金藤素”帶來的轟動並不理解。在他眼裏,上一次母校出名還是校長嚴肅地表達科研的艱辛。學校這次能在千金藤素的開發上申請專利,也只是學術上的簡單落地。媒體上針對“千金藤素”的後續討論,更是超過了他的想象。
5月13日,微信公眾號“北京化工大學”轉載《科技日報》頭版報道:該校生命科學與技術學院童貽剛教授團隊發現新冠治療新藥千金藤素,並獲得發明專利授權。專利説明顯示,10uM(微摩爾/升)的千金藤素抑制冠狀病毒複製的倍數為15393倍。
這篇文章不但引發了媒體的關注,也引發了投資市場的震動:包括華北製藥,步長製藥,千金藥業和生物谷在內的一種企業,短時間內均迎來了股價暴漲。這些企業中,帶有“千金”兩字的千金藥業不得不發出聲明,表示公司業務與千金藤素無關,一度讓人哭笑不得。
但是在徐正看來,媒體的關注,並不會推動千金藤素的後續開發。
“童院長很辛苦,需要的是企業對接和合作,而不是幾家媒體的採訪。”
01 “老藥新用”,學術認可
千金藤素的新發現,實際是童貽剛團隊“老藥新用”項目的結果。早在1934年,日本藥學家藤平三郎就從頭花千金藤中提取出了千金藤素。這款藥物最早用於結核病治療,但是效果並不理想。不過在後續的藥物試驗中,研究人員發現,這款藥物可以促進骨髓組織增生,升高白細胞,適合治療白細胞減少症。在後來的應用中,千金藤素也就成為了一個輔助藥物,治療腫瘤放療和化療引發的白細胞下降。徐正表示,童貽剛團隊對千金藤素的開發源於2020年。“一開始是科技部有病毒溯源項目,童院的團隊參與攻關。他們發現的是穿山甲冠狀病毒,跟新冠病毒長得比較像,而且不傳染人。所以就在這個病毒的基礎上,篩選有效的化合物開發藥品。”童貽剛也在5月16日的媒體直播中表示,當時篩選出的穿山甲冠狀病毒xCoV,與新冠病毒的刺突糖蛋白(S蛋白)同源性高達92.5%,而且與新冠病毒感染細胞的受體相同,作為研究樣本最合適。他們通過將這類冠狀病毒跟2406種臨牀批准藥物對比後,篩選出了千金藤素、塞拉菌素和鹽酸甲氟喹這三種有效化合物。

童貽剛團隊論文
2020年3月,童貽剛團隊發佈的論文線上發佈於《中華醫學雜誌》。一個月之後,日本國立傳染病研究所脅田隆字團隊引用了他們的結果,將千金藤素與奈非那韋進行了聯用,發現在模擬靜脈給藥的情況下,兩者能夠“相輔相成”,增強藥效(單用後病毒RNA下降到原來的6%,聯用會下降到0.07%)。在此基礎上,美國芝加哥大學Drayman等人在Science發表論文,將多種藥物進行對照,發現在同樣的起效標準下,瑞德西韋需要使用0.72微摩爾,但是千金藤素僅需要0.1微摩爾。千金藤素顯然具有很大的開發潛力。

第一排左一為瑞德西韋,左二為千金藤素
徐正表示:“很多人表示千金藤素是在體外得到的結果,沒有參考價值。但是從過去的經驗看,千金藤素有很多的應用,不良反應主要是胃腸道反應。在不考慮臨牀試驗資源的前提下,風險實際上是可控的,至少還有討論的空間。”
也就是説,從學術角度看,千金藤素的開發一路順風。
02 臨牀開發,遲滯不前
但是從產業角度看,千金藤素的開發卻變成了“半路失蹤”。“千金藤素概念股”企業中,華北製藥曾在2020年與童貽剛課題組聯合招聘博士後,目標是針對新冠病毒藥物的合作研發。但是北化公佈的專利中,並沒有出現華北製藥。

有華北製藥研發人員向媒體表示,華北製藥和北化的課題審批未通過,未參與後續研究,因此錯過了千金藤素的開發。“我覺得很委屈,因為當時確實發現千金藤素很有效。”
徐正表示,童貽剛團隊申請專利,也不代表千金藤素能夠進入臨牀:“這次申請的專利是適應症專利,限制藥品的用途。但是從藥企的角度看,化合物的專利更重要。”
按照他的説法,企業掌握獨一無二的化合物專利,可以更好地藉助技術優勢盈利。但是千金藤素是非常成熟的老藥,既可以化學合成又可以從大自然提煉,沒有獨特優勢。企業就算花費大量的成本進行復雜的臨牀試驗,也會因為沒有市場優勢入不敷出。另一方面,證明藥物效果的臨牀試驗,僅靠學校也很難完成,因為試驗期間需要組織患者,完成審批,組織倫理委員會,這些成本單靠研發團隊也很難覆蓋。
千金藤素專利的另一個申請者範華昊教授坦言:“為什麼沒有上市推臨牀,因為沒有錢。千金藤素是老藥新用,雖有適應症專利,沒有化合物專利。企業都很謹慎,因此需要政府扶持引導。”

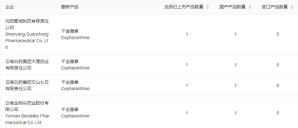
相比起國內企業的謹慎,國外企業的膽子似乎更大。2021年11月,加拿大藥物公司PharmaDrug與FDA完成了Pre-IND會議,推動改良版千金藤素藥物PD-001在輕中度COVID-19患者中的臨牀研究。根據PharmaDrug的規劃,他們正在申請FDA的加速審批,並在2022年下半年啓動臨牀研究。大洋彼岸關注的,則是千金藤素在資本市場上的風浪。在《科技日報》的報道之後,國內股市迅速出現了“千金藤素概念股”,這當中包括與童貽剛相關的華北製藥;名字中帶有“千金”二字的千金藥業;擁有千金藤素生產批文的生物谷和雲南製藥;以及步長製藥等企業。這些企業無一例外在5月16日達到了漲停,其中生物谷一家企業的漲幅就達到了30%。

國內擁有千金藤素生產批文的四家企業
但是去掉被“誤會”的華北製藥和千金藥業,我們就會發現,對企業而言,千金藤素都是已經停產的“老藥”:生物谷在2004年後未再繼續生產千金藤素片;雲南白藥僅僅擁有批文,近期並未生產千金藤素;步長製藥則是擁有千金藤素的專利,並未進行生產和銷售。面對企業的漲停,童貽剛在直播中顯得有些無奈:“資本市場的事情與我們無關,事實上在我們看來,目前國內買不到這個藥。幾乎所有企業只有生產批號,沒有在生產這個藥,沒有真正相關概念的企業。”
03 千金藤素,尚可飯否?
千金藤素面臨的最大壓力,在於臨牀試驗。
一款藥物的研發,不僅停留在“體外有效”,還要通過動物實驗,人體實驗驗證藥物的安全性和有效性。最終還要通過監管部門的審批。在持續不斷地篩選中,大量藥物都可能面臨失敗的結局。就算上述流程完全成功,也要花費數十年的時間和上億的臨牀實驗,新冠藥物的開發壓力則更大。
與從零開發的新冠藥物相比,千金藤素的開發壓力相對較小。可以更快地進行動物實驗和早期臨牀實驗。但是千金藤素依舊需要經過全球範圍內數千名患者的實驗,才能確定藥物是否有效。千金藤素能否順利通過試驗存在不確定性,而且就算通過實驗,藥效也會遭遇質疑。千金藤素在兩年內都沒能開展臨牀實驗,未來的前景自然就成了未知數。

圖為童貽剛教授團隊
就在千金藤素“離奇消失”,臨牀研究停滯期間,國內新冠藥物的開發已經全速推進。
臨牀研究方面,真實生物的阿茲夫定已經在中國、巴西、俄羅斯等地完成臨牀,部分地區結果已經報批。君實生物的VV116則在今年4月開展全球多中心III期臨牀研究。開拓藥業的普克魯胺也在今年4月公佈了III期臨牀的關鍵數據。

在這三家臨牀研究進度靠前的企業中,真實生物已經與華潤雙鶴和新華製藥在藥物生產,經銷開發領域簽署協議。君實生物也與旺山旺水合作進行後續開發。開拓藥業創始人童友之博士則表示,公司將積極推進主要國家的緊急用藥EUA許可。這一表態也意味着商業化進程的後續跟進。
就算去掉這三家企業,千金藤素遇到的壓力依舊不小:先聲藥業的SIM0417、歌禮制藥的ASC11、雲頂新耀的EDDC-2214以及眾生製藥的RAY003等產品都在進行臨牀研究的準備工作。如果千金藤素的臨牀進度依舊停滯不前,將會徹底告別商業化。
從藥物機理來看,千金藤素的起效機制,是抑制病毒S蛋白與細胞結合,相當於跟病毒正面作戰。但是目前進入臨牀的藥物是RNA聚合酶(RdRp)抑制劑和3CL蛋白酶(3CLpro)抑制劑。兩者在病毒的RNA和蛋白質複製階段起效,打擊的是病毒部隊的“大後方”。千金藤素如何應對奧密克戎這樣的新冠變異株,成為了一個新的問題。
針對公眾關注的臨牀試驗問題,童貽剛也解釋了自己遇到的困難:新冠疫情暴發初期,大概有200多個新冠藥同時上臨牀,團隊的資源和資金都不夠。另一方面,團隊的主要任務還是科研,後續依然要接洽合作單位開展藥物研發。
根據他的説法,“或許在2023年的時候該藥會有‘眉目’”。
身為北化學子的徐正,卻顯得有些失望:與其他科研院所相比,北化具有一定的科研實力。“但是不論是校長接受採訪,還是學校內部的宣傳,都是強調學校克服了多少困難,完成了多少項目。把科研項目對接社會,一直是學校的短板。這次千金藤素也是一樣的邏輯,雖然很努力,但是沒有在產業上有真正的產出,我不想看到學校錯過機會。”
他的疑慮,也展示了“千金藤素”事件的另一面:儘管國內院校推動了千金藤素的研發,但是面對臨牀實驗需要的大量成本,學術團隊心有餘力不足,需要社會力量的推動。然而在“老藥新用”和臨牀實驗的風險下,國內醫藥企業躊躇不定,很難下定決心投入資源,導致研究停滯不前。
千金藤素需要臨牀試驗證明自己,研發團隊卻無法證明千金藤素,二者似乎正在變成一個死結。
他表示,“一直以來,我們都很努力。但是努力是在學校説的,社會想要的是結果。”