雲南元謀發現迄今已知最早的長臂猿化石
None
9月27日,中科院昆明動物研究所網站發佈消息稱,中國西南(雲南元謀)新發現的小型猿類化石提供了已知最早長臂猿的證據。
長臂猿科現存20種,主要生活在中南半島的亞洲熱帶、亞熱帶地區,包括我國華南和東南亞。在我國境內現存僅4-6種。然而,此類化石稀少,多數發現於華南和東南亞不老於200萬年前的洞穴地點中。雲南元謀新發現的被命名為元謀小猿(Yuanmoupithecus xiaoyuan)的小型猿類,被科學家確定為迄今發現的最早的長臂猿。這一發現將長臂猿化石記錄向前推至距今7-8百萬年前。9月13日,中國科學院昆明動物研究所、美國紐約大學、中科院古脊椎動物與古人類研究所、雲南省文物考古研究所、中科院地質與地球物理研究所、雲南大學、楚雄州博物館和元謀人博物館合作完成的研究成果,發表在《人類進化》上。

元謀小猿生活場境復原圖,陳瑜繪圖
科研團隊詳細描述了收藏於雲南省文物考古研究所、元謀人博物館、昆明動物博物館的元謀小猿牙齒,以及新發現的不到兩歲的不完整的左下側面骨化石。研究發現,牙齒和麪骨的形態特徵與現生長臂猿尤其是冠長臂猿類相似,但有些特徵更原始,指示其可能為所有現生長臂猿的祖先。根據元謀小猿牙齒大小計算,元謀小猿與現生長臂猿的平均體重相近,約為6千克左右。

元謀小猿幼年上頜骨Infant maxilla_recompress
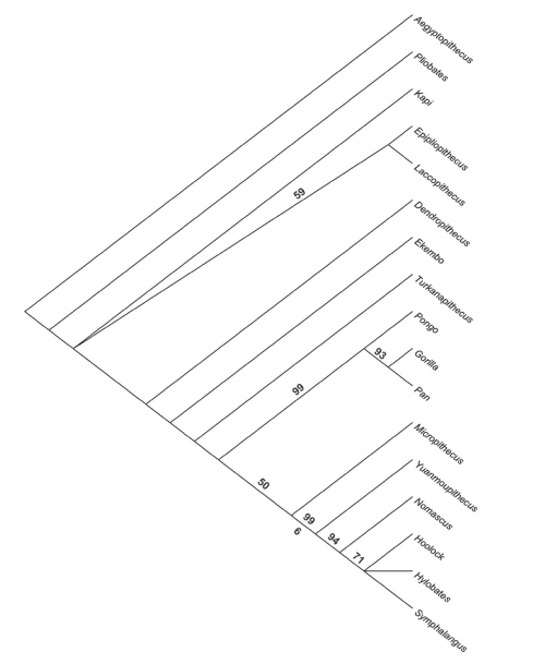
此前發現於印度中中新世(距今12.5-13.8百萬年)的一枚下第三臼齒(命名為Kapi ramnagarensis)被認為是更早的長臂猿,而研究團隊經過詳實的分析對比證實發現,其不是長臂猿,而是與現生猿類沒有密切關係的更原始的靈長類,或與印度晚中新世古猿有親緣關係。
該研究項目負責人、昆明動物所昆明動物博物館研究員吉學平,在一次野外調查中發現了元謀小猿幼年面骨這一關鍵標本。他多次到昆明動物所標本庫與現生長臂猿頭骨進行對比,確認標本屬於長臂猿類,併到古脊椎所開展高精度CT掃描。2018年,紐約大學人類進化中心教授Terry Harrison及其他合作者,對雲南省文物考古研究所和元謀人博物館過去30年來收藏的出自元謀的長臂猿牙齒標本開展研究,首次得知長臂猿祖先類羣面部特徵的信息。儘管元謀小猿標本稀少,但經過細緻的分析對比研究,最終可以證實元謀小猿是現生長臂猿的晚中新世時期的最可能的直接祖先。

元謀小猿MicroCT影像圖
Terry Harrison認為,元謀小猿的發現推進了此前不清晰的東亞小型猿類進化史的發展。遺傳學研究表明,長臂猿從人和猿共同祖先的支系分化出來的時間約是距今22-17百萬年,而冠長臂猿類祖先分化的時間約為距今8百萬年前。此次發現連同之前雲南昭通發現的金絲猴最早的祖先-——中猴化石的證據表明,分子證據與化石證據推斷的物種起源時間基本吻合,古生物形態學和分子生物學研究成果可以相互印證。然而,關於長臂猿科的演化,目前仍有1000多萬年的“缺環”有待發現。在華南和東南半島持續的野外科考或發現更多的長臂猿進化史的關鍵證據,尤其是6-2百萬年間的空白時段,這一時段也是古老型靈長類動物羣向現代型靈長類動物羣交替的關鍵時期。

元謀小猿的分支系統關係
研究工作得到國家自然科學基金、雲南省自然科學基金基礎研究重點項目、中科院戰略性先導科技專項(B類)等的支持。