蹭ChatGPT,漢王科技可能缺錢缺技術,但是絕不缺概念_風聞
陆玖商业评论-真相只能揭露,无法接近。02-13 08:20
在類似“ChatGPT”的AI新概念被推出之後,這些AI相關方向公司估值在短期會迎來一輪“例行”重估,但在新的一輪商業化受阻之後,“短期高估,長期低估”的常態,不會發生改變。

下週,ChatGPT概念股會繼續高歌猛進,還是偃旗息鼓?
這中間最瘋狂的莫過於7個漲停的漢王科技,這隻股票的命運會走向哪裏,它到底有沒有核心技術。
2月10日,漢王科技針對深交所的關注函作出回覆,公司股價也在當天回調超過5%。歷經7天漲停、9天熱炒之後,市場對這隻“ChatGPT概念龍頭”,似乎進入了賢者模式。
而在市場之外,漢王科技對於ChatGPT相關的NLP相關技術,開發支出最早出現在2021年,規模則不超過2200萬,至於項目到達可使用狀態的時間,則延期至2025年底。兩年的跳票時間,已經足以澆滅資本市場的熱情。
在相關人士看來,中國互聯網如果要做成 ChatGPT 同類產品,不外乎算法、算力、數據、產品、場景五大要素,更不用説研發與資金的長期投入。若從這個標準去要求在轉型路上掙扎的漢王科技,似乎有些強人所難。
漢王不是時間的朋友
十多年前,當手寫輸入的智能筆、數位板還是大齡高管剛需的時代,漢王科技也曾做過“小甜甜”。彼時的電腦手寫識別市場,七成份額由漢王科技佔據。
但這部分市場需求存在的前提是,用户缺乏輸入法基礎,需要另外的手寫設備來完成一次轉換。很顯然,當用户教育水平越高,市場萎縮的預期就變得肉眼可見。
正因如此,漢王科技開始了第一次戰略轉型。2009年推出的電紙書,讓漢王吃下了95%的市場份額。僅僅靠這樣一個明星單品,公司在2010年成功上市,營收也從2008年的不到3億元增至2010年的12.37億元。
初代iPad的上市時間,同樣是2010年。再過一兩年,亞馬遜的kindle亦緊隨其後上市。房間裏憑空刷出的兩頭大象,把剛剛IPO的漢王逼進了死角。2012年的財報數據顯示,漢王此前大熱的電紙書產品線,當年銷售收入僅餘6900萬元,漢王科技的第一次轉型之路就此胎死腹中。
2017年,公司把旗下業務調整成筆智能交互、文本大數據、AI終端、人臉識別。2022半年報數據顯示,筆智能交互佔據公司營收的63%,成了絕對的營收大頭,文本大數據和人臉識別、AI終端則分別佔據公司營收的13%、6%和14%。需要指出的是,所謂的筆智能交互業務,實際是漢王此前的數位板、智能筆輸入、軌跡等成熟業務合併而來。至於後面的文本大數據、AI終端、人臉識別,則是漢王“AI”屬性較強的業務。
在失去電紙書這一支柱業務之後,漢王並非無牌可打——由於此前在手寫輸入、人像識別與OCR字符識別領域有較長時間的技術積累,公司也被認為是國內較早的一批AI企業。但在近十年的戰略轉型過程中,除了原有的電紙書與觸控筆以及手寫識別業務,漢王科技似乎從未找到自己真正的方向。
如公司的人臉識別業務,2009年已經為公司創造營收,但始終未能成為主力業務。營收規模在最高時僅有1億,長期營收佔比不超過10%。
在研發項目上,公司同樣缺乏戰略定力。2019年財報顯示,公司投入研發的項目共有4個,其中臨牀大數據科研平台、電子卷宗智能生成校驗平台、電紙書全志新平台導入項目為當年立項。2020年,公司再次上馬4個新項目,2021年,集成公司NLP與OCR技術的新一代自然語言認知技術與文本大數據開放平台及應用系統立項,併成為此次熱炒的核心驅動因素之一。
但從項目週期來看,公司新項目持續時間並不長,如臨牀大數據科研平台和電子卷宗平台的開發時間僅有一年,客户導向與銷售導向極為明顯,除了在手寫識別、文檔掃描這類基本盤項目上能有技術積澱,以一年或者兩年為單位,很難把開發經驗轉化為公司的技術優勢。
類似的問題同樣在專利情況上有所體現。企查查數據顯示,漢王科技在2020年後,處於有效狀態的發明公佈與發明授權總共17個,但技術領域覆蓋了人臉識別、飛行器控制,嗅覺檢測、血壓檢測等領域,由此觀之,除了文本識別,漢王科技的研發在其他業務領域並未有太多突破性成果,一直宣傳的轉型,也轉了個寂寞。
做ChatGPT,漢王的錢夠嗎?
做ChatGPT真的很燒錢。
據美國《財富》雜誌報道,ChatGPT母公司OpenAI預計2022年總收入為3600萬美元。但本年度公司成本就燒掉了5億多美元,其中舊金山辦公室擁有375名機器學習領域的專家,光是這部分人才的開支,一年就是2億美元。
如果與漢王科技進行對比,2021年報顯示,公司實現營收16.13億元人民幣,其中用於項目開發的研發費用水平在1.83億元,佔公司總營收11.3%。漢王科技並非科創板公司,超過10%的佔比並不算低,但相對於“ChatGPT”這類高投入模型來説,仍然是杯水車薪。
人員開支只是固定投入。36氪數據顯示,對於ChatGPT這類模型來説,一次系統性的訓練可能就要花費數十萬美元,而且實際情況中可能的數據漂移,可能會導致數次重新訓練,成本又將成倍上升。據估算,OpenAI的模型訓練成本高達1200萬美元,GPT-3的單次訓練成本高達460萬美元。正因如此,機器學習和AI公司的毛利與其他領域的軟件公司相比,並不算高,其他公司的毛利可能在60%-80%,但機器學習公司的毛利可能只有50%-60%。
從毛利水平來説,漢王科技大部分時間都在50%的水平線上,但公司的淨利潤率只有2020年超過10%,常年在5%以下掙扎,且在近年來處於下降趨勢。加上原本並不算高的利潤水平,公司真正能加碼到技術研發上的資金寥寥無幾。
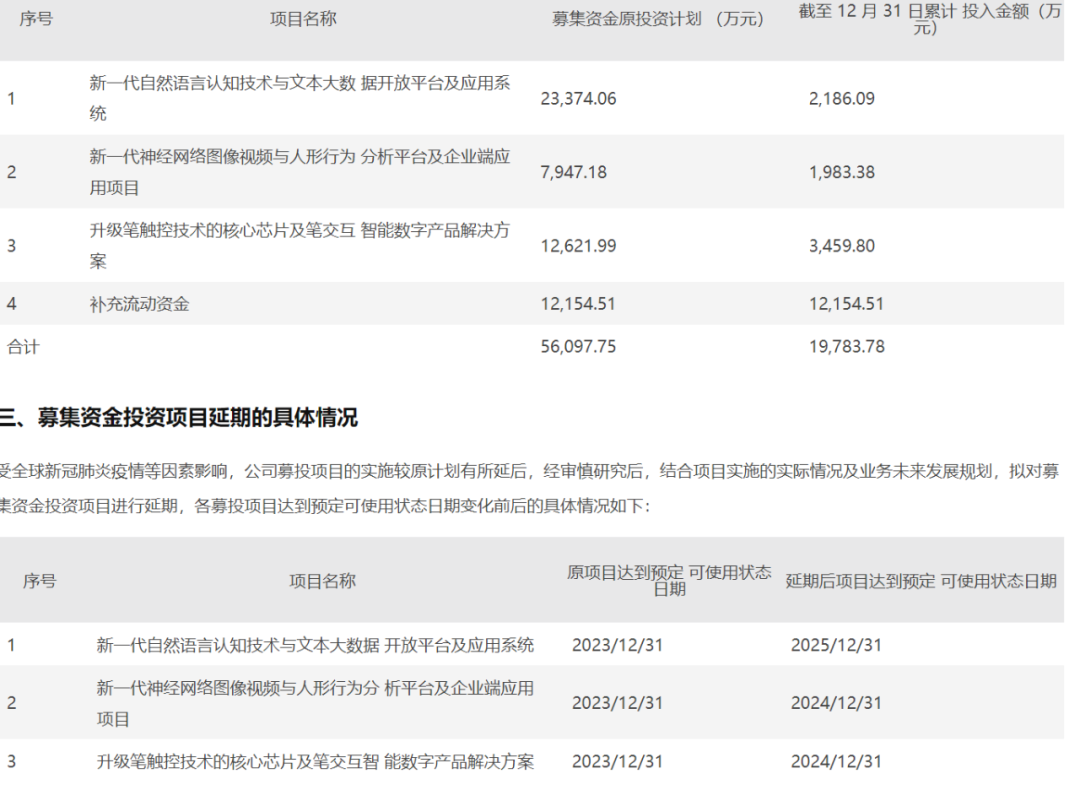
正因如此,在與ChatGPT相關的NLP和OCR相關項目上,漢王科技才需要進行定增融資。公告顯示,2020年5月13日,公司有過一次6億的定向增發,其中2.5億將會投入“新一代自然語言認知技術與文本大數據開放平台及應用系統”。2021年報顯示,在本年年初,前述項目期初餘額為0,可見是在2021年內項目啓動開發,該年投入金額為2108萬元。
但2022年1月的公告顯示,原定於2023年底達到預定可使用狀態的各個系統,都發生了不同程度的延期,前述NLP項目延期的時間最長。2.3億的預定資金歷經一年的使用,投入僅為2186萬,不到十分之一。如果扣除2021年度的投入,不難計算出這個所謂文本大數據平台在2022年度的投入僅為78萬元,開發力度急劇降低。

與之相對,在公司聲稱“佈局多年”的NLP及OCR技術領域,2020年後相關發明公佈只有兩個“文本行語種識別方法、裝置、電子設備”相關專利,且尚未通過實質審查,公司雖然身在“ChatGPT概念股”的快車,但技術底色顯然並不牢靠。
相比之下,百度僅僅在2022年Q3,研發投入就有58億元,核心研發費率8個季度超過20%,2021年全年研發投入超過221億元。不得不承認的另外一點是,僅指國內自然語言處理( NLP) 領域,百度是唯一一家擁有全棧 AI 技術架構的公司。
根據最新的關注函回覆,漢王科技也並未進行大型通用模型的研發與訓練的投入,雖然基於OCR、NLP 等核心技術研發相關產品。但多數集中於手寫識別、檔案識別等細分領域,與ChatGPT存在明顯差異。同時,2021 年及 2022 年上半年公司文本大數據業務佔總體營收比例分別為 15.24%、13.15%,離成為公司的主力業務同樣很遠。
一場讓人摸不清頭腦的大漲
在漢王科技自身看來,公司的主要競爭對手並不是已經有大模型的百度,而是像擁有NLP相關技術的科大訊飛等公司。
更新版的投資者關係回覆中,科大訊飛表示,ChatGPT主要涉及到自然語言處理相關技術,屬於認知智能領域的應用之一。在認知智能領域,科大訊飛面向行業開源的中文預訓練語言模型超過40個。具體應用上,科大訊飛選擇將其集成至AI學習機終端,最早在今年5月進行產品級發佈。
同時,在正式官宣將在3月上線百度版ChatGPT“文心一言”後,百度創始人李彥宏在2月9日表示,無論是AIGC還是ChatGPT,都是AI發展到一定階段後新的機會。與微軟bing類似,“文心一言”發佈後,將會嵌入到百度主要的搜索服務之中。
上述互聯網大廠的動作,同樣印證了創道投資總經理步日欣的判斷,在他看來,ChatGPT商業化落地的場景,和別的AI技術,在商業邏輯上並沒有本質區別,肯定會成為一個底層的輔助工具,就像人臉識別一樣,作為賦能平台的一個功能而已,很難獨立衍生出新的商業模式。
同時,步日欣所在的一級市場,已經為“AI”概念交過太多學費,原因不外乎對想象空間的誤判,導致估值泡沫,進而導致投資損失,這在人臉識別、NLP、語音識別等領域都上演過。正因如此,相對二級市場的火熱,一級市場投資人對於“ChatGPT概念”的熱情,反而不算高漲。
在另一位科技投資人看來,無論何種技術創新,本質上還是要轉化成商業利潤。即便估值折現了未來現金流,但對於當下而言,業績仍然是重要驅動因素。目前的上市或未上市的AI公司,如商湯、依圖、曠視等等,無論是估值乏力抑或是上市受阻,業績乏力固然佔主要因素,還有的原因就是應用方向太窄。主要集中於圖像領域,在通用性上與ChatGPT存在差距。
這在某種意義上解釋了漢王科技目前面臨的困局。與百度、科大訊飛相比,漢王規模較小,資金實力較弱,不足以進行底層模型的開發,項目以客户導向的應用型產品為主。正是因為同樣的原因,即便公司在手寫文本識別、檔案數字化等領域有領先技術,但由於通用性較小,並不足以對百度、科大訊飛等公司進行正面對抗。
正因如此,在一個類似“ChatGPT”的AI新概念被推出之後,這些AI相關方向公司估值在短期會迎來一輪“例行”重估,但在新的一輪商業化受阻之後,“短期高估,長期低估”的常態,不會發生改變。
至於漢王這類“ChatGPT”概念股,一位資深二級市場交易員告訴陸玖商業評論,從監管風向來看,目前市場行情較為低迷,大盤刺激向上成為主旋律。
由於漢王本身盤子較小,漲停所需資金不多,對市場擾亂程度亦有限。針對“ChatGPT”這類題材的短期炒作,監管層除了關注函這類必要動作,主動出手干涉的概率並不算高。
在他看來,漢王科技被尋找新概念的遊資坐莊,並無太多懸念。只要題材有相關性,遊資就會蜂擁入場,與是否實際擁有業務無關,更與產業本身發展概率無關。正因如此,他對於漢王科技的走向也持有相當直接的判斷:
“等大家都明白什麼事的時候,擊鼓傳花的遊戲便會結束。”