去年315晚會曝光的企業都咋樣了?_風聞
三言财经-三言财经官方账号-03-14 20:17
出品|三言Pro
一年一度的315晚會將於明日播出,你還記得去年曝光了哪些問題嗎?
2022年315曝光了主播騙粉絲打賞、翡翠直播賣假、水軍操縱網絡口碑及搜索結果、騷擾電話等問題,曝光企業60家,也涉及到不少相關企業。
晚會播出後,相關監管部門也迅速採取措施,電商平台和線下商場超市也快速反應下架相關產品,也有不少相關企業作出回應。
那時隔一年,這些被曝光的企業現在怎麼樣了?
主播騙粉打賞涉事公司申請註銷
涉及多起勞動爭議
近10年,互聯網行業是315晚會曝光頻率最高的。
去年曝光的問題有:主播騙粉絲打賞、翡翠直播賣假、水軍操縱網絡口碑及搜索結果、軟件下載器陷阱等。
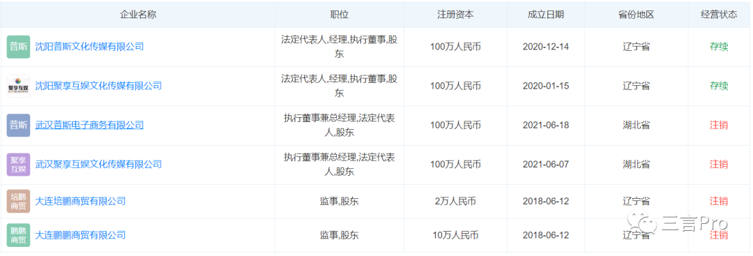
主播騙粉打賞被曝光了三家企業,晚會播出後,聚享互娛傳媒公司旗下直播間被封禁;華億播商貿有限公司涉案人員18人落網;瀋陽億泰傳媒公司所在市監局採取了行動。
據天眼查顯示,瀋陽聚享互娛文化傳媒有限公司在去年7月份已經申請決議解散,處於清算環節。
從去年7月份,聚享互娛就涉及到6起勞動爭議,估計與公司解散有關。
另外,聚享互娛官網已經打開。聚享互娛的法人張世傑旗下共有6家公司,值得注意的是,4家已經註銷,1家在註銷流程中,1家經營異常。

口碑刷帖涉及公司多家被處罰
有公司被列入失信名單、限制高消費
去年,口碑公司冒充真實用户自問自答誤導網民問題被曝光,涉及5家公司。
去年晚會曝光後,上海市場監管部門對深圳英邁思信息技術有限公司等涉事公司開展了調查,還約談了公司當事人。
據天眼查,深圳英邁思屬於深圳貝谷非融資性擔保有限公司企業集團的成員企業,法人都是陳學丹。
據瞭解,深圳貝谷非融資性擔保已經註銷。
此外,去年6月份,深圳市市場監督管理局網站公佈一則行政處罰。英邁思因虛假宣傳及組織幫助其他經營者虛假宣傳被市場監管部門處罰150萬元。

另一家涉事企業上海頂匠信息科技有限公司也在去年8月份被罰50萬元。10月份上海牛推信息科技有限公司被罰150萬,還因登記的住所無法聯繫被列入經營異常,又因未履行給付義務被列為失信公司、限制高消費企業,法人張志蘭也被限制高消費。
軟件下載站恢復服務
實測已經整改
軟件下載器捆綁軟件以及彈窗廣告去年被曝光,去年晚會後這些下載站曾關閉。其中,中關村在線ZOL軟件下載被罰3萬元。
三言發現這幾個下載站已經恢復服務,實測PC6下載站、騰牛網、ZOL軟件下載也沒有出現軟件捆綁和廣告的情況。

以前經常出現的“高速下載”的誘導字段換成了“本地下載”等,也不用再下載“高速下載器”,可以直接下載軟件本體。
去年,百助網絡科技有限公司被點名,上面這些下載站都使用了其旗下研發的下載器。
據報道,百助網絡的核心產品下載器在國內行業排名第一,與200多家下載站合作,每日觸達用户兩千萬,年營收超12億元。
去年被曝光後,百助網絡曾發佈聲明下架整改。

騷擾電話涉事企業
有上市公司股價大跌
還有企業註銷
看網站就能泄露手機號,隔天就是各種騷擾電話,去年一批提供類似服務的企業被曝光。
在晚會播出後,多地對相關企業進行了調查和處理,也有公司表示會積極整改。
被點名企業容聯七陌是上市企業容聯雲通訊旗下子公司。容聯雲2021年2月9日在美國紐交所上市,自稱為“中國SaaS企業赴美上市第一股”。
被315曝光後,容聯雲股價大跌,此後整體下行。容聯雲上市時最高股價59美元,目前僅為0.6元,較股價較高點已跌去99%,總市值僅剩1億美元。

天眼查顯示,容聯雲共經歷9輪融資。投資方包括紅杉中國、摯信資本、新的國際戰略投資方、綠洲資本、雲暉資本、藍藤資本、奇點資產、中國國新控股、Mirae Asset(未來資產)、CloudAlpha、新東方產業基金、國風投基金等。
杭州以漁信息技術有限公司因通過登記的住所或者經營場所無法聯繫被列入經營異常。
河南綠牽網絡科技有限公司去年3月15日也被列入經營異常,2022年8月份該公司已註銷。
翡翠直播售假多個涉事企業註銷
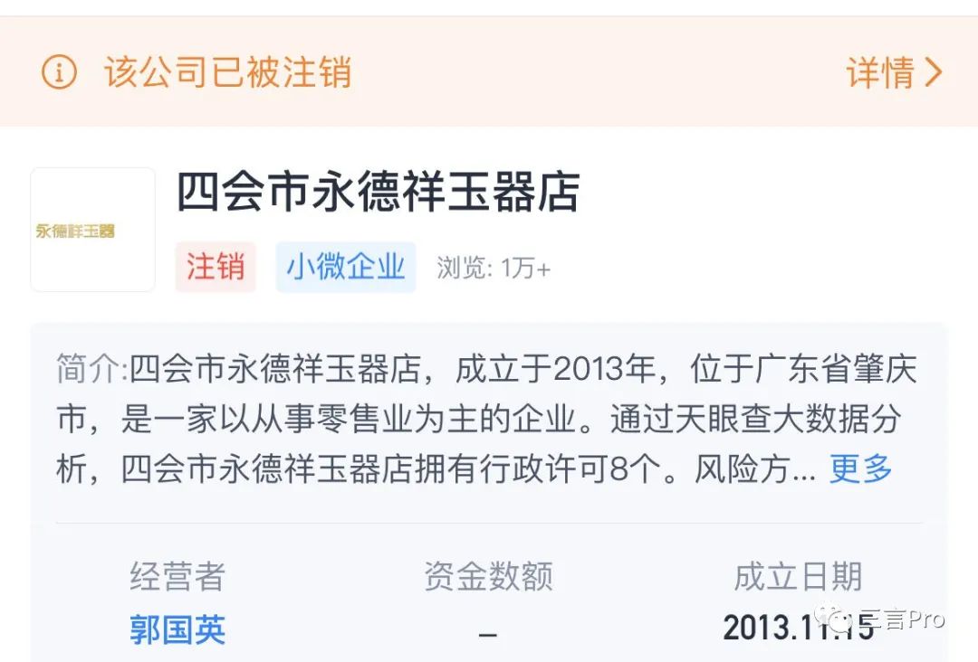
翡翠直播賣假亂象涉及永德祥玉器直播間、承澤翡翠直播間以及直播平台那火直播等。
天眼查顯示,涉事企業四會市永德祥玉器店、雲南承澤珠寶有限公司均已經註銷。


那火直播平台關聯企業是深圳市南越網絡科技有限公司。目前,該公司的官網已經無法打開。
土坑酸菜多家涉事企業被罰款
有的被吊銷生產許可證
有的則停產整改
除了互聯網行業,食品安全也是315曝光重要領域。
去年土坑酸菜刷新了很多人的認知,涉事企業更是行業知名酸菜企業。
插旗菜業是湖南省華容縣較大的蔬菜再加工企業,為多家知名企業代加工酸菜製品。
315晚會曝光後,電商平台迅速下架了老壇酸菜方便麪。統一、肯德基、康師傅等公司相繼發聲,或澄清與插旗菜業無合作,或是宣佈停止合作。
據報道,插旗菜業及相關負責人共被罰款548.8萬元。在責令整改並驗收合格後,於去年4月下旬逐步恢復生產。
另一涉事公司湖南錦瑞食品有限公司被湖南省岳陽市華容縣市場監督管理局給予停產的處罰,經整改驗收合格後,方可開展生產活動;錦瑞公司法定代表人楊立才和生產廠長孫志勇因未履行食品安全主體責任,被分別罰款100萬元。
岳陽市君山區的雅園醬菜廠、壇壇俏食品公司分別被罰55萬元、77.6萬元,並被吊銷生產許可證。海霞醬菜廠被罰109萬,五年內限制負責人裴某的食品生產經營從業資格。
醫美培訓亂象涉事企業
有的被罰120萬,吊銷營業執照
醫美培訓亂象涉及的多家企業。其中鄭州星美教育信息諮詢有限公司已經註銷。
安徽美希淑顏醫療美容有限公司去年晚會後便因登記場所無法聯繫被列入經營異常。
2022年9月,美希淑顏醫療美容更是受到了一份大罰單。該公司被合肥市市場監督管理局罰款120萬元,營業執照也被吊銷。

安徽柏美思醫療科技集團有限公司則被蚌埠市市場監督管理局處罰1.2萬元。
今年的3·15晚會主題已經發布,“用誠信之光照亮消費信心”,你認為哪些企業或行業會上榜?