低端化難去、門店壓力增,愛瑪難過兩重關_風聞
DoNews-04-17 15:30

撰文 | 曹雙濤
編輯 | 楊博丞
題圖 | IC Photo
日前,愛瑪發佈了2023年一季度業績預告。公告顯示,今年一季度歸屬於上市公司股東的淨利潤和歸屬於上市公司股東的扣除非經常性損益的淨利潤分別為47,775萬元和46,873萬元,分別同比增長50%和45%。
事實上,愛瑪一季度業績大增的背後,實則是由多方因素共同推動的結果。從國際市場來看,為加速本國能源結構轉型的步伐,全球多國紛紛“油換電”的利好政策。
印尼政府此前曾宣佈,2023年將向25萬輛電動摩托車的購買者發放每輛700萬印尼盾(約3200元人民幣)的補貼,其中20萬輛為新購置的電動摩托車、5萬輛為傳統燃油摩托車改裝為電動摩托車,而獲得政府補貼的電動摩托車必須是在印尼生產、國產零部件比例應在40%以上。印度則宣佈將電動兩輪車税率從12%降至5%。愛瑪作為國內兩輪電動車出海較早的企業之一,自然能享受到政策紅利。

圖源:中信證券研究部
從國內市場來看,一方面,來自安徽省合肥市的消費者王帥(化名)告訴DoNews,今年春節期間自己原本是打算購置一輛燃油車,但疫情三年重創了自己的收入,即使購置一輛落地十幾萬的燃油車,每個月的車貸也讓自己不得不慎重考慮。基於此,自己乾脆購置了一輛兩輪電動車,畢竟後續不用為了每個月的車貸而發愁。
事實上,王帥從原本汽車消費轉向為兩輪電動車消費的背後,正是當下國內不少普通民眾的真實寫照。雖然在剛剛過去的3月,地方政府和車企共同推動下,汽車行業掀起了一輪價格戰,但整體銷量相較於2021年、2022年同期,均出現不同程度的下滑。
汽車銷量不及預期的背後,固然汽車行業的價格戰存在各種套路有關,但這也能從側面説明當前普通民眾安全心態的失衡仍未能得到很好扭轉。

數據來源:乘聯會
另一方面,受制於大基建回暖程度不及預期,出口業訂單流失等因素,國內失業率有所攀升,許多失業人員迫於生計,也紛紛加入到外賣騎手大軍中。此前網絡平台流傳了一張“廣州騎手都招滿了,需要送錢託關係才能當騎手”的聊天截圖,引發社會熱議。
然而在愛瑪業績大增的背後,仍有多重問題待解。這些問題的存在,也讓愛瑪能否繼續保持後續業績的高增長,充滿了太多的不確定性因素。
01.低端化標籤難撕?
愛瑪作為國內較早進入兩輪電動車的品牌,長期以來不管是旗下的兩輪電動車還是電動車摩托車其ASP價格一直在2500元以下。雖説在過去的幾年時間中,愛瑪也不斷髮力高端品牌。以愛瑪造夢師為例,該款產品的最高時速可達到88KM/h,並配置72V/21.8Ah鉛酸電池,支持NFC等無鑰匙解鎖,電商平台售價在6999元以上。

圖源:愛瑪公告
但從目前的情況來看,愛瑪高端產品銷量卻極其慘淡。在京東愛瑪官方旗艦店中,2000元以下低端車型評論量在上千條。但在4000元以上的車型中,評論量卻不到20條。評論數量差距的背後,也能側面説明銷量上的反差。

圖源:京東
雖然目前線下品牌旗艦店/專賣店,以及線下電動車車行是消費者購買兩輪電動車的主要渠道,但來自山東省聊城市的愛瑪經銷商李偉(化名)告訴我們,同行在交流中發現很多消費者前來愛瑪店選擇的車型90%都在3000元以上,很少會有顧客購買愛瑪的高端車型。因此,很多經銷商門店的愛瑪高端車都是在吃土。

圖源:艾瑞諮詢
如李偉説言,據艾瑞諮詢發佈的相關數據顯示,愛瑪在4000元-4999元車型銷量不及雅迪,5000元以上車型已被九號、小牛電動車完全反超,7000元車型的市場份額更是僅有0.1%。

圖源:艾瑞諮詢
對於愛瑪高端車型難以賣動的原因,李偉也接着表示,雖然店內銷售人員會給到店的顧客介紹愛瑪高端車型有多少賣點,但很多消費者卻直言,你們愛瑪電動車怎麼越賣越貴啊,以前不都是一兩千的嗎?顯然,他們很難接受愛瑪的這一價格。
消費者之所以難以接受愛瑪的高端產品,其原因在於:參考諸多行業的經驗來看,一個行業內的低端產品往往意味着市場進入門檻相對較低。又加之,在過去的幾十年內,諸多行業的產業鏈已經形成,產品同質化必然極其嚴重。在這樣的一個市場中,“以價換量”、“重銷售、輕研發”往往是這些企業的通病。
以愛瑪為例,自2009年愛瑪以3000萬的價格簽約周杰倫後,目前愛瑪和周董已走過13年。2019年愛瑪簽約好萊塢明星、《速度與激情》主演範·迪塞爾為代言人。
簽約頂流代言人加之其他營銷費用的開支,也讓愛瑪在2019年到2021年的銷售費用分別為4.28億元、3.99億元和5.51億元,佔同期營收比例分別為4.11%、3.09%和3.58%。而在2022年上半年時的銷售費用則增加至2.74億元,同比增加13.34%。
雖説愛瑪的銷售費用和營業收入佔比低於雅迪和新日,但由於在過去的很多年間愛瑪一直沉迷於價格戰,消費者對愛瑪的品牌形象已經初步形成,並且鉅額營銷費用又在強化這一認知。如此一來,消費者也就養成了愛瑪等於中低端電動車的品牌心智,並且這種心智很難被改變,品牌也難以撕掉這一標籤。

圖源:各公司財報
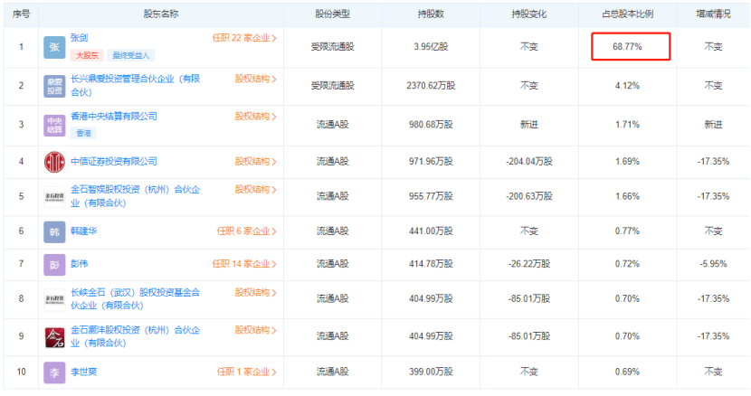
另據天眼查顯示,愛瑪科技創始人張劍目前在愛瑪科技中持股比例高達68.77%,這種股權高度集中的問題也讓愛瑪後續想要深入佈局高端品牌面臨着更大的壓力。

圖源:天眼查
一方面,家族企業掌權者如何達到家族利益和集團利益的相對平衡,是家族企業必須要直面的問題。而愛瑪所聚焦的中低端電動車,其毛利率一直維持在15%以下,和九號公司所專注的高端電動車毛利率有一定差距,並且隨着後續國內外電動車行業競爭激烈,市場環境改變,不排除愛瑪毛利率仍有繼續下降的可能。

圖源:wind
同時,高端兩輪電動車本身就需要企業投入鉅額的研發費用和人員,消費者才會為產品的高溢價而買單。一邊是公司利潤下降,一邊是高端產品短期內銷量慘淡,研發費用又在蠶食公司利潤,那麼此時張劍在家族利益和公司利益又會如何抉擇呢?是否會出現為保證家族利益,而減少高端產品的研發投入,甚至直接砍掉這一業務線呢?
另一方面,張劍本人持股過高,從另一切面來看就是張劍在愛瑪的日常管理上並不放權。但高端電動車的消費人羣有一部分為年輕人,而現年54歲的張劍又是否能夠真正洞察出年輕人的喜好呢?若是後續張劍對於愛瑪高端產品的戰略規劃失誤,這將會導致愛瑪的高端之路更加坎坷。
02.經銷商利益如何平衡?
事實上,支撐愛瑪在國內市場高銷量的背後,更多的是源於公司較為密集的經銷商網絡體系,但我們在安徽省阜陽市代為管轄多個縣級市走訪後卻發現,愛瑪的經銷商網絡體系正被愛瑪毀掉。
經銷商網絡過於密集,門店數量過多是當前愛瑪最為嚴重的問題。以阜陽市界首市為例,我們在走訪中發現,除當地的主城區有十幾家愛瑪門店外,甚至在鄉村中也能看到愛瑪門店的身影,兩家門店的直線距離居然不到1KM。

圖源:IC Photo
過密的經銷商網絡體系自然讓愛瑪經銷商之間互搶客源。比如同一款車型愛瑪經銷商有的報價1399元,有的則報價1450元,甚至有的經銷商直接喊到1350元,並且加贈類似於雨傘、雨衣等各種贈品。價格過亂的背後,背後透露出的卻是愛瑪經銷商們的無奈。
愛瑪經銷商呂浩(化名)告訴我們,一方面,雖然愛瑪電動車是根據實際情況實施區域保護政策的,但它並沒有明確一個鎮能有幾家經銷商,會根據鎮子的大小,覆蓋人口的多少來確定,但由於很多鄉鎮到鄉鎮、鄉鎮到縣城主城區的距離又很近,這就導致經銷商們的客羣高度重合,大家只能互相搶生意。
並且愛瑪在很多鄉鎮一級的經銷商門店是經銷商自己所有,他們無需像縣城經銷商那樣承擔過高的門店租金。門店成本的差異化,也讓經銷商們後續對於客源的搶奪更加白熱化。
另一方面,此前兩輪電動車行業新國標政策出台後所帶來的政策紅利早也消退,而現在縣城消費者對兩輪電動車的需求本身就不高,但這種情況下,愛瑪動不動殺價格戰更是讓經銷商利潤被嚴重壓縮,甚至有的車型一台利潤不到100元。無奈之下,很多的經銷商只能靠給客户維修電動車賺取微薄的利潤。因此,現在很多經銷商都不敢貿然大規模找愛瑪訂貨。
事實上,在和呂浩的交談中,也帶來我們新的思考。雖然蜜雪冰城也出現和愛瑪一樣門店過密的情況,但蜜雪冰城能依靠高復購來帶動加盟商門店業績,這也能拉動公司業績增長,但對於愛瑪電動車這種耐用品而言,本就不屬於高頻消費,如此過密的門店,導致經銷商互搶客源、價格混亂,對愛瑪來説,真的是一件好事嗎?
除此之外,當前經銷商們訂貨意願普遍降低,愛瑪又要如何消化現有的庫存呢?據愛瑪前期財報顯示,2021年的庫存商品由2020年的2.8億漲至4.4億,同比增長57%。電動自行車雖然銷量大幅提升,但庫存量卻增加了82%。
如此之高的庫存,愛瑪就要轉嫁到經銷商門店上,並且藉助價格戰來完成產能的出清,但這勢必會繼續蠶食經銷商們的利益,甚至有可能還會加深愛瑪和經銷商們的矛盾,進而衝擊公司的經銷商體系,影響到公司產品銷量。
03.多重壓力,何來輕鬆?
坦白來説,目前的愛瑪也走到了命運的十字路口。雖説目前海外市場能為愛瑪貢獻高銷量,但如同當年國內市場新國標政策出台將消費者需求提前透支,後續消費者對兩輪電動車的需求回落一樣,未來海外國家也會出現這些情況。並且隨着當前全球宏觀經濟的疲軟,海外形勢的不確定因素增強,愛瑪想要繼續靠海外市場獲得業績高增速,也並非易事。
除此之外,迴歸到兩輪電動車業務本身,愛瑪也不得不面臨兩個新問題。
一是後續兩輪電動車的智能化到底要怎麼走?兩輪電動車和汽車不同,汽車能依靠自動駕駛、智能座艙等項目成為賣點,進而提高產品的附加值,但目前國內消費者購買兩輪電動車仍是以上下班、接送孩子上下學為主。

圖源:艾瑞諮詢
類似於兩輪電動車智能化中的導航功能,消費者僅需購買一個普通的電動車支架,在配以手機中的導航功能,即可滿足導航需要,他們自然不願意為廠商所堆砌的功能買單。不僅僅是智能導航,語音交互也很少被消費者所使用。
並且在過去的幾年時間裏,廠商之間的智能化也高端趨同。比如説,曾經小牛電動引以為傲的特色技術如APP控制、衞星定位防盜技術、NFC解鎖技術,已經成為主流品牌中高端車型的常見配置。

圖源:浙商證券
智能化體驗高度同質化下,愛瑪又要如何發力才能找到消費者對兩輪電動車智能化的痛點,並且這一智能化還要比其他電動車品牌在功能上、體驗上做的更好,進而通過差異化來吸引消費者,這對愛瑪提出了更高的要求。
二是除智能化外,愛瑪接下來到底要靠什麼來吸引消費者?按照艾瑞諮詢此前的數據來看,電池以及續航仍為當前消費者購買兩輪電動車頗為關注的因素。但兩輪電動車的短距離出行,又決定了消費者並不會像新能源汽車那樣,有着頗高的充電焦慮。

圖源:艾瑞諮詢
並且對比雅迪和愛瑪高端車和電動車的續航里程來看,雅迪冠能3S9
Max大師版和E9 GT大師版的續航里程均能實現200km,但愛瑪指揮官卻僅有145.5KM,和雅迪相比仍有較高的差距。

圖源:中信證券
續航上的差異,讓愛瑪的市場份額遠遠不及雅迪。那麼,接下來愛瑪又要從雅迪手中搶走更多的市場份額呢?或許除了價格戰外,並沒有更好的答案。

圖源:共研網
04.結語
長期以來,國內兩輪電動車的銷售模型為依靠線下密集的經銷商門店,藉助多輪價格戰完成對其他品牌的擠兑,最終讓市場份額集中在頭部品牌身上,但這種銷售邏輯得以建立的基礎是市場上對兩輪電動車存在高需求。而如今市場環境的改變,也讓這一模型逐步被瓦解,那麼接下來國內兩輪電動車又要如何重建銷售模型呢?