成飛所的“牛刀小試”,請不要“大喜過望”_風聞
老陈哥2018-05-28 15:52
就在接近2023年5月底的時候,國家知識產權局發佈了中國航空工業集團公司成都飛機設計研究所於去年年底申請的一個實用新型專利,現在授權了,於是大家樂得“了不得了”,認為此專利大有趕超此前“殲20”之勢,而且此專利的發表之事帶來之喜也超過了C919的首次商業運行。
專利之事乃是本人的“本行”,自然對此更加“敏感”,於是對此進行了比普通“軍迷”更詳細一些的調研,得到的結論先説出來 —— 這也就僅僅是成飛所的 “灑灑水” 而已,與 “隱身”、“軍用”、“實戰”、亦或啥子 “成洛馬” 都沒得啥關係,用不着對此“激動得熱淚盈眶”。以下更詳細地説説。
在説專利內容之前,首先要説本專利。根據我國專利分類,專利可以分為發明、實用新型、外觀設計三種類型。而不同類型的專利,其所享受的法律待遇不同,審理過程也不同。本專利就是屬於一項實用新型專利。
以下是公開的本專利的著錄項目:
本專利類型:實用新型專利;申請日:2022年12月29日;專利權人:中國航空工業集團公司成都飛機設計研究所;授權公告日:2023年5月23日;實用新型專利名稱:一種雙發串聯垂直起降飛機。
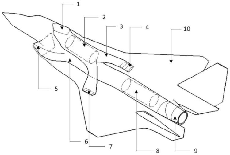
它的摘要與它的權利要求1內容很接近,也就是大家讀到的包括:“所述飛機包括機身、上進氣口、前發動機、分流流道、左噴口、右噴口、腹部進氣口、腹部進氣道、後發動機和尾噴口;
所述上進氣口設置在飛機背部,上進氣口尾部連接前發動機進氣口,前發動機尾部連接分流流道入口,分流流道一分為二呈“褲腿”狀,分流流道兩個出口分別連接左噴口和右噴口;左右矢量噴口分別設置在左右機翼根部下方;所述前發動機設置在座艙後方;
所述腹部進氣口設置在機身下顎,腹部進氣口通過腹部進氣道連接後發動機入口,後發動機尾部連接尾噴口;所述後發動機設置在機身後方;所述尾噴口設置在機身後部且位於兩垂尾之間。”
在權利要求1之後,還有權利要求2~7,這些權利要求都是直接或間接在權利要求1基礎上增加技術內容,我們稱它們為從屬權利要求,其中我覺得值得説一下的是權利要求2、3、4,分別如下:
權利要求2:所述左噴口和所述右噴口均為矢量噴口,左右噴口均設有多個“百葉窗”式擾流片。
權利要求3:所述左噴口和右噴口的“百葉窗”式擾流片可以飛機展向為軸旋轉;旋轉角度為豎直向下與水平向後之間的任意角度。
權利要求4:所述尾噴口為旋轉式矢量噴口,包括:多節首尾連接的連接管和噴口;
第一節入口連接管連接後發動機尾部,最後一節連接管出口連接噴口;
多節連接管之間的連接面與發動機軸線不垂直;各節連接管之間可相對旋轉。
以下是附圖的説明:圖1是一種雙發串聯垂直起降飛機示意圖

;圖2是一種雙發串聯的垂直起降飛機對稱面剖視圖

;圖3是左右矢量噴管噴口向下偏轉示意圖

;圖4是左右矢量噴管噴口向後偏轉示意圖

;圖5是尾部矢量噴口多節連接管旋轉方向示意圖

;圖6是尾部矢量噴口向下偏轉示意圖

。
按照我國軍工習慣,“好東西”一貫是不拿出來“露富”的,而現在申請專利了,申請類型還是保護期只有十年的實用新型專利,由此可見,成飛一定還有好東西藏着呢。順便説一下,本專利的專利權人是“成都飛機設計研究所”,不是“成飛公司”,兩家不一樣——是兩個法人,哪怕有再深入的交流,也是兩個單位。請大家搞清楚。這一點我很清楚,因為本人是瀋陽長大的,對瀋陽的研究所以及沈飛公司在哪裏都很清楚——有好些同學就是這兩個單位的子弟,都是好哥們、好朋友。照此推斷,成都的情況與瀋陽定無二致。
關於專利還需要説一下,我國專利當然不限制國防單位申請,也有國防專利。不過,真正達到國防專利的範疇,就不會這樣輕易給我們ABC們輕鬆閲覽了。所以,還是如我上一段所説,本實用新型專利,看看樂樂即可,好東西也許還沒拿出來呢,稍安勿躁。