中國車企有今天,全靠抄特斯拉專利?_風聞
知危-知危官方账号-10-09 20:18
2014 年 6 月 12 日,馬斯克發佈了一條博客:
《 我們所有的專利屬於你 》,宣佈開放特斯拉的所有專利。

沒有人能想到,現在它成為了中國新能源車企身上的魔咒。
那一年,特斯拉僅有 Model S 一款車量產銷售,全年銷量只有 31655 台,而燃油車巨頭豐田當時平均每月可以賣出 36 萬輛車。兩者相比,特斯拉弱得像一個胚胎。
傲慢的燃油巨頭們都沒有押注汽車行業的電動化變革,餘下的近十年裏,特斯拉逐漸成為了新能源汽車行業的佼佼者。2022 年全年,特斯拉賣出了 131 萬輛車,實現了大約 10 年 40 倍的增長。
縱觀全球,享受到汽車行業電動化變革機遇的除了特斯拉,還有一個十分重要的角色,它的名字叫:中國新能源車企。
2023 年 8 月 9 日,比亞迪第 500 萬輛新能源汽車下線,為了記錄這個歷史性的時刻,比亞迪做了一個名為 “ 在一起,才是中國汽車 ” 的傳播,比亞迪董事長兼總裁王傳福在下線活動現場幾度哽咽失聲:
“ 2003 年比亞迪帶着新能源的夢想進入汽車行業,20 年造車時間中比亞迪想做一道證明題,證明比亞迪可以!新能源汽車可以!中國汽車可以!”
但,實際上,在各個社交媒體平台,總是會出現一個觀點,把車企們批判一番:
“ 中國車企有今天,全靠特斯拉專利開放。”
這個觀點成為了籠罩在中國全體新能源車企頭上的魔咒,無論它們取得什麼樣的成就,這些成就都是 “ 偷來的 ”,它們都是 “ 小偷 ”。
這句話的出處無從考量,但似乎也並沒有人仔細探究這個觀點是否站得住腳,因為有些時候, “ 大家都説你偷了,那你必定是偷了 ”。
知危編輯部對這個觀點一直抱有疑問,於是帶着這個疑問找到了兄弟媒體《 差評 》旗下的汽車類內容專業團隊《 自主推進 》。我們系統梳理了特斯拉從 2014 年開始的所有專利,包括外觀、電池、熱管理還有充電站總計上千項,採訪了相關供應商技術人員、主機廠工程師、美國的專利律師,試圖從數據和技術的角度找出一個答案:
中國車企有今天,全靠抄特斯拉專利嗎?

首先,值得一提的是,根據新加坡諮詢公司 GreyB 的統計,特斯拉公司在全球擁有 3404 項專利。其中,仍然存續的專利為 2397 項,約佔 70 % 。
但,這些專利並不是全部開放。真正拿出來開放的只有 361 項專利。去掉重複與類似項,還剩下 222 項。這個數字相較超過 3000 項的特斯拉全球專利總量,着實不大。
在這真正有用的 222 項專利中,外觀設計專利佔到 9 項,技術發明專利佔到 213 項。
外觀專利方面,在中國新能源汽車外觀百花齊放的現在來看,有明顯的答案:肯定是沒得抄。
唯一有接近的地方是,現階段所有新能源汽車的設計都趨向於 “ 圓潤 ”,這個設計的趨同原因是廠商們要儘可能地降低風阻進而保證車輛的續航能力。
至於技術發明專利,我們將它們分為電池、電機、電控、整車製造、人機交互、充電樁,共五大領域。統計下來有電池 55 項,電機 9 項,電控 95 項,整車製造 43 項,人機交互 9 項,充電樁 2 項。

新能源汽車最重要的核心技術是三電系統:電池、電機、電控。
電池方面,從時間脈絡和技術路線上,特斯拉與國內企業並不存在交叉節點。
1991 年,索尼公司發明全球首款商業化鋰電池 —— 18650 圓柱電池。2008 年,特斯拉 Roadster 上市,搭載松下生產的近 7000 顆圓柱電池,當時大家普遍震驚於馬斯克居然將這種本用於筆記本電腦的電池用在汽車上:這人瘋了。

時間來到 2017 年,特斯拉與松下合作了 21700 圓柱電池並搭載於 Model3 中,採用 NCA + 少量摻硅負極方案,單體容量較 18650 電池提升約 50% 。2020 年 9 月,特斯拉在電池日發佈 46800 大圓柱電池,單體容量較 21700 電池提升 5 倍,但進程緩慢,幾乎難產。

特斯拉此時從研發到使用,全部都是圓柱電池。
反觀國內, 2008 年,比亞迪全球首款量產的 PHEV F3DM 在中國上市,這輛車使用的是方形電池。2011 年,華晨寶馬找到 ATL ,為純電動汽車之諾尋找電池製造商,研究方殼電池。2012 年,曾毓羣與黃世霖決定再進一步,將動力電池團隊從 ATL 逐漸獨立出去,成就了今天的 CATL ,也就是名聲如雷貫耳的 “ 寧王 ” 寧德時代,主要研究的也是方形電池。

一個是圓形,一個是方形,中國企業是不是換了個形狀其他照抄呢?
答案是否定的:電池電芯很特別,結構上第一步的不同,會導致後面所有的熱管理、成組形式都會不同。
相較於死磕圓柱電池的特斯拉,國內企業一直以方形電池為主要路線,比亞迪和寧德兩家佔據動力電池供應市場的半壁江上,至於圓柱形電池,2022 年圓柱電池在國內裝機佔比僅為 3.4% 。
一位資深動力電池行業工程師告訴我們,國內技術路線選擇方形電池,主要是出於能量密度以及電控穩定性的考慮。
當然,知危編輯部認為除了商業實用性考量,政府也成為了中國動力電池選擇方形電池技術路線的外部因素,因為新能源車行業發展初期,政府補貼政策傾向於高續航的新能源車,廠商們都在想盡辦法提高續航。
一輛標準續航的特斯拉 Model 3 會用到 2976 節 2170 電芯,分成 96 組進行裝車。我們所接觸的工程師認為,圓柱電池在成組後裝車,各個圓柱體之間會留出較多的空隙,難以實現空間能量密度的最大化。電池排列結構也不易於電池散熱片與電池的最大接觸,熱安全開發也有難度。

所以,國內大廠們不約而同搞起了單體容量大、外殼強度高、空間利用率好的方形電芯。
以比亞迪刀片電池為例,作為方形鋁殼電池的一種特殊形態,它將寬度做到僅 13.5 毫米,通過與軟包電池類似的疊片方式將正負極片、隔膜、電解液疊加在一起,充分利用了方形鋁殼的內部空間。這種加工方式雖然對工藝提出了更高要求,但同時收穫了更好的散熱、更優秀的穿刺安全性,以及更高的能量密度。

寧德時代方面,麒麟電池沿用了傳統的電極片卷繞工藝,搭配方形鋁殼模組。改進點是用上了大電芯、大模組,以及更大的水冷麪積,節省了大量零部件,還增強了電池安全性。
所以,別説是抄電池專利,技術上的參考也微乎其微。

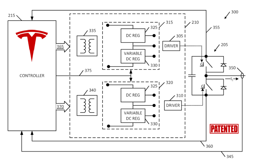
説完電池,我們再來聊開放專利列表裏那佔了一半以上的電機和電控專利。
我們先來看一下特斯拉開放的一些專利:
US 8441826 功率逆變器的快速開關專利。可以有效且低成本地解決電機上的電壓過載問題。通過邏輯優化,更快速地對驅動電流進行採樣,系統就有了更多的時間做出反應。
再比如 US7741750B1 提高扭矩密度的感應電機專利。升級後的異步感應電機在加減速性能上已經可以接近成本更高的永磁同步電機,減少了對永磁同步電機的依賴,進一步削減了整車成本。類似的專利還有 EP2388894A2 等等。

這些專利大多是在 2010 年之前申請,那時候的 Model S 還只是計劃,特斯拉唯一賣的還是以 Lotus Evora 為基礎的純電動跑車特斯拉 Roadster ,在 2011 年停售之前,也只賣了 2250 台。
所以,這些專利算不上先進,更談不上成熟。
如果真有車企想照抄襲特斯拉的電驅系統,那這家車企可能早已經被淘汰了。
我們瞭解到,現在能活下去主機廠( 行業裏通常稱汽車生產企業為主機廠 ),更傾向於採購扁線、定轉子、電機控制模塊,自己研發電機,同時打造屬於自己平台的電驅電控動系統與之匹配。
國內的大廠,單是在驅動車輛行走這一件事上,就卷出了多合一的電驅動系統,做出包含電機、電機控制器( 電控 )、減速器和逆變器在內的汽車電驅動系統,是很困難、或者説很有門檻的一件事。
比如,2021 年,比亞迪的 e3.0 平台上正式推出八合一電動力總成。將電機、電機控制器、變速器、 PDU 、 DC-DC 、 OBC 、 VCU 、 BMS 高度集成。系統佔用空間更小,重量更輕。整體性能較上一代功率密度提升 20% ,整機重量和體積分別降低 15% 、 20% ,系統綜合效率達到 89% ,支持 400 V 中壓和 800 V 高壓。

我們以 BMS( 電池管理系統 )為例,某外資頭部半導體公司的技術人員告訴我們,電池管理系統 BMS 針對不同的車型、配備不一樣的電池, BMS 的設計也肯定是完全不同的。這是因為在設計和開發 BMS 時,工程師需要充分考慮眾多變量,包括電池技術、車輛類型、性能需求和安全要求等方面的差異。
例如,不同車型搭載的電池組數量,不同電池組內裝載的電芯數量、甚至是不同車體結構導致的散熱佈局區別,都會對 BMS 標定構成影響。針對現在流行的 800 V 高壓平台,還需要增加更多的隔離部分、繼電器,通信也需要使用傳輸能力更強的菊花鏈( 一種 BMS 通信技術 )。

至於説抄,那可真是對新能源汽車工業的複雜程度太不敬畏了,抄一個東西會導致其他所有東西都要跟着變動,那造成的時間和金錢成本還不如直接另起爐灶針對需求研發。
説到這,我們可以下個結論,在三電系統上,中國新能源車企根本不存在抄襲特斯拉專利的可能性,一方面在於特斯拉開放的專利是陳舊、不適應市場的,另一方面在於這在產品和成本考量上根本沒必要。

除了三電,網上爭議最多的就要數輔助駕駛。你總能聽到這樣那樣的聲音説國內主機廠的自動駕駛都是抄特斯拉。
很遺憾,在特斯拉公開的 361 項專利中沒有任何一項是涉及輔助駕駛的,但既然熱度這麼高,我們也展開討論一下。
我們要承認的是,特斯拉的 FSD 確實很強, AI Day 上也能看出他們的技術領先,可以完全依靠 Tesla Vision 視覺算法來實現各種輔助駕駛功能。
但,其歸根結底還是利用 Transformer 去全尺寸暴力搜刮每一個像素之間的關聯,尋找到模型的規律,從而應用到 BVE 俯瞰視角里。

而無論是 Transformer 還是 BEV ,最基本的那套東西是完全開源的,大家現在都是基於同一套或者幾套理論,例如視覺、規則模型又或是端到端來發展自家的輔助駕駛。除了用博世等第三方成熟供應商方案的車企,腰部以上的車企都是完全自研。
與此同時,在輔助駕駛方面國內廠商也與特斯拉有技術路線區別。
無論小鵬的 XNGP、理想的 NOA、華為的 ADS、還是蔚來的 NAD,都會更偏愛使用先進的激光雷達與毫米波雷達進行感知,而特斯拉則是堅持死磕 “ 純視覺 ”,想盡辦法砍掉雷達。
所以,在輔助駕駛這方面,國內廠商做的是多傳感器融合方案,特斯拉做的是純視覺方案,如果想訓練一個模型的話,完全是兩回事兒,連輸入的原始數據都不同,抄襲無從談起。

最後,再説説特斯拉專利開放的 “ 我們所有的專利屬於你 ” 這件事兒,從公司風險的角度看看特斯拉專利真的 “ 免費 ” 用嗎?
雖然馬斯克的博客説的很漂亮,但特斯拉官網的措辭給公司留下了非常寬泛的操作空間,例如其對 “ 善意使用方 ” 做出了十分嚴格的界定:

我們諮詢的熟悉美國專利法的律師對特斯拉官網的這部分內容做出瞭解讀。律師表示:“ 要獲取特斯拉的專利,不僅會喪失對特斯拉提出專利主張的能力,而且還會喪失針對任何使用這些專利來製造電動汽車的公司提出專利主張的能力。”
那麼,最極端情況就是,不管之後特斯拉怎麼霸凌你,你都不能去跟特斯拉打官司。一旦跟特斯拉打官司,他就可以吊銷你免費使用其專利的權力。更強勢的是,特斯拉可以強制要求用了它專利的公司也要開放全部專利。
對於一個想正經好好長期造車的車企來講,沒有必要去冒這個風險。

我們很願意承認,特斯拉給中國新能源汽車行業帶來了很大的正面影響,尤其是在它登陸中國市場後,淘汰了一大批專門騙國家補貼的偽車企,衝擊並帶動了國內整條新能源汽車供應鏈。
甚至可以説,特斯拉是中國新能源汽車行業的老師,但如果用專利這件事來小瞧中國車企,那大可不必。
我們認為,當年特斯拉選擇高調開放專利這件事,精神意義遠大於實際意義。
那時候的特斯拉以一己之力在和數百年的油車巨頭們做對抗,他需要夥伴,他需要告訴所有人:特斯拉可以造電車,你們也可以。
這更像是作為行業的領軍角色,在面對對強大敵人時,給後輩們留下的某種 “ 波紋 ”。接收到波紋的後輩們獲得鼓舞,一起在汽車電動化事業上添磚加瓦,這是一個神話般美好的故事。
而如果用這件美好的事情去批判抹黑中國新能源車企,那實在是一種玷污。