夢潔股份內鬥,董事質疑財報真實性!_風聞
猛犸资本局-猛犸资本局官方账号-市值,值不值?11-06 08:32

實控人變更之後,A股家紡龍頭企業夢潔股份(002397.SZ)一直不太平。
10月27日,夢潔股份發佈三季報。當季,該公司的營收和歸母淨利潤分別為4.63億元和1002.82萬元,同比增長4.83%、118.33%。今年前三季度,夢潔股份的營收和歸母淨利潤分別為14.62億元和3125.77萬元,分別同比增長4.77%、131.87%。
在三季報發佈前一日,夢潔股份董事會召開會議,審議三季報。董事陳潔、羅庚寶對三季報存有異議,無法保證三季報的真實、準確、完整、不存在虛假記載、誤導性陳述或重大遺漏,遂對三季報做出“棄權”表決意見。此前,陳潔、羅庚寶已多次對夢潔股份發佈的財報提出異議。
深交所11月1日下發關注函,要求夢潔股份説明陳潔、羅庚寶與公司在定期報告及公司經營運作方面是否存在重大分歧等。
陳潔、羅庚寶是長沙金森新能源有限公司(下稱“金森新能源”)提名的董事。2022年8月,原實控人姜天武及股東李建偉、張愛存、李菁合計將夢傑股份10.19%股份,以3.85億元對價轉讓給金森新能源。同時,李建偉、李菁將所持股權對應的表決權委託給金森新能源行使;姜天武則放棄剩餘所持股份表決權。由此,金森新能源在夢潔股份擁有的表決權最大,李國富取代姜天武成為新一任實際控制人。
交易完成後,新老實控人雙方在夢潔股份的股權比例、董事會席位差距並不大。
夢潔股份現有非獨立董事共計7名,其中董事會提名的姜天武、李軍、易浩共計3人,金森新能源提名的李國富、劉彥茗、陳潔、羅庚寶共計4人。創始人姜天武擔任董事長,雖然放棄表決權,但仍是第一大股東,持股13.36%;第二大股東系姜天武前妻伍靜,持股10.61%;第三大股東才是金森新能源。
雙方矛盾一時難以平息,此前已遭監管問詢是否存在股權之爭。對此,夢潔股份在回覆函中予以否認,稱股東大會審議的部分議案未通過,主要是股東對於審議的內容有異議,不涉及股權之爭。
時代週報記者注意到,夢潔股份內部矛盾背後是創始人姜天武和“新主”金森新能源雙雙陷入流動性危機。金森新能源依靠借款才得以入主夢潔股份。之後不久,該公司就陷入資金流緊張的局面,所持部分夢潔股份股權就遭司法凍結。夢潔股份創始人姜天武等人則在此前被監管查明,存在非經營性資金佔用等行為。

夢潔股份“宮鬥”白熱化
上述關注函顯示,陳潔和羅庚寶在公司2023年第三季度報告的董事會決議中投了棄權票,理由是公司2023年半年報和三季報的財務數據在2022年年報的基礎上編制,而關於2022年年度報告的疑問未完全解決,公司也未再次召開股東大會審議2022年年報等相關議案。
在此前提下,陳潔、羅庚寶無法保證公司2023年三季報真實、準確、完整、不存在虛假記載、誤導性陳述或重大遺漏。由此,深交所發出關注函要求公司對多個問題做出説明:
首先,陳潔、羅庚寶與公司在定期報告及公司經營運作方面是否存在重大分歧。其次,公司專業委員會是否按照規定審議定期報告及相關事項;公司審議定期報告的董事會召集、召開程序是否符合規定;年度報告審計工作是否符合規定。另外,公司是否與陳潔、羅庚寶就質詢問題進行溝通,為何未重新召開股東大會審議2022年年度股東大會中未通過的議案。最後,深交所要求律師和年審會計師對問題進行核查並發表明確意見。
這不是雙方第一意見相左。
2023年4月29日,夢潔股份披露《關於部分董事對定期報告有異議的説明公告》,2月新上任的非獨立董事陳潔表示,公司管理層、董事會秘書、原董事長以各種理由對其瞭解公司情況設置各種障礙,公開喊話“董事會秘書在本人多次催促之後,仍然拖延提供公司相關資料。” 陳潔當時就表態,對2022年報持有保留意見,並與年報有關的議案均投棄權票。
深交所隨即要求夢潔股份説明陳潔對議案投出棄權票的具體原因、是否存在股權之爭等。一個月後,夢潔股份在回覆函中稱,金森新能源投出棄權票的原因,除了上述陳潔所提出的問題,還包括公司未對業績虧損原因等給出合理解釋、公司計提專項損失理由的充分性未知、原管理團隊存在資金佔用及變相利益輸送的可能等。

△ 圖源:夢潔股份公告
對此,夢潔股份表示,陳潔在股東大會的質詢環節未提出質詢意見;公司2022年年報由審計所出具了標準無保留意見的《審計報告》,並稱“股東對於2022年年度報告中涉及財務數據的疑問,公司財務部門將與股東進行溝通,做好解釋説明工作。”
至於未通過議案的後續安排及具體解決措施,夢潔股份稱,“公司董事會將就金森新能源所反饋的信息與公司董事、重要股東進行溝通,後續將根據有關法律法規、《公司章程》和監管規則的要求推進召開股東大會審議相關議案。”
但金森新能源一方認為,夢潔股份管理層後續仍無法進一步提供相關全部佐證材料,關於2022 年年報等議案的疑問仍未獲得完整的解釋和解決,公司也未召開股東大會重新審議相關議案。因此,其對之後的2023年半年報、三季報均投出了棄權票。
就雙方的溝通情況、是否向金森新能源完整、及時提供公司相關資料以及公司財務情況等方面,時代週報記者聯繫夢潔股份董事會秘書李軍,截至發稿未獲有效回覆。

“弱弱聯合”,雙雙陷入流動性危機
夢潔股份是一家從事家紡生產的企業,2010年上市,主營業務為高端牀上用品的設計、生產和銷售以及高品質的家居生活服務,擁有“夢潔”“寐”“夢潔寶貝”等三大家紡品牌。

△ 夢潔股份上市儀式 圖源:夢潔官網
據公開報道,當年姜天武作為知青返鄉來到夢潔股份的前身長沙市棉麻土產公司被服廠,幹過雜工、焊工、車工,打拼幾十年將一家瀕臨破產的被服廠打造成家紡巨頭。如今年過花甲的姜天武為何以3.85億元的價格,將實控權拱手讓給金森新能源?
這或是由於姜天武以及夢潔股份主要股東的債務危機所致。
2017年12月,為保障公司2017年非公開發行股票成功,姜天武等股東與信託機構簽署了多份《差額補足協議》。2021年因觸發定增兜底協議約定的差額補足義務,姜天武等股東形成了定增兜底的3.6億元債務。
為了償還這筆兜底債務,姜天武等股東通過減持、分紅、質押等方式籌措資金。他們還將手伸進上市公司的口袋。監管部門查明,姜天武等通過轉賬、支付基金管理費、股權投資等方式非經營性佔用上市公司資金,2021年發生額合計為1.16億元,2022第一季度為1800萬元。截至2022年4月25日,姜天武和各佔用方已歸還上述全部資金本金及利息。對此,深交所共罰款400萬元,並對公司以及參與人員給予警告。
在此時間當口,金森新能源出現,一舉拿下夢潔股份實際控制權。金森新能源2022年3月9日成立,創始股東為劉彥茗、林可可,經營業務為太陽能發電技術服務、石墨烯材料銷售等;當年6月21日增資至6100萬元,引入新股東李國富;同月便與姜天武等簽訂相關收購協議。
目前,李國富、劉彥茗、林可可分別持股金森新能源42.62%、32.78%、24.59%。在金森新能源之前,這三位股東均沒有新能源公司的任職經歷。
李國富是金森新能源第一大股東,他參控多家企業,包括深圳市騰龍源實業有限公司、深圳市東森環境技術有限公司等7家,涉及化工、環境治理、軟件信息、餐飲等行業,均與新能源、紡織無關。據披露信息,李國富實控的7家企業資產規模不超過1.5億元。截至2021年末,夢潔股份總資產為34.11億元。雙方體量差距懸殊。
金森新能源的第二大股東劉彥茗名下並無實控公司,早年曾在新三板掛牌公司湖南康復、邵東民康醫院有限公司等湖南醫療公司任職。在金森新能源之前,劉彥茗的關聯公司也未涉足新能源領域。

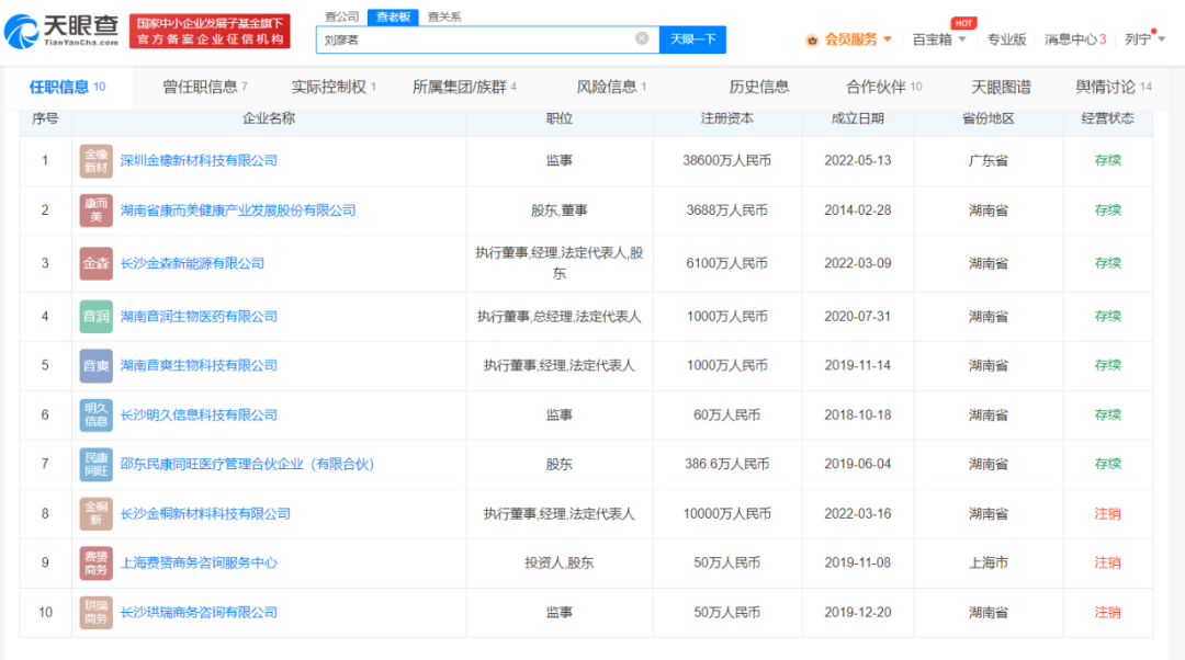
△ 圖源:天眼查
時代週報記者注意到,自金森新能源成立以來,劉彥茗與夢潔股份新上任的董事陳潔出現了一系列商業聯繫。陳潔實控的深圳金橡新材科技有限公司中,劉彥茗擔任監事一職,該公司經營業務範圍包括新興能源技術研發、石墨及碳素製品製造等,涉及新能源領域。
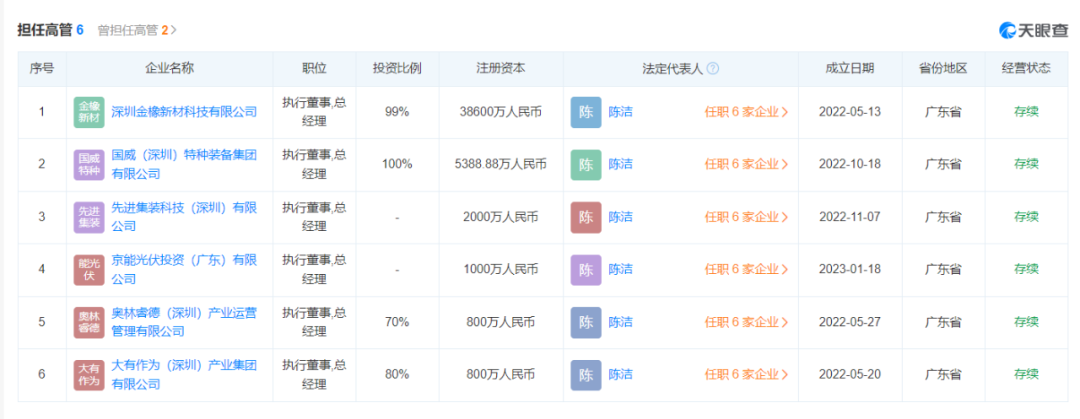
據天眼查信息,陳潔還擔任國威(深圳)特種裝備集團有限公司、大有作為(深圳)產業集團有限公司、奧林睿德(深圳)產業運營管理有限公司等5家公司的法定代表人、執行董事。這些公司均涉足新能源,但都在2022年5月之後成立。

△ 圖源:天眼查
從夢潔股份披露的信息看,陳潔此前是上市房企華僑城A(000069.SZ)的中高層管理人員、子公司管理人員,還曾在深圳市江蘇商會等多個社會團體任職。
金森新能源的股東林可可,或不可小覷。夢潔股份披露,金森新能源的收購款主要來源於李國富的1億元借款、林可可的2.24億元借款,年利率均為6%。但金森新能源因還不上利息等,被林可可申請訴前財產凍結,該公司所持夢潔股份6016.70萬股被司法凍結,佔其持股比例78.14%。
2023年5月19日公告,金森新能源將所持夢潔股份1683.30萬股股票質押給林可可,佔其所持股份比例的21.86%。同年8月9日,林可可辭去夢潔股份監事一職,上任只有約半年之久。
林可可還是湖南懷仁大健康產業集團有限公司(下稱懷仁大健康)助理總裁,該公司約71.96%股權於2022年3月被老百姓(603883.SH)收購,交易對價16.37億元。懷仁大健康原實控人系湖南醫藥富豪林承雄,其實控的懷仁集團是橫跨湘黔兩省的連鎖藥店區域龍頭。換句話説,曾在多家湖南醫院任職的劉彥茗,與他們是一個圈子的人。

家紡巨頭何處去?
內鬥難解,夢潔股份的主營業務也持續低迷。
2021年、2022年,夢潔股份分別實現總營收24.63億元、20.33億元,淨虧損分別為1.56億元、4.48億元。今年前三季度,夢潔股份經營好轉,前三季度實現營收14.62億元,同比增長4.77%;歸屬於上市公司股東的淨利潤為3125.77萬元,同比大漲131.87%。
儘管完成新舊實控人交接,但姜天武曾與金森新能源約定,股權和表決權過户後,仍由姜天武擔任夢潔股份董事長,任職時間不短於2年,直至家紡業務扣非淨利潤佔公司總扣非淨利潤的比重低於50%時,才能卸任。姜天武還承諾,任職董事長期間夢潔股份扣非淨利潤不虧損。
而陳潔在接受媒體採訪時表示,2022年在同行業公司均實現盈利的情況下,在協議約定姜天武擔任董事長期間保證家紡業務不虧損的情況下,夢潔股份出現鉅額虧損,公司給不出合理的解釋。
金森新能源原定計劃拿到實控權後,依託上市公司進行資本運作轉型升級,進軍新能源領域。但陳潔稱,由於公司部分董監高不按約定交接實控權,目前公司轉型進度已受到阻滯。
不過,金森新能源主要股東及委派的新任董事的過往從業經歷都與新能源領域沒有強關聯。金森新能源未來如何助力夢潔股份轉型新能源還有待時間驗證。
撰文丨梁春富
編輯丨彭巖鋒
版式丨陳溪清
-END-