被恢復執行2276萬,ofo押金“還得欠着”
张志峰

天眼查顯示,1月9日,ofo小黃車的運營主體東峽大通(北京)管理諮詢有限公司(下稱“東峽大通)新增一則恢復執行信息,執行標的2276萬餘元,案由為買賣合同糾紛,執行法院為上海市浦東新區人民法院。
資料顯示,東峽大通首次因該糾紛被執行時間為2021年3月26日,於同年6月25日中止,直到今年1月9日重新恢復執行。

目前,東峽大通(北京)管理諮詢有限公司被執行總金額超2817萬。
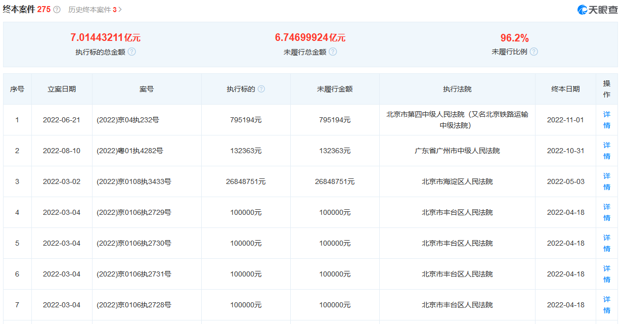
此外,該公司還存在多條失信被執行人、限制消費令和終本案件信息,未履行總金額超6.74億元。
據觀察者網瞭解,此前ofo創始人戴威曾經明確表示過,小黃車的押金一分也沒有動過。
據業內人士保守測算,目前至少有1600萬人押金沒有退,與6.74億元的未履行金額一樣,幾乎沒有變化。因此即便法院恢復執行,大概率此前的ofo用户押金還得繼續欠着。

值得一提的是,在ofo的債權人中,阿里巴巴稱得最大“冤種”。
2022年12月1日,東峽大通及其創始人戴威,收到了來自杭州市中級人民法院的起訴狀及開庭傳票。
公告顯示,阿里巴巴旗下浙江天貓技術有限公司(下稱“天貓”)要求ofo償還借款本金及利息共5.38億元,且天貓對其關聯子公司的動產抵押物和質押的計算機軟件著作權享有優先受償權,要求其通過變賣、拍賣等方式清償債務。
不過,與其他債權人一樣,行業人士普遍認為,阿里巴巴此時起訴ofo運營公司,無非重申一下其優先受償地位,以及用於企業內部責任劃分,並無實質意義。
本文系觀察者網獨家稿件,未經授權,不得轉載。