礦難7死7傷,竟被瞞報!省委書記、省長同時出手了
None
據微信公眾號“阜新宣傳”,7月4日,阜新市委、市政府發現阜新弘霖煤礦發生安全生產事故的相關線索後,高度重視,立即成立調查組,組織煤管、應急、公安等部門及屬地海州區進駐煤礦開展核實調查。
經初步核定,該煤礦於6月27日發生事故,造成7人死亡、7人輕傷,受傷人員正在醫院治療且傷情穩定。事故發生後,礦方蓄意瞞報。目前,阜新市已經成立調查處置領導小組,下設調查工作組、偵查工作組、社會穩定工作組等,全面開展相關工作。公安機關已對此事立案,並對相關責任人採取強制措施,各項偵查調查工作正在深入開展。

據遼寧發佈,接到阜新市報告後,遼寧省委書記郝鵬第一時間作出批示,要求嚴肅查處該起瞞報事故,從嚴追究有關方面的責任;要總結教訓、舉一反三,堅決進行整改,杜絕涉煤重大事故的發生;全省隱患專項排查整治要紮實進行,絕不放過任何一個風險隱患。
7月5日,受省委書記郝鵬委託,遼寧省委副書記、省長李樂成趕赴阜新市,就弘霖煤礦瞞報安全生產事故現場辦公,指導督導阜新市及相關部門依法從嚴從實從快開展調查處置工作。
在現場辦公會上,李樂成聽取當地及相關部門事故調查情況彙報,他指出,要提級調查,省委省政府成立調查組,由省委常委、副省長王健任組長。他強調,阜新市及相關部門要本着對黨和人民高度負責的態度,堅持依法依規、實事求是,發揚鬥爭精神,提速加力、從嚴從實從快開展事故調查處置,徹查事故原因,嚴肅追究責任,對事故處置中存在的失職瀆職和作風問題、腐敗問題,發現一起、查處一起,一查到底,決不姑息遷就。要總結教訓、系統整治,深入解剖事故暴露的突出問題,逐一解決、逐項整改,堅決做到“不貳過”。要妥善做好安撫安置等善後工作,及時準確、公開透明發布信息,有效回應社會關切,確保社會大局穩定。
據界面新聞報道,阜新弘霖煤礦即阜新弘霖礦業(集團)有限公司(下稱阜新弘霖礦業公司)下屬煤礦。該公司成立於2003年6月,主要從事煤炭開採和洗選業。
企查查APP顯示,蹇玉忠和蹇玉華分別持有阜新弘霖礦業公司82.27%和12.73%的股權,王立強為法定代表人。蹇玉忠同時還是阜新弘霖煤炭銷售有限公司、阜新德佳液壓機械製造有限公司等企業的控股股東。

根據國家礦山安監局督查組2021年11月發佈的信息,弘霖煤礦位於阜新市海州區,可採儲量539.3萬噸,核定年生產能力45萬噸,為高瓦斯礦井,煤塵具有爆炸性。
遼寧省發改委最新公佈的省內煤礦生產能力公告顯示,截至2022年底,阜新弘霖煤礦生產能力仍為45萬噸/年。
據界面新聞,2020年以來,阜新弘霖礦業公司被行政處罰11次,共涉及金額共169.9萬元,事由包括設備設施類違法、事故隱患類違法、安全管理違法、規章制度類違法。
其中,2022年11月,因同時涉及設備設施類違法、事故隱患類違法,國家礦山安全監察局遼寧局監察執法三處對該公司給予警告,罰款10.6萬元。
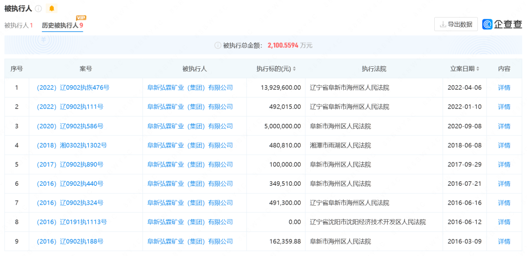
此外,企查查顯示,2016年以來,阜新弘霖礦業公司成為歷史被執行人9次,涉及金額2100多萬元,還曾是失信被執行人。

與此同時,阜新弘霖煤礦曾多次被政府相關單位點名批評。
2021年12月,阜新市煤炭工業轉型發展局發佈的消息提到,從2021年初至今,弘霖煤礦在安全監控系統上多次出現甲烷和一氧化碳超限,説明煤礦在瓦斯治理和管理等方面還存在一定差距。

據中國煤炭報,2021年11月,國家礦山安監局督查組點名批評了綜合督查中發現問題的煤礦,其中包括阜新弘霖煤礦。
督查組報告提及,在沿途檢查中,發現該煤礦礦井下的帶式輸送機管理、設備設施檢測檢驗不到位,停送電作業、運輸管理不規範,防治水管理不到位,技術管理不嚴格等問題。
此外,督查組還發現相鄰礦井的突出煤層在未鑑定完畢的情況下,正在作業的中間層煤層未按照突出煤層管理,也未採取防突措施。