格力再次起訴奧克斯,索賠9900萬
陈济深

7月13日,廣州知識產權法院刊登珠海格力電器起訴奧克斯空調、寧波奧勝貿易有限公司等的裁判文書。公告內容顯示,原告格力電器訴求七被告立即停止侵犯原告商業秘密,永久刪除載有原告商業秘密的電子數據,以及空調器產品、模具、技術圖紙等,並且索賠9900萬元。
本案也是格力和奧克斯多年來恩怨的新戰場,格力稱奧克斯在2010年起大量“挖角”格力技術人員,且格力自2015年起就這些人員專利歸屬事宜多次起訴奧克斯,7年間兩家企業發起了多起訴訟戰,格力更曾公開舉報奧克斯空調虛標能耗,兩家企業勢同水火。
值得注意的是,雙方訴訟戰互有勝負,從賠償金額來看,儘管2020年格力收到了奧克斯敗訴的4000萬元侵權賠償,但近兩年來格力也在多起案件審判中失利,並被判賠償奧克斯累計金額高達2.2億元。
索賠9900萬元,格力再訴奧克斯侵權
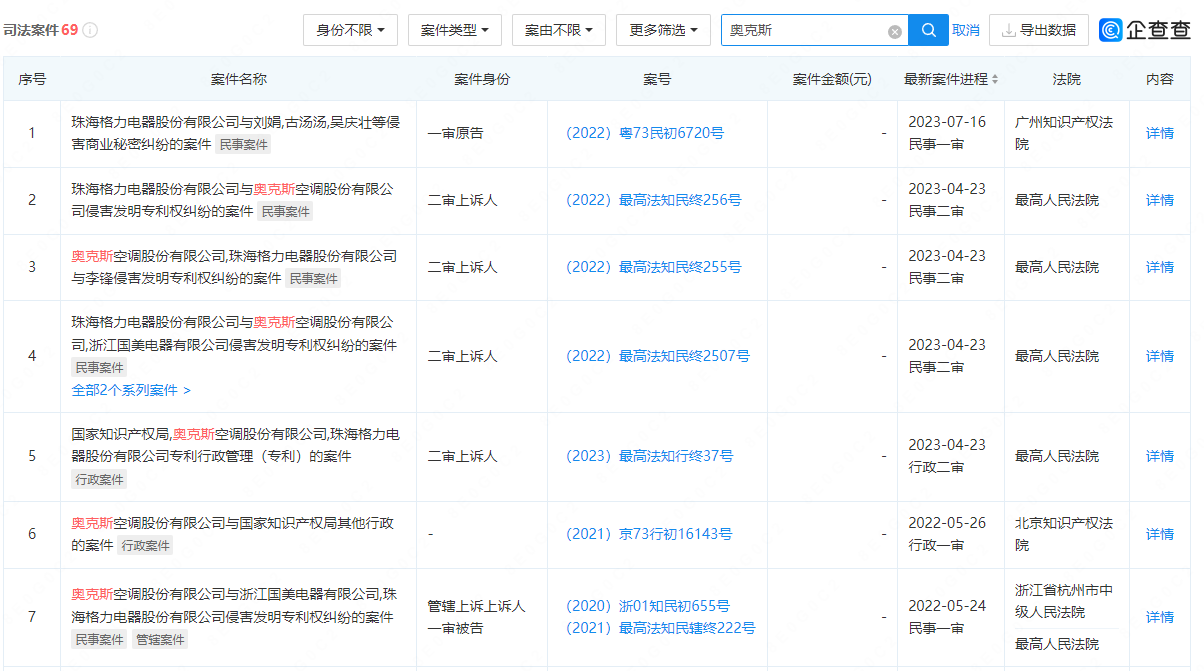
根據法院文書內容顯示,廣州知識產權法院曾受理案號為(2022)粵73民初6720號、原告珠海格力電器股份有限公司與被告奧克斯空調股份有限公司、寧波奧勝貿易有限公司、尚彬、劉娟、古湯湯、吳慶壯、黃家柏侵害商業秘密糾紛一案。

企查查數據顯示,七名被告中,除奧克斯空調外,寧波奧勝貿易有限公司為奧克斯旗下控股子公司,而古湯湯、吳慶壯、黃家柏等5名自然人均曾發明過空調相關專利,並登記在奧克斯名下。

根據人民法院公告網上公開信息,原告曾訴訟請求如下:第一,判令七被告立即停止侵犯原告商業秘密,即,立即停止披露、使用或者允許他人使用原告商業秘密,永久刪除載有原告商業秘密的電子數據,銷燬使用原告商業秘密製造的空調器產品、模具、技術圖紙等載體;第二,判令被告一在本判決生效後的10日內,將ZL201410800759.8、ZL201420816905.1、ZL201410800823.2、ZL201420816545.5、ZL201420793148.0、ZL201410774412.0、ZL201420793222.9、ZL201420814998.4號專利權轉移至原告名下;第三,判令七被告向原告賠償經濟損失及合理維權費用9900萬元;第四,判令七被告承擔本案的全部訴訟費用。現因被告古湯湯、吳慶壯、黃家柏下落不明,廣州知識產權法院依法公告相關材料。答辯的期限和舉證的期限分別為公告期滿後的15日和30日內。
根據人民法院公告網上公開的裁判文書,被告奧克斯空調股份有限公司、寧波奧勝貿易有限公司、尚彬、劉娟曾對此案的管轄權提出異議,但被駁回。
據格力官網資訊,當前,格力的產業覆蓋家用消費品和工業裝備兩大領域,且在創新方面多有建樹。截至2023年6月,格力電器累計申請專利111301件,其中發明專利申請58483件;累計發明專利授權18102件。
據奧克斯官網介紹,家電是該集團規模最大的產業,其產品主要包括家用空調、商用空調等;同時,官網也提到了品牌的研發能力,表示其在變頻控制、舒適健康技術、智能前瞻技術領域處於行業先進水平,智能化產品佔比達80%。天眼查資料顯示,寧波奧克斯空調有限公司為寧波奧勝貿易有限公司的曾用名。
兩家公司恩怨不斷
提及兩家公司的恩怨,本質是奧克斯從格力大批量“挖人”後的專利歸屬糾紛。
2017年,格力的一份資料也提及過,自2010年以來,奧克斯從格力挖走了300多名研發、質檢等部門的核心骨幹人員。
格力還稱,奧克斯的目的不止在挖人,還有“竊取”格力的商業機密。
對此,奧克斯方,公司員工都是通過正常的招聘途徑入職的,且公司也會注意入職員工是否存在保密協議和競業協議。
此前格力電器和奧克斯空調已多次就專利權問題對簿公堂,根據企查查數據顯示,僅珠海格力電器股份有限公司(上市公司主體)與奧克斯就有69起訴訟糾紛。

其中最早的糾紛發生在2015年,格力電器就將奧克斯告上法庭,訴訟理由為奧克斯涉嫌侵犯3項格力實用新型專利,要求奧克斯立刻停止侵權行為並賠償相應損失。
該案以格力勝訴告終,奧克斯賠償格力電器經濟損失230萬元。
2019年,奧克斯將格力電器和國家知識產權局告上法庭,不過按照2021年2月的中華人民共和國最高人民法院行政判決書,法院駁回了奧克斯公司的訴訟請求。
2020年5月,歷時3年之久的格力電器訴奧克斯侵犯專利權案塵埃落定,法院判決奧克斯賠償4000萬元。這起案件還被廣東法院網列為“2019年度廣東省知識產權審判十大案件”之一。
此前,奧克斯購買了東芝空調的壓縮機專利,而後起訴格力電器侵權。2021年,浙江省寧波市中級人民法院的兩份民事判決書顯示,奧克斯空調股份有限公司起訴珠海格力電器股份有限公司及寧波甬格信息科技有限公司、寧波市江北天澤家電維修部等兩例侵犯發明專利權案審理終結,格力電器需要賠償奧克斯空調合計約1.67億元。
2022年8月,杭州市中級人民法院一審對奧克斯訴格力兩案作出專利侵權判決,並判格力電器賠償合計約5500萬元。加上2021年12月寧波市中級人民法院一審就奧克斯起訴格力兩案作出的約1.6億元的判決,奧克斯憑藉上述同一件專利獲得的判賠額已超過了2.2億元。格力公司對四案判決結果均不服,奧克斯公司對其中一案判決結果不服,向最高人民法院提起上訴。
今年4月23日,最高人民法院知識產權法庭公開開庭審理格力電器與奧克斯空調之間關於壓縮機專利侵權的5起糾紛案件。
法庭以外,格力與奧克斯也有諸多紛爭;其中,最為著名的是格力公開舉報奧克斯虛假宣傳一事。
在2019年的“618”到來之際,格力在微博貼出有“四川省電子產品監督檢驗所”蓋章的報告,內稱奧克斯空調股份有限公司(下簡稱奧克斯)8款機型所檢項目不符合標準要求;同時格力在微博發文稱:“用事實説話!我們已準備好充分證據供監管部門調閲,並視情況適時向社會公佈。 ”稍後奧克斯同樣在其微博官方賬號回應:正當618空調銷售旺季來臨之際,格力採用詆譭手段,屬於不正當競爭行為。奧克斯還稱對於格力的不實舉報,已向公安機關報案。

但最終,寧波市市場監督管理局對奧克斯空調利用能效標識進行虛假宣傳案,作出“責令改正”和“罰款10萬元”的行政處罰決定。