同質化嚴重、生態壁壘低,企查查IPO並不好走_風聞
DoNews-3小时前

撰文 | 曹雙濤
編輯 | 楊博丞
題圖 | IC Photo
近期熱播商戰劇《繁花》老法師爺叔有段經典台詞,做生意是理性的。瞭解對方真正的實力後,成功的商人就能夠知己知彼,衡量自己的投入與實際獲利,明曉投入產出,以此評判生意、合作伙伴的價值。
但過去數年,商業信用體系的缺失,讓商業世界中存在着嚴重的信息不對稱。《繁華》劇情深處,無論是惡意併購、股權紛爭還是商業欺詐,都源自對對方企業基本情況和經營狀況瞭解不足,這也是《繁花》劇中主角們在關鍵時刻洞察對手真實意圖的原因所在。
商業世界中信息不對稱的存在,讓過去數年市場經濟一直建立在“村炮市場”“酒局市場”上。2013年後,各類“查查們”軟件的出現和功能的逐漸豐富、高層政策的持續推動、大數據、數字孿生、雲計算、AI等技術的持續發展,企業對信用的更加重視。種種因素推動下,這種情況才有所改善。
商查軟件歷經多年競爭和行業洗牌,逐漸形成天眼查、企查查、啓信寶三足鼎立局面。其中,企查查於去年12月向江蘇證監局辦理輔導備案登記,擬首次公開發行股票並上市,輔導機構為中信證券。據企查查創始人楊京透露,企查查現有用户規模突破5億,估值約在100億元,今年將進行IPO衝刺。

圖源:中國信通院發佈《企業信用大數據行業發展研究報告》
從成立至今,企查查先後完成8輪融資,背後資本跑陪多年。但在當前港股流動性持續低迷,且短期內難以回暖,A股IPO政策持續收緊下。企查查若還不IPO,後續將面臨更大的難度,企查查或許可以等,但背後資方恐怕沒有這麼多時間和耐心了。
2023年,啓信寶母公司上海合合信息科技股份有限公司通過科創板IPO註冊,讓企查查也看到了IPO可能成功的希望。但同質化競爭、數據合規問題、生態壁壘不足、ToC端付費意識不足、ToB端採購金額低等問題的存在,讓做“人性”生意的企查查IPO之路也面臨不少挑戰。
一、“爬蟲生意”下,如何解決同質化競爭問題?
過去10年間,國內宏觀經濟歷經幾輪週期波動。企查查從成立一年多後的180萬用户暴增到現階段的5億用户,似乎在展現出穿越經濟週期的力量。這背後本質上還是“查查們”所披露的信息,能夠幫助企業降低風險,並影響到企業日常決策。

圖源:國家統計局
不管任何時期、任何經濟週期下,企業規模大小,穩健的現金流是一家企業的生存底線。“查查們”展示的一家企業屢屢因税務問題被罰,側面説明企業信譽情況欠佳。
一家企業短期內頻頻出現股權轉移,側面説明背後實控人可能提前意識到後續經營過程中的重大風險,想要將股權分散和轉移提前規避風險。合作方和該企業合作,就要採取現款現貨模式,才能降低壞賬風險。
從這一角度來看,愈是在經濟週期產生劇烈變動時,企業對“查查們”的需求愈高。當經濟處在向上週期時,伴隨着社會投資活動的增加,查詢需求也會隨之增多。
過去十年間“查查們”對市場的持續教育,帶動滲透率的持續提高。統一大市場的逐漸建立,信用監督協同機制下權責機制、信息機制、協調機制、激勵機制需長期摸索,以及商業社會中的人性生意天然追求“以小博大”“利益最大化”。上述因素的存在,讓市場對“查查們”的需求將長期存在。
但“查查們”的價值,讓其相較於友盟、蟬媽媽這類數據公司而言,對數據準確性、合規性要求更高。為解決上述問題,“查查們”普遍採取藉助網絡爬蟲從多個網站上抓取數據,並對數據加工和清洗,最終展示給ToG+ToB+ToC。如法律訴訟抓取中國裁判文書網、中國執行信息公開網數據,企業基本情況抓取各地工商局註冊網站數據等等。
但即便如此,“查查們”也無法完全做到數據完全合規、正確,這讓“查查們”想要打造完整的閉環生態也面臨不小難度。如2019年5月5日,企查查向用户推送“螞蟻微貸公司新增清算組成員應君”的信息,引發外界關注。
螞蟻金服和阿里巴巴同時澄清,稱該信息為2015年的歷史信息,2016年初,螞蟻金服已向工商部門提交終止清算,處於正常經營的狀態。隨後,螞蟻金服、螞蟻微貸將企查查告上法庭,最終企查查賠償對方60萬,事件才得以平息。
而在黑貓投訴平台上,有不少消費者稱企查查泄露個人信息、不及時更新企業欠税信息導致企業經營受到影響,公司和手機號不正確、泄露開庭公告信息等等。

圖源:黑貓投訴
若企查查一直無法保證數據安全合規、及時更新,甚至產生公司法人信息泄露等問題,第三方網站又是否會允許企查查持續借助爬蟲抓取數據呢?
更現實的問題是,網絡爬蟲持續抓取下,也將增加第三方網站服務器的壓力,很多第三方網站為化解服務器壓力,紛紛通過技術升級限制第三方網站抓取。如當年12306官網技術升級,讓無法拿到12306官方授權、靠網絡爬蟲抓取12306官方出票平台的OTA平台,火車票業務受到不同程度衝擊。
“爬蟲”生意模式下,也讓商查軟件功能趨同,產品差異化缺失。為爭搶更多用户,過去數年天眼查和企查查兩家商查頭部軟件一直深陷口水戰、訴訟戰、專利戰、營銷戰中。
楊京曾表示,商查軟件大範圍的營銷戰已經停止,大家不希望再用暴力方式去獲取增長了。但商查軟件的營收戰、利潤戰或許才剛剛拉開序幕,後續行業或將面臨更慘烈的競爭。
不管是企信寶已通過IPO申請,或是計劃今年衝擊IPO的企查查,二者均需向資本市場持續交出“好看的”財報。雖説市場對“查查們”的需求長期存在,但需求方卻在減少。以美妝行業為例,企查查相關數據顯示,2023年前11個月,國內吊銷/註銷化妝品企業高達159.23萬家。
而且企查查、天眼查面向ToC端的會員普遍以一年、兩年、三年為主,這和長視頻平台、音樂平台推出的月卡、季卡有所不同。較長的會員週期下,意味着單個會員一旦購買其他企查查3年VIP會員的話,必然不考慮購買其他平台會員,其他“查查們”將愈發被動。

圖源:企查查官網

圖源:天眼查官網
因此“查查們”必然會“想方設法”引導用户付費,這也不能解釋為何黑貓投訴有大量消費者稱企查查會員亂扣款、售後不作為、誤導消費者購買會員等大量投訴存在的原因。

圖源:黑貓投訴
二、會員如何帶動企查查收入?
國內移動互聯網發展數年,工具類APP一直面臨着變現難的問題。為探索多元化的收入方式,工具類APP紛紛增加廣告、電商分銷、會員等業務。但和其他工具類APP不同的是,目前企查查面前ToC端的只有會員,移動端和APP端均不做廣告和電商分銷。
對於企查查堅持不涉及廣告業務,也不能理解。一方面,和以殺時間為目的的手遊、短視頻等品類不同,工具類應用存在的意義是提高解決問題的效率,用户的使用目的明確、停留意願低,在線時長註定短暫。而移動APP本身建立在高日活+高用户時長的基礎上,這點從抖音身上也能證實。
另一方面,用户使用時長短,操作鏈路短,可變現場景少。而且企查查若廣告位或廣告資源設置不當,還會直接影響用户使用感受,畢竟企查查現有生態還沒有達到讓用户對其產生高粘性,這很容易導致用户流失。
但ToC端僅依靠會員,能幫助企查查持續帶動多少營收,仍值得商榷。
相較於音樂類APP、長視頻APP來説,現階段國內用户缺乏對工具類付費的基礎和習慣,這點合合信息對外公佈的招股書中也能看出。
2020年至2022年,掃描全能王付費用户比例分別為0.54%、0.52%、0.51%;名片全能王對應付費用户比例分別為0.19%、0.17%、0.15%;啓信寶付費用户比例分別為1.07%、0.76%、0.56%,三款工具類APP均維持在較低水平。
為刺激用户付費意願,企查查也和其他工具類APP類似設置不同等級的會員。等級越高,可享受到的會員權益越多。但目前“查查們”的核心用户僅有財法税的專業人士、金融行業(銀行保險券商)及各行業商務銷售、部分企業主。

圖源:企查查官網
但考慮到如房地產、4S店、保險、招商加盟這種面向ToC端的銷售,用到企查查的頻率極低。對於ToB和ToB的銷售合作,因不同企業戰略方向不同,需求也會存在差異。
核心用户人羣不足下,啓信寶、企查查、天眼查三家的同質化競爭,讓用户更是遭到強分流。而且電商網站平台售賣的7天、30天低價會員,也將有臨時需求用户截流。如求職者求職期間,為避免踩坑,且考慮到求職時間不長,本能地會考慮去電商網站購買這些時間較短的低價會員。

圖源:淘寶
我們實測一家淘寶店鋪後發現,7.5元就能購買企查查30天會員。而且登錄後,也能享受到企查查相關會員權益。換言之,購買12個月僅需90元,這一價格幾乎是企查查官網一年VIP會員價格的23%。
做網絡爬蟲生意的企查查,沒有想到有一天自己被別人“爬蟲”。
同時考慮到上文所述的企查查會員高投訴、難退款,會員週期長等問題,也讓企查查會員復購率成謎。而創投類公司需要對企業有着更為完整的背調,僅依靠企查查展示的公開信息恐難以滿足創投類公司需求。簡單來説就是,靠網絡爬蟲搭建起來的企查查,信息整合低,價值遠沒有達到讓部分用户願意付費的基礎。
三、ToB採購金額低,如何持續提升利潤?
ToC端模式的難以走通,讓國內數據公司普遍走ToB端客情模式。如百度地圖、騰訊地圖、高德地圖目前主要給移動類APP提供API接口,並按照調取次數收費。
企查查也在走ToB模式,而且在2023年拿下不少大型企業的訂單。
對標SaaS產業來看,服務好大客户是至關重要的。畢竟小微企業客羣存在流失率高、合規性差、決策集中一人等問題,服務小微企業的SaaS產品模式少有能將模式跑通的。
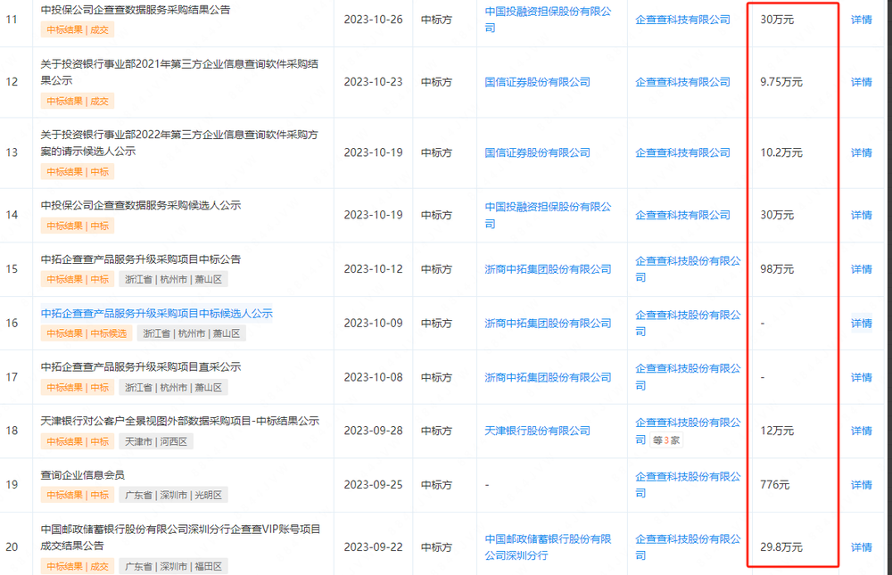
但和SaaS軟件動輒幾十萬甚至上百萬的銷售訂單相比,企查查目前拿下ToB端銷售的訂單,訂單金額普遍不高,甚至有的中標金額不足千元。金額較低的背後,本質上在於查詢類軟件並不像SaaS軟件那樣能給企業帶來降本增效的價值,而且企業內部購買幾個企查查會員賬號後,內部也實現高度信息共享。

圖源:企查查
訂單金額不高的背後,企查查也需付出更高的客情成本、資源開發成本、客户關係維持成本等等。且同質化競爭下,出現在SaaS產業的價格戰未來一樣將出現在企查查身上。
但SaaS降價容易漲價難,未來在服務超大型客户(上萬員工數、分佈多地多國家)時,投入產出無法預計,又未獲得市場定價權,或成為穩定盈利的重要掣肘。
且和SaaS產業不同的是,企查查還面臨一個問題,若客户方要求企查查在抓取自身信息時,又要“針對性”地抓取,否則就不合作。或者説客户以大額採購訂單為基礎,要求企查查對涉及公司負面信息進行刪除或隱藏。
而企查查IPO若是成功的話,需保證業績持續增長,進而帶動股價和估值持續增長,才嫩保證投資人利益。滿足滿足客户需求,意味着企查查的公開性、公正性均受到外界質疑。不同意客户要求,企查查又要如何拿下更多ToB端的訂單呢?
同樣的還有企查查上面展示的招投標信息,一條招投標數據可能就影響上千萬、上億的交易,其內部堡壘能否持續扛得住外部公共關係巨大的誘惑呢?
表面上看,企查查的生意是網絡爬蟲生意。但本質上企查查的生意卻是“人性生意”。從企查查背後投資人到內部高管,從內部銷售到技術,企查查能否持續禁得住“人性和利益的考驗”呢?這才是核心問題。
結語:
2023年11月9日,企查查成為全國首家數據出境獲批准的企業。楊京在接受相關媒體採訪時指出,企查查更大的增長在海外市場,這是純增量市場。
但不同國家的信用建設不同,如何打通海外更多TOG端資源,建立長期合作穩定的關係,以及如何對海外企業進行長期教育,均是企查查出海需直面的關係。
如果上一個十年,企查查是做用户,做市場份額的話,那麼下一個十年企查查將做“人性”生意。屬於企查查的挑戰,這才剛剛開始。