河南前首富突遇滑鐵盧_風聞
猛犸资本局-猛犸资本局官方账号-市值,值不值?44分钟前

上市公司股價閃崩,河南前首富很受傷。
4月22日,天瑞水泥(01252.HK)發佈公告稱,由於4月9日該公司股價不尋常下跌,其控股股東煜闊有限公司(以下簡稱“煜闊”)的孖展證券賬户所持有的1.43億股股份,在公開市場被強制出售,相當於已發行股份總數的4.87%。出售前,煜闊持有天瑞水泥69.58%的股份,此後,持股比例降至64.71%。
針對股價下跌,天瑞水泥在4月17日就曾發佈公告表示,煜闊所持有的1.33億股股份被強制出售,同時正在釐清1000萬股股份的強制出售是否被執行。
4月9日,天瑞水泥股價尾盤瞬時大跌,15分鐘內跌幅達99%,盤中股價一度跌至0.035港元/股,當日報收0.048港元/股,跌幅達99.04%,市值為1.4億港元。而在4月8日,天瑞水泥收盤市值為146.91億港元。
隨後,在4月10日,天瑞水泥發佈股票停牌公告,公司股票停牌至今。
有市場分析稱,這種幅度的股價下跌,一般是由於券商砍倉所致。公司股東將所持股票進行質押,但因未足額繳納保證金等原因,導致券商對股票進行砍倉。
天瑞水泥是河南前首富李留法商業版圖中的核心公司。1994年,李留法進入水泥行業,並在2000年成立天瑞水泥,後於2011年上市。經過多年發展,李留法以水泥業務為核心,打造了一座業務遍及旅遊、製造、礦業等多領域的綜合“商業帝國”。
據最新《2024胡潤全球富豪榜》,李留法、李鳳孌夫婦憑藉270億元財富位列榜單900位。此外,他還曾在2011年、2012年兩度蟬聯《新財富》雜誌評選的“新財富500富人榜”河南首富。

2020年後頻繁質押
股票質押對天瑞水泥來説是常事,而質押的背後,是煜闊曾多次為天瑞水泥做貸款擔保。據時代財經不完全統計,2016年以來,天瑞水泥共發佈16次控股股東質押股票為其貸款提供擔保的相關公告。其中,共計9次貸款發生於2020年之後。

△ 圖片來源/時代財經
2020年7月21日,天瑞水泥股價達到8.89港元/股,為上市以來的最高點,在此之後,股價開始走低。
因股價持續下行,煜闊則需抵押更多股份做擔保。2022年1月7日,天瑞水泥貸款3000萬美元,煜闊需要抵押1.8億股股票,而同樣的貸款規模,在2020年12月14日,煜闊只需要抵押1.2億股股票。
時代財經梳理近幾年天瑞水泥的公告發現,該公司2019年12月以來的貸款,目前幾乎已經償還,當時為此質押的股票也基本都解除質押。但最近兩次貸款尚未還清,股票也沒有解除質押。
2023年9月,天瑞水泥貸款8000萬元,煜闊出質4500萬股股份作為抵押;2024年1月,天瑞水泥貸款1.67億元,煜闊出質9700萬股股份作為抵押。兩次出質股份總額約為1.42億股股份,與前述公告被強制出售股份數額接近。
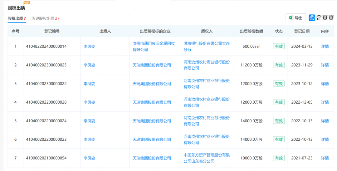
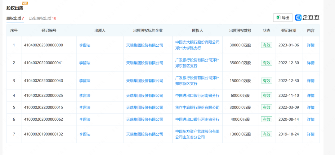
不僅控股股東有大筆出質行為,李留法也多次質押所持公司股票。據天瑞水泥2023年12月8日發佈的《控股股東完成企業重組》公告,經股權穿透,煜闊的母公司為天瑞集團股份有限公司(以下簡稱“天瑞集團”)。據企查查,該公司由李留法及其夫人李鳳孌共同持有,註冊資本20億元,李留法擁有70%股份,認繳資本14億元。

△ 圖片來源/企查查

△ 圖片來源/企查查
企查查顯示,李留法和李鳳孌雙雙出質部分天瑞集團股份。2019年10月至2023年1月,李留法出質天瑞集團13.3億股股份;2021年7月至2023年11月,李鳳孌出質天瑞集團6.42億股股份。

償債壓力巨大,2023年迎來首虧
頻繁出質的背後,天瑞水泥短債大漲,面臨較大的償債壓力。與此同時,公司業績逐年走低,2023年甚至出現上市以來的首次虧損。
據天瑞水泥2023年業績公告,該公司現金及銀行結餘規模為11.75億元,同比增加18.9%。然而公司借款及債券餘額為185.79億元,同比增長93.1%,其中,一年內到期借款、企業債券及其他金融負債為133.45億元,同比增加62.24%。
一年內到期的短期債務與現金規模差距為121.7億元,可見公司償債壓力較大。
近年來,天瑞水泥短期債務與現金規模逐步拉大。據2020年業績公告,該公司現金及銀行結餘為24.12億元,一年內到期借款及短期債務規模為77.80億元,二者差距為53.68億元;2021年現金規模與一年內到期債務差距繼續擴大至57.89億元;到了2022年,這一數字驟增至72.38億元。

△ 圖片來源/圖蟲創意
也是在2022年,天瑞水泥的業績遭遇滑鐵盧。天瑞水泥是國家重點支持的12家全全國性大型水泥集團之一,主營業務為銷售水泥、銷售石灰石骨料和水泥半成品熟料,市場主要集中於河南、遼寧兩地。
據該公司2022年年報,受房地產市場低迷等因素影響,全國水泥需求快速收縮。據國家統計局統計,2022年全國水泥產量21.3億噸,同比下降10.5%,水泥產量為2012年以來最低值,創下1969年以來的最大降幅,同比降幅首次達到兩位數水平。
市場下行,公司業績隨之走低。據其2022年年報,當年公司營收為110.55億元,同比下降13.1%;淨利潤為4.49億元,同比下降62.6%。
以此為開端,2023年天瑞水泥業績繼續走低。據2023年業績公告,受房地產影響,水泥行業需求總量仍呈下降趨勢,市場競爭加劇,產品價格受壓,加之原材料成本高企,擠壓企業利潤。2023年,該公司水泥銷量2520萬噸,同比下降9.0%,平均價格為每噸241.5元,同比下降21.8%。
受此拖累,該公司2023年營收78.89億元,同比下降28.6%,淨虧損為6.34億元,是2011年上市以來首次虧損。

河南前首富商業版圖遍及旅遊、製造、基建、金融
此次股價閃崩,李留法的天瑞水泥市值大幅縮水。作為曾經的河南首富,他的商業版圖是怎樣的?
李留法是河南平頂山人,生於1957年6月,畢業於河南大學。據新財富報道,河南當地人用“靠造火車輪子起家、靠水泥業發達”來形容這位河南前首富。
1983年,李留法創辦生產內燃機電機極氪等火車配件的汝州市鑄鋼廠。1994年,李留法接管鄉辦企業白雲山水泥廠,開始進入水泥領域。1997年,他又接管了平頂山市特種水泥廠在2000年,天瑞水泥誕生。
2011年,李留法將天瑞水泥送進港交所。截至目前,天瑞水泥擁有22條熟料生產線和62條水泥粉磨生產線,年熟料產能3519萬噸,水泥產能5780萬噸,熟料、水泥產能位居全國前列。
以水泥為起點,李留法苦心經營40餘年,一手打造出天瑞集團,形成了以水泥業務為核心,業務遍及旅遊、製造、物流、煤炭、焦化的綜合商業集團,名列中國企業500強第380位,中國製造業500強第195位。
據天瑞集團官網介紹,天瑞旅遊下轄堯山景區、中原大佛景區、福泉大酒店等景區和酒店。其中,中原大佛景區是國家5A級旅遊景區。
天瑞集團鑄造有限公司則是以生產鑄造件、機械製造和藝術鑄造等產品的大型鑄造企業;是生產鐵路貨車用搖枕、側架和車鈎等產品的原鐵道部機車車輛配件定點生產廠,在中國鐵路第六次提速改造過程中提供的搖枕、側架總計149619輛份,各類型車鈎101974套,佔全路總需求量的35%。
中原大易科技有限公司是國家首批無車承運試點企業、無船承運企業,國家AAAA級綜合服務型物流企業,國家首批AAAAA級網絡貨運企業,位列中國網絡貨運平台第五位。
此外,天瑞集團還通過投資進入交通、礦業、房地產、金融等領域。據企查查,天瑞集團投資成立中原軌道交通股份有限公司,直接持股比例65%。據2021年平頂山市第一批重點建設項目名單,該公司是平頂山至堯山旅遊觀光鐵路建設項目的建設主體。
2011年,天瑞集團投資成立中原大福國際機場有限公司。後者是平頂山鷹瑞民用機場有限公司的股東,持股比例為25%。據2021年平頂山市第一批重點建設項目名單,平頂山鷹瑞民用機場是平頂山魯山縣民用機場建設項目的建設主體。
此外,天瑞集團還是長城新盛信託有限責任公司的股東,持股比例為35%,與中國長城資產管理股份有限公司並列為第一大股東。
李留法早已搭建了一個綜合性“商業帝國”,天瑞水泥只是眾多版圖中的一塊,2022年10月,李留法之子李玄煜接任天瑞水泥董事局主席一職,正式完成了事業交接。
撰文丨郭鵬
編輯丨宋然
版式丨陳溪清
-END-