五年八艦!日本海上自衞隊也開始“下餃子”了?_風聞
军武次位面-军武次位面官方账号-专注于高品质的趣味军事科普,打造男人最爱看的频道33分钟前

最近,日本正在為“建設國債案”吵得不可開交。
我們都知道,二戰期間,日本為了籌措戰爭資金,曾經濫發國債,最終導致經濟崩潰。所以戰後,日本一直把不靠發國債彌補防衞費作為不成文的規定。
但是,這個禁忌,最近被突破了。

根據岸田內閣公佈的消息,日本計劃本年度發行5117億日元(約合239億元人民幣)建設國債,用於防衞費,並強調,這是“面向將來的投資”。
那麼什麼是“面向將來的投資”呢?造艦!

根據最新的消息,日本FFM“最上”級護衞艦即將開建第二批次,第二代FFM護衞艦噸位將從5500噸提升到6200噸,數量將增加到12艘,並計劃在2028年完全建成!這規模化造艦的速度除了中國,無人能比!
很多人奇怪,日本人也要下餃子了嗎?


我們都知道,隨着中國的造艦越來越多,日本那邊也開始壓力山大,於是就琢磨着升級一下自家老舊的艦隊。
於是在2014年的“平成26年度中期防衞力量整備計劃”中,日本海上自衞隊正式提出了“多用途護衞艦計劃”,隨後在2018年更名為“FFM-多機能護衞艦”,主要用於替代海上自衞隊老舊的“阿武隈”級護航驅逐艦和“朝霧”級通用驅逐艦,因為首艦名叫“最上”號,所以FFM護衞艦又被叫做“最上”級。

▲最上級最明顯的特點就是最上面的“一柱擎天”
看到沒?光從一個名字,我們就能發現日本人的小心思。
一看“最上”級的噸位,滿載排水量5500噸,比“朝霧”級通用驅逐艦滿載排水量4900噸還多,應該叫驅逐艦吧?但日本卻把“最上”級定位為“護衞艦”。
這其實是日本人的老傳統了,當年日本因為《華盛頓海軍條約》限制,不得不大力發展高性能重巡洋艦彌補戰列艦差距,“最上”級就是典型代表,這一級艦其實算是重巡洋艦,但卻以輕巡洋艦名義服役,藉此符合《華盛頓海軍條約》的要求。

不過服役不久,“最上”級的熊野號就改裝成了重巡洋艦,滿載排水量達1.37萬噸,配備10門203毫米主炮和24枚93式氧氣魚雷,最大速度超過35節,裝甲厚度和防禦設計也超過英美同期重巡洋艦。
而這次日本人搞出的**“最上”級“護衞艦”,其實同樣是玩了一個文字遊戲。**

日本人概念中的“護衞艦”包括DD、DE和FFM,DD是驅逐艦,DE是護航驅逐艦(其實就是護衞艦),那麼“最上”級作為“阿武隈”級和“朝霧”級的替代品,理應也安排一個DE的編號,但日本為了能大量造這級艦,避免DD太多被人指責違反和平憲法,所以給了一個定位FF,意思是護衞艦,這和日本的直升機航母也叫“護衞艦”一樣,充分體現了日本“又當又立”的傳統美德。

按照日本人一開始的計劃,是以每財年2艘的速度,建造22艘“最上”級。但隨着中國055、052D以及054A的大批服役,以及越來越活躍的遠洋訓練,日本人認為覺得2015年設計的“最上”級已經不能滿足需要,所以在造了8艘後就停止了,並計劃將後續艦隻進行升級,增加噸位和垂髮,計劃於2024年開始建造。

▲第一、二批最上級對比
作為日本最新鋭的軍艦之一,“最上”級護衞艦採用全隱身佈局、深V排水型船體、柴燃聯合動力(CODAG)和雙軸雙槳佈局,最大航速30節,全長132.5米、型寬16米、吃水9米,標準排水量3900噸、滿載排水量5500噸。

在武器方面,“最上”級配備一門Mk-45
MOD4型127毫米口徑艦炮、一架SH-60反潛直升機和兩組八聯裝Mk-41垂直髮射系統(少了點),該裝置可容納07式垂髮反潛導彈和改進型海麻雀防空導彈。在艦體中部,則配備兩座4聯裝17式反艦導彈發射裝置。機庫上方安裝1座“海拉姆”11聯近程防禦系統。

“最上”級最明顯的特點,就是頂部的“獨角獸”一體化桅杆系統,整合了四個大型C波段主雷達陣列組成的OPY-2多功能相控陣雷達。而在最頂端的圓棒內,整合了戰術空中導航系統(TACAN)、電子截收系統(ESM)、敵我識別器(IFF)、通信系統等。

如此簡潔的設計,可以把所有傳感器都集成在一起,可減小雷達截面積,降低被探測到的概率。所有傳感器信息都會送入內部高度集成化的圓形戰情指揮中心,自動化程度非常高,所以只需要90人就能玩得轉,倒是挺符合日本少子化的現狀。

除此之外,“最上”級編號最後的一個字母M,代指的Multi-Purpose“多用途能力”,顯然那“最上”級的多用途能力顯然不弱。除了常備的防空和反艦武器,“最上”級也秉承了日本海自重視反潛的特點,擁有完善的可變深度主動聲吶,拖曳被動聲吶陣列,還配備了反水雷聲吶。在飛行甲板下,“最上”級還配備了水雷戰任務艙,可攜帶32枚91式錨雷,還可用無人快艇進行掃雷作業,船尾部還有兩個大型釋放口,可投放無人艇和水下機器人。

這種設計,顯然是受美國的瀕海戰鬥艦影響很大,多用途作戰能力相比老艦,有了質的飛躍。

顯然,“最上”級的定位,就是一款“驅逐艦水平”的“護衞艦”,非常符合如今“護衞艦大型化”的潮流,具有自動化程度高、隱身性能好、續航力強、航速快、船電系統先進、多用途能力強等優點,顯然是未來日本海上自衞隊“走量”的艦型。
不過有意思的是,“最上”級並沒有編入主力護衞羣,而是編入了地方護衞羣。
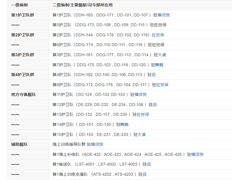
二戰後日本海自分為兩大塊,一個是自衞艦隊(4個護衞艦羣、航空集團、潛艇艦羣、掃海艦羣、情報業務羣、海洋業務羣、開發業務羣、特別警衞隊),另一個是5個地方隊(橫須賀地方隊、吳地方隊、佐世保地方隊、舞鶴地方隊、大湊地方隊)。

其中,護衞艦羣就是我們曾經熟悉的“八八艦隊”,擁有8艘水面艦艇與8架反潛直升機的機動反潛艦隊(後來升級為九十艦隊),是日本海自絕對的主力,以往與美軍進行演習,都是4個護衞艦羣出動的。

而地方護衞羣主要負責近海防禦護衞,下設13個分隊,其中7個分隊將配備“最上”級。
這樣一來,有了“最上”級這種“萬金油”角色的加入,近海防禦的壓力大大減小,原本屬於地方護衞羣的一些驅逐艦,都可以拉出去加入遠海任務,那麼日本可以用於遠洋作戰的海上力量,將翻倍式地提高!

更關鍵的是,第二批“最上”級已經增加了噸位了,考慮日本可能逐步搞定“一坑四彈”技術,那麼“最上”級的實際載彈量也可能由此提升,不僅能夠大大提升日本遠洋艦隊的綜合防禦能力,而且日本還能以此為基礎,直接升級為新的大型通用驅逐艦!

毫無疑問,這種模式幾乎和二戰的“最上”級升級之路如出一轍。如果這種行為是受到美國默許的話,舊日本海軍的幽靈就完全有可能死灰復燃!
更恐怖的是,“最上”級已經成為世界上近年來造艦最快的護衞艦之一,首艦FFM-1 最上號是2019年10月29日開工,2021年3月3日下水,2022年4月28日服役,從開工到下水歷時 491 天,從下水到服役歷時 421 天。

然後可能是造得熟練了,“最上”級越造越快,第5艘FFM-5矢矧號從開工到下水歷僅用了 364 天!然後第八艘FFM-8湧別號在2023年11月14日下水,到現在已經過去了半年,很可能在今年年底服役!

如果我們做個對比的話,2019年到2023年12月,中國造出了14條054A和8艘052D,看起來日本5年搓8艦這個速度暫時沒法跟中國比,但放在世界上看,已經算是神速了!
考慮到日本不弱的造船能力、新的萬噸大驅ASEV驅逐艦計劃、第二代FFM計劃,還有現在已有的幾十艘驅護艦艇,可能在2030年,日本就可能完成這一批下餃子計劃,主力艦艇超越百艘!屆時,日本將遠超英法等老牌歐洲國家,一躍成為世界海上力量第三強!

造這麼多艦,顯然不是拿來看的。
我們發現,近年來日本正趁着中美博弈,加速突破《和平憲法》開展擴軍步伐,甚至有可能成為中國海軍最直接的威脅,在美國不方便出手的時候,日本海自很可能成為美國對華擦槍走火的馬前卒。

對此情況,我們必須報以高度警惕。
更多有趣好玩的軍事文章、視頻、圖片、電影、遊戲,請關注“軍武次位面”微信公眾號。打開微信,公眾號搜索“軍武次位面”點擊關注!