中金公司一季度人均月薪3.5萬元,同比降幅36.78%,透露哪些信息?_風聞
困不困不困-15分钟前
轉自:每日經濟新聞
證券從業者曾經作為“金領”,備受外界關注。但高強度的工作下,不可避免面臨着壓力與焦慮。
7月3日,有關中金公司上海地區一“94年”女員工離世的消息在社交媒體引起熱議。
對此,7月3日下午,中金公司方面對《每日經濟新聞》記者表示:“近日,我司上海地區一名員工不幸離世,我司對此突發事件感到非常悲痛,並向員工的家人朋友表達了深切的哀悼。我司已第一時間成立專項小組,和員工家屬共同面對這突如其來的變故,妥善處理好相關事宜。對於網傳我司員工跳樓謠言,希望大家尊重逝者隱私,不信謠、不傳謠。”
網友為年輕逝者惋惜
對於這位年輕逝者,社交媒體上也有不少網友表達惋惜之情。
有網友扒出了她一篇微信公眾號文章,其中提及“才發現這大千世界,包羅萬象,生活因此而無限可能”。該網友評論道:“看起來是個曾經很熱愛生活的小姑娘,真難過。”
也有網友嘆息:“不要試着通過對比尋找自己的價值,而是發自內心去探尋生活和工作的意義。祝大家一切順利,希望您真的解脱。”
還有一些網友感嘆:“金融有周期,人無再少年。”
有券商組織“情緒調節與平常心面對壓力”課程
年輕生命的逝去,讓網友感嘆的同時,也對整個行業生態進行了重新審視。在高壓工作中,之前也有不少金融業員工離世的悲劇消息,為從業者身心健康管理敲響警鐘。
2019年5月,螞蟻金服高管毛軍華抗癌失敗,不幸離世。此前,毛軍華曾在中金公司任職MD,並多年連續獲得新財富最佳分析師。
2021年3月,國金證券一名投行員工因呼吸心臟驟停去世,年僅39歲,國金證券為其舉行追思會。
一位華東地區券商從業者表示,今年以來,感覺各個業務條線壓力都不小。“比如一線業務部門,投行進入寒冬、研究所面臨降費改革壓力自不必説。就是後台壓力也大了很多,且有些壓力是無形的。比如我做輿情管理,就如同做媒體跟新聞一樣,隨時處於待命狀態。”此外,她還透露,目前其所在券商每個人工作內容都很充實,其所負責的領域不但包括輿情管理,還有文化建設、鄉村振興等事務的協調。
對中金這位年輕女性的逝去,她也表達了惋惜,“行業景氣度下行,有些家庭財務負擔重的,即使收入也能覆蓋支出,但盈餘少了心理壓力肯定會變大。就比如我家的貓上次生病了,做胃鏡花了2700元,以前我不覺得多貴,這次我就感嘆我自己做胃鏡才600多元。心理壓力是無形的”。
值得一提的是,7月3日下午,在中金出現員工輿情之後,上述華東地區券商從業者所在公司組織了一場有關“情緒調節與平常心面對壓力”的課程。“我們員工關懷活動還是很多的,之前還有音樂療愈的課程,我太忙了根本沒空去。但據去過的同事講,還是很有效的。”
中金公司人均薪酬連續下降
作為人力密集型行業,證券行業一直將人才隊伍建設作為工作重點。
2010年至2021年,受創新業務推進、IPO擴容、財富管理轉型等影響,證券行業曾連續大舉招聘擴容。但自2022年以來,隨着資本市場震盪加劇,證券行業從業者人數增長出現瓶頸。根據Wind統計數據,在2022年四季度末,證券行業從業人員總數達到354068名的高位後,券商從業者數量開始波動下行。截至2024年一季度末,從業人員總數下降至348651名,減少了5417名。

此外,薪酬方面,2022年5月,中國證券業協會發布《證券公司建立穩健薪酬制度指引》(以下簡稱《指引》),要求證券公司建立穩健的薪酬制度,健全薪酬激勵約束機制。《指引》出台後,疊加行業淨利潤波動,證券行業員工人均薪酬也出現下滑。
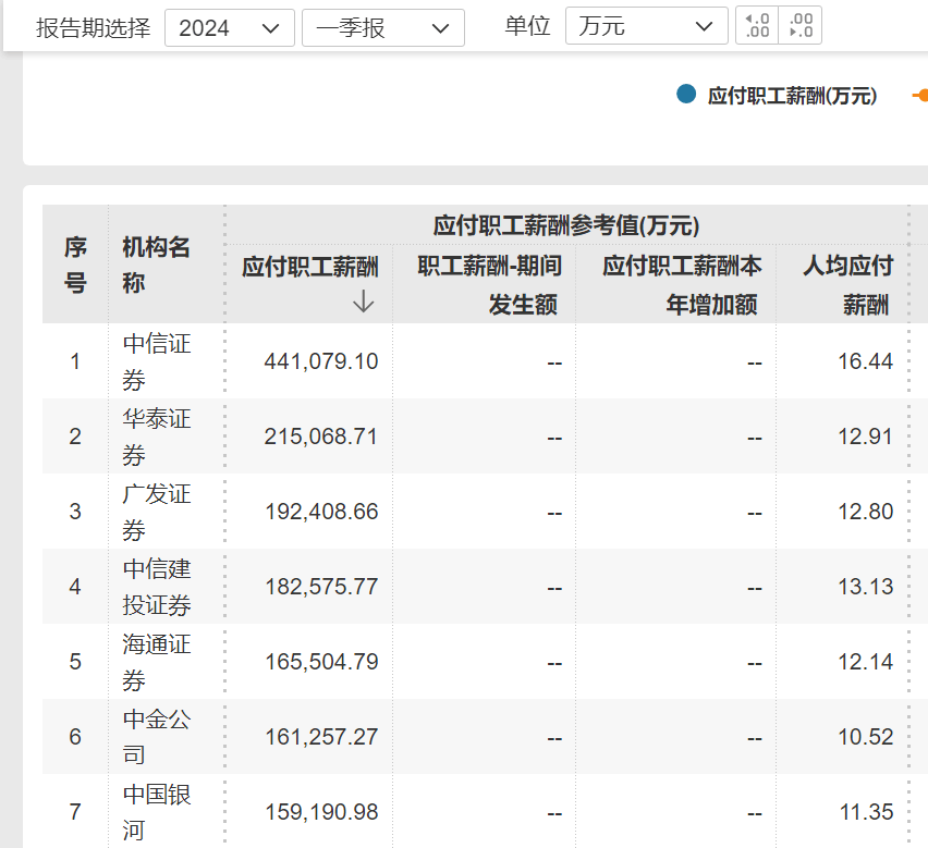
本次輿情中的焦點中金公司就曾經是高薪代表。Wind資訊統計數據顯示,2021年度該公司人均應付薪酬約為116.43萬元,人均實發為93.90萬元。當年公司員工人數從9372名增加至13557名。

2022年中金公司人均應付薪酬降至81.96萬元,但人均實發薪酬達到99.11萬元,員工人數從13557名增加至15168名。

2023年,中金公司人均應付薪酬繼續下降至70.04萬元,人均實發約為88.51萬元,員工人數從15168名小幅增加至15327名。

也就是説,2021年~2023年,中金公司員工人均薪酬從116.43萬元下降至70.04萬元,減少了46.39萬元,累計降幅為39.84%。而進入2024年之後,降薪趨勢似乎並無緩解跡象。
Wind金融終端按照一季報估算,一季度中金公司人均應付薪酬約為10.52萬元,而2023年同期為16.64萬元,同比降幅為36.78%。
一個季度賺10.52萬元,也就是説月薪達到3.5萬元,看似仍是高薪,但同比卻下降明顯。記者往前追溯後發現,2020年一季度,中金公司人均應付薪酬為29.67萬元,員工月薪近10萬,四年時間累計下滑近65%。



但正如不少網友多次提到的“金融有周期,人無再少年”。重壓下的各行各業打工人都應注重身體健康、適度休息。
儘管薪酬出現下調,在《2023年度社會責任暨環境、社會及管治報告》中,中金公司仍以“以人為本,護航成長”為題,闡述了對人才隊伍建設與員工關懷相關話題。