所以那些有問題的大豆油都運去哪了?_風聞
雷斯林-雷斯林官方账号-53分钟前
作者:雷斯林公眾號:雷叔寫故事 / raistlin
繼續説“裝完煤制油的油車不清洗,馬上就裝豆油的事情”。
現在幾家大型糧油企業,表示他們的只管賣油,這些“散油”是由購買方自己找車來拉的,他們沒法管,但他們自己的產品絕對不會出現這樣的事情。

細看新京報的調查,發現他們追蹤了運油車從哪裏來,去哪裏裝油,但卻沒提到這些大豆油的去向。
乃至於一些博主惡意推測:
“大豆油也有工業用途,會不會這些大豆油根本就是被工廠拉去做工業品了,新京報故意隱去大豆油的去向,就是為了攻擊央企。”



這裏我們不提價值判斷,還是回答最重要的那個問題:
新京報報道的兩輛車去哪了?
真的是送去做工業品,新京報是惡意帶節奏嗎?
答案是否定的。
關於這個問題,推薦大家看B站博主@高劍犁的最新視頻。
BV號:BV1nS411w7Bh。

博主通過新京報的視頻,查到了兩輛車的去向。
尾號為65Z的第一輛車,送去的企業在物流單上能查到,叫“河北物流集團金屬材料有限公司”:

這公司的主營業務是批發、運輸鋼鐵材料,大豆油確實不一定是用來吃的。
而尾號為76W的車,雖然視頻裏全程給車輛尾號打碼,但是在過秤的時候,車牌號還是顯示出來,是“冀E5476W”。

在大貨車裝了GPS的情況下,大貨車的位置,其實是公開信息。
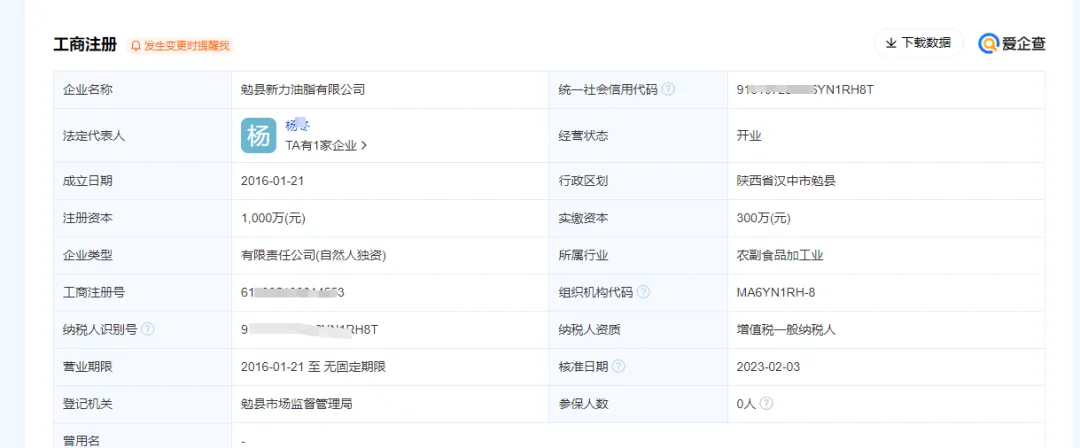
博主通過查閲貨車軌跡,發現最後這輛車裝了36噸“問題油”,最後送去了“陝西省漢中市新力油脂公司”。
這家公司的主營業務就是“農副食品加工”,主營業務為:
初級農產品收購;農副產品銷售(除依法須經批准的項目外,憑營業執照依法自主開展經營活動)。許可項目:食品生產;食品經營(銷售預包裝食品)(依法須經批准的項目,經相關部門批准後方可開展經營活動,具體經營項目以審批結果為準)。


我查到他們2022年被行政處罰的公告,説是生產無標籤的預包裝食品,最後被沒收了76瓶菜籽油:

説明他們就是賣食用油的:

這是典型的鄉鎮企業,這些“問題油”,最後多半就是被當地老鄉給吃掉了。
博主的調查不限於此。
鑑於這司機這次裝完煤油沒有清洗就裝大豆油,合理懷疑以往他也不一定會清洗,所以博主繼續調查這輛貨車,最後發現這輛車每次都是先從寧夏的“國能寧煤”運送煤制油去全國各地,然後返程拉上食用油賺外快。
有時候把煤油送去廣東,然後把東莞的食用油送去河南駐馬店遂平縣。
有時候把煤油送去廣東,然後把東莞的食用油送去陝西咸陽。
他送貨的名單裏甚至還有不少知名大企業,但是在送大企業之前有沒有清洗油罐,我們就不得而知了:

這其實也解釋了為什麼新京報沒去追蹤這些貨車的去向,因為涉及的大小集團太多,利益過於複雜。
調查記者也有自己要應付的壓力,過去甚至有調查記者因為揭開黑幕被打擊報復的案例,你不能要求他們什麼都承擔。
這位新京報記者能實名做到這步已經非常非常了不起了,這時候還跑去污衊他的,感覺也有點太沒良心了。
昨天已經説了,這事和所有人有關,絕對不能因為説什麼牽扯麪積太廣就不了了之。
現在大家火力集中在賣方,但其實買方和運輸方也有非常大的責任,也應該大規模排查。
我最新看到的話術是“煤制油不是煤油,吃不死人,大家不要被帶節奏了”。
也不知道到底是健康重要,還是“別被帶節奏重要”。
要知道“未精製或低級精製的礦物油”可是一類致癌物。也就是説,假如這車裏只是混入煤油,也是妥妥的致癌了:

還是那句話。
只要這事是真的,我希望最後的結果,友善點。
起碼不該是報道的記者有問題,也不該是大家的嗅覺有問題。
不要覺得“不可能改變”就啥也不説,啥也不做。
不要説什麼“別的國家也不好,就認為這是正常的”。
沒有人想吃混了煤制油的大豆油。我們不該吃,那些鄉鎮的老鄉們也不該吃。
食用油車應該專車專用,我們也值得吃專車專用的食用油。
這事和我們的生活息息相關。
不要比爛,不要陰謀論,找到人負責,努力讓我們的生活環境變得更好一點。
我覺得這是一個很簡單的道理,不是嗎?