每個隊的隊史,都藏着一部《甄嬛傳》_風聞
后体工队长-体育撰稿人-43分钟前
除了國企五強、民企五大冠軍球隊,CBA還有不少支特別的球隊,每個隊都有各自的故事……
前情提要:
CBA摺疊之民企五冠:遼粵軍疆川*******
吉林東北虎:最傳奇夫妻店
吉林九台農商銀行是CBA最特殊的存在,球隊所有權歸屬於孫軍夫婦,孫軍持股95%,其妻子蔣利持股5%,是一家不折不扣的夫妻老婆店。

吉林隊隊史充滿故事,分別歷經“三個大忽悠”,期間張愛軍、孫軍你方唱罷我登場,算是一支非常傳奇的球隊。
第一大忽悠:精英集團的CNBA
吉林男籃有悠久的歷史,1984年甚至拿過全國冠軍。然而,1995年的全國八強賽他們僅獲第七名,未能獲得征戰CBA元年的機會。
國家隊主力前鋒孫軍一度無球可打,每日啤酒、麻將度日。
1996年,吉林隊迎來轉機。
一個模仿NBA的山寨聯賽CNBA創辦,吉林隊是參賽隊之一。球隊獲得了香港精英集團注資,他們不僅給孫軍開工資,還給吉林隊找了四個外援和一個外教,包括具備NBA履歷的範德普爾。
吉林隊輕鬆拿下總冠軍,孫軍也理所當然的得到MVP。

這支傳統的體育局球隊,感受了一回“先進”俱樂部的運作模式,原本拿着500塊月薪的孫軍,工資加獎金接近百萬。
可是好景不長,第一個賽季還沒結束,他們的工資就沒着落了。
這個空殼公司原本想依靠商業運作,獲得源源不斷的贊助收益來抵消開支,他們顯然高估了90年代的籃球市場,加上涉及對NBA的侵權,導致CNBA最終不了了之。
孫軍的50萬欠薪也沒能要回來,他們只能乖乖回去打甲B聯賽。

1998年空軍解散,吉林男籃幸運的殺進CBA,吉林東北虎俱樂部在這一年正式成立,張愛軍作為球隊老闆粉墨登場。
張愛軍是一個很“神奇”的老闆,從建隊起,他就給吉林隊注入了“自負盈虧”的DNA,據早期媒體報道,為了買下吉林隊,張愛軍不惜賣掉了自己的產業。
根據工商等級查詢,最早吉林隊的大股東是吉林省外貿經貿公司,隸屬於省外經貿廳,但張愛軍是企業法人,可以看成承包或者掛靠經營的性質,雖然抬頭看着唬人,根據早期報章的信息,張老闆主營糧油生意。

張愛軍
簡言之,張愛軍遠非“土豪”,每年他們都是靠賣門票以及贊助商的錢勉強度日,他們的贊助商一年一變:第一年叫吉林野力;第二年叫吉林大禹……
第二大忽悠:騙貸28億的“理髮師”
2001年,張愛軍換了個活法,他把球隊的股份賣給了吉林恆和集團,張愛軍搖身一變成了球隊總經理,孫宏偉成了球隊老闆。
這位孫老闆可大有來頭,初中畢業幹美容美髮起家,遇到“貴人”提攜創辦恆和集團。90年代末,先後入主長春燈泡廠、拖拉廠等國企,瘋狂套取國有資產。
以收購長春半導體廠為例,孫老闆以承擔企業3410萬債務,並注入2000萬資金為代價,從國資手裏拿到了80.6%的股份,這家為“兩彈一星”做出重大貢獻的企業一夜之間成了私企。這2000萬資金注入,從工銀吉林分行借出,在工商登記變更完成後一週,就直接抽走。
依靠這樣的方式,孫宏偉兼併了十多家企業,累積從工行吉林分行貸款28.06億元。
恆和入主後,吉林東北虎連續兩年排名第三,打出歷史最佳戰績。當年連姚明率領的上海東方大鯊魚都在吉林客場栽了跟頭。然而風光不到兩年,2003年,“理髮師”孫宏偉被人發現早已跑路。

知情人透露,當年提攜他的貴人“小申子”,母親正是吉林省工行行長。後來,他被加拿大媒體“曝光”,在温哥華炒房,活的很滋潤。
2003年,恆和集團的倒閉,讓吉林隊陷入動盪,欠了一屁股債,張愛軍不得不請辭。
萬般無奈之下,孫軍幹起了世所罕見球員兼總經理的活,這支季軍球隊因經費問題,甚至搬到郊區工廠車間進行訓練。

缺少實業的輸血,吉林隊只能“自負盈虧”,聯盟第三的成績,球員們拿最低的工資,除了孫軍、李愛軍拿年薪之外,王博貴為“國手”也只拿5000元月薪。
孫總經理甚至找到南航,把遠赴客場的差旅費砍了一半。吉林主場的門票收入在200萬左右,僅次於宏遠,加上和吉林通鋼簽下了三年贊助合同,孫總經理的第一個賽季,還是帶隊衝進了CBA四強。
2005年,孫軍退役。球隊的股權拍賣也無人問津,體育局乾脆把84%的股份轉給了孫軍,孫總又成了孫老闆。
2007年,吉林無緣季後賽,體育局找來一個下家邁爾通達集團,且號稱給錢就賣。但孫軍堅決不同意球隊出售給私企,但各級領導輪番向其施壓,孫總只能乖乖讓出了84%的股份。轉讓協議裏,對球隊充滿感情的孫軍加了一條,邁爾通達5年內不允許把東北虎賣給外省企業。
沒了股份的孫軍,被安排了副董事長一職。虎王辭職,南下東莞。
而孫軍辭職的第二天,張愛軍就搬進了總經理辦公室。

這次隨張愛軍一起回來的,還有之前一起離開的郜樹敏指導,而此番回到吉林,他不惜放棄了人民大學優厚的待遇(07年退掉了人大分的一套房)。
新的投資方邁爾通達是索尼、松下、夏普等品牌的一級代理商,並非一擲千金的土豪,剛收購俱樂部,就開始為隊員發工資而發愁。沒有金錢加持,也沒有主心骨孫軍,吉林打出7勝23負的糟糕戰績,業餘的管理層,甚至沒搞清楚換外援政策。“魔鬼主場”的上座率下滑,球隊也沒少遭到長春媒體的口誅筆伐。
2008年1月,體育局將16%的股份也全盤轉讓給邁爾通達,但令人意外的是,僅僅過了半年,邁爾通達將100%的股份轉給了吉林東北虎消防工程有限公司。
這個公司由……張愛軍控股。
所以總的來説,張總迴歸一年以後,又變成了張老闆,這一把騰籠換鳥的操作,除了達到了讓孫軍出局的目的,剩下的只是對球隊無盡的傷害。
就是在張老闆完全控股的這一年,聶金強、杜江、趙阿南等人紛紛離隊,王博也只是被勉強留了一年,吉林的CBA季軍班底徹底解散。

第三個大忽悠:黃健華
2009年,黃健華收購吉林隊的消息被媒體鋪墊蓋地的報道。媒體普遍報道稱黃老闆和吉林隊完成股份轉讓,同時提出成績目標——新賽季進8強,下賽季進前三,未來要奪冠。
然而,沒等來黃老闆的巨資,球隊先失去了隊長王博,青年隊頭牌孫桐林也去了東莞新世紀,吉林隊完全由小鬼當家,於澍龍、張彪、鍾誠等很多主力甚至還不滿20歲。
黃健華協助龍潤茶在香港上市
雖然所謂的收購屬於誇大其詞,吉林隊從未完成過工商變更登記,但黃老闆確實給球隊拉來了龍潤茶這個贊助商,媒體報道的贊助金額為1200萬。
彼時,炒作普洱茶還屬於行業風口,龍潤茶剛剛完成資本運作,登錄H股,黃健華代表火箭投資(Rocket Capital,火箭前老闆萊斯利·亞歷山大的投資公司)以0.3港元認購1億股,成為其第二大股東,在三個月以後,黃健華就套現了4000萬股。
2019年,這支“中國普洱茶第一股”,從港交所退市。
黃健華“入主”的第一個賽季,吉林隊僅取得13名的成績。郜樹敏辭職,隨後張愛軍也離開球隊,他們攜手遠赴山西上任。
此時,黃老闆從東莞請回虎王孫軍。然後“大忽悠”黃健華漸漸消失在公眾視野中。

黃建華那幾年動靜不小,又要收購騎士,又要收購利物浦
而吉林隊從孫軍這一次迴歸開始,正式進入孫軍夫妻老婆店的經營模式,維持至今。
值得一提的是,張愛軍、郜樹敏當年離開,還帶走了俞長棟等潛力新人,組成“吉林幫”投奔王興江。之後“吉林幫”又照搬平移到新疆隊,張愛軍擔任新疆總經理期間為球隊拿下CBA總冠軍,郜樹敏指導成為新疆青年隊主教練,帶領球隊多次拿下全國冠軍,培養出阿布都沙拉木、唐才育等名將,俞長棟成為球隊奪冠的重要輪換。

郜樹敏
十幾年來,孫老闆小本經營,靠着CBA聯賽的分紅,加上九台農商銀行持續的贊助,能實現收支基本平衡,屬於CBA俱樂部中的異類。
當年接手時,從張愛軍手下搶下來的鐘誠(已經去山西,被吉林體育局攔下),成為球隊主教練。
不過,新賽季雙外援的衝擊,恐怕會讓吉林隊經受不小的考驗。
*******
江蘇+浙江:僅存的體育局球隊
江蘇南鋼、浙江萬馬是老球迷記憶中的名字,這兩隻球隊都是CBA元年的參賽球隊,而時至今日,他們還都保留了省體育局的股份。
江蘇男籃:落魄貴族、一聲嘆息
1995年,胡衞東正值巔峯,拿下CBA元年MVP、得分王和三分王獎項,被譽為“中國喬丹”。當時的江蘇隊還是純體育局球隊,縱使老胡發揮神勇,球隊也只是勉強保級。
1996年,乙級隊江蘇南鋼1分之差衝A失敗,兩隊完成合並。江蘇南鋼龍俱樂部正式成立。南鋼股份佔股70%,體育局佔股30%維持至今。

雙方“牽手”的第一賽季,就取得聯賽第5的好成績,隨後的多個賽季,江蘇南鋼都穩定在季後賽行列。

位於江北的大廠,是眾多南京市民的記憶,南鋼在內的四家大廠鑄就了整個南京工業歷史。而每到CBA比賽日,位於大廠幸福路77號的南鋼體育館總是座無虛席,媒體甚至報道,球館的上座率永遠超過100%,因為連過道都會被熱情的球迷塞滿。
2000年,南鋼股份在上交所掛牌上市,集團年產值破百億,人均利潤在全國38家大型鋼鐵企業中排名第四。也在這一年,17歲的唐正東、19歲的胡雪峯升入一隊,加上21歲的張成,三位來自蘇州的小將成長迅速。
2004-2005賽季,江蘇南鋼迎來巔峯。34歲的胡衞東兼任球隊主教練,唐正東蟬聯了賽季得分王及MVP,胡雪峯拿下賽季助攻王,胡衞東在常規賽還有單場55分的表演。他們以35勝3負的驕人戰績拿下常規賽冠軍,一度創下20連勝的神話。
然而,冠軍近在咫尺。生死戰擁有主場優勢,末節一度領先16分,最後卻被廣東逆轉奪冠。這一場球是胡衞東CBA的謝幕演出,6投0中,未建寸功,南鋼龍冠軍夢碎,目送宏遠建立三冠偉業。
之後,雖然多個賽季穩居前三,江蘇男籃再也沒有觸摸過總決賽地板。南鋼與體育局之間的矛盾,也逐漸顯現。

雖然擁有70%的股份,南鋼並未得到應有的話語權。為了遼寧全運會,體育局單獨與八一體工隊進行“人才交流”,主力後衞韓碩加盟八一,八一女籃兩位國手張曉妮和陳麗莎加盟江蘇,最終江蘇女籃拿下全運會亞軍(可折算兩枚全運金牌),交流在體育局層面非常成功,但南鋼俱樂部需要承擔痛失韓碩的損失,這讓南鋼方面無法接受。
更為奇葩的是,胡雪峯希望調衡藝豐等希望之星上一隊,但體育局開價20萬/人,俱樂部每年已經給青年隊支付100萬培養費,不願意多花這20萬。長期的矛盾,讓江蘇這個籃球大省,青訓人才大量流失。

衡藝豐在國青曾有不錯的發揮,也被認為是非常可惜發展不如預期的代表
2008年,南鋼大幅度減產,每個月虧損達到2000萬元。鋼鐵行業進入寒冬。為了生存,球隊也第一次將主場搬到南京以外,蘇州、江陰、常州等地都曾成為球隊主場,球隊只能靠贊助商的輸血以及地方體育局的支持維繫球隊。
2010-2011賽季,江蘇男籃還能靠深厚的底藴,拿到常規賽第4,季後賽也殺進了前四。但這個賽季結束後,唐正東遠走新疆,江蘇南鋼的黃金時代戛然而止。2012年開始的四個賽季,江蘇隊的成績分別是17、14、11、14,球隊陷入了前所未有的低谷。

2012年、2013年南鋼股份持續鉅額虧損,被戴上了“ST”的帽子。2014年,勉強扭虧保住了上市公司顏面,暫時躲過了退市風險。
2015年,南鋼以5000萬的價格出讓70%的股份,來自丹陽的民營企業肯帝亞集團接手,屬於江蘇南鋼的時代就此結束。
球隊開始在省內漂泊,蘇州、南通、常州等地都有過肯帝亞男籃的足跡,唯獨省會南京,這一塊市場,已經基本拱手讓給小老弟同曦。
浙江稠州金租:唯一銀行控股球隊
CBA賽場上,從未少了“銀行”的身影。但銀行作為控股方的只有稠州銀行這獨一家。
2019年10月,稠州銀行從萬馬集團手中拿下浙江男籃的80%股份,把球隊帶到了民營經濟的“弄潮兒”——浙江義烏。當年,稠州銀行發展迅猛,位列中小型城市商業銀行競爭力第四,當年資產就高達183.11億元。

這一年,時任國務院總理在《政府工作報告》徵求意見座談會上,特意聽取了泰隆銀行董事長王鈞的彙報,要求監管機構全力支持城商行的發展,希望資本市場出現一批有特色的城商行隊伍。
同年3月,稠州銀行進入義烏市擬上市企業名單,開啓上市步伐。地方性城農商行嗅到了IPO的機遇,CBA一度有7家銀行贊助球隊,他們無一例外是城農商行,目的都是想借助CBA這樣的平台,擴大全國性影響力。
明面上,浙江體育職業技術學院保留了20%股份,但在俱樂部的董事清一色是稠州銀行方面的人,體育局並無投票權。稠州銀行負責幫省體育局組建全運會代表隊,除此之外,球隊和其他職業俱樂部並無兩樣。

稠州銀行負責組隊參加全運會比賽

稠州銀行由62家企業持有超過98%的股份,可以視作為民營企業的聯合艦隊。義烏人的dna決定了他們具有極大的靈活性,球隊一度“揮金如土”。
2011年,NBA停擺,稠州銀行以税後288萬美元的天價年薪簽下JR史密斯,JR史密斯創下過多項驚人數據,包括單場爆砍60分和5次50+的表現,可謂賺爆了眼球。
賽季結束前,大牌外援們紛紛“跑路”,和大部分球隊忍氣吞聲不同,義烏人可不是好惹的。
JR史密斯被扣發了106萬美元的工資,原因是缺席80多次球隊訓練,甚至連俱樂部墊付的10.8萬元“家屬招待費”也被追討,這些規定都明明白白的寫在最初的合同上。

不論JR史密斯還是昆西杜比,重金砸來的外援,都沒能帶來理想的好成績。這讓稠州銀行下決心在青訓上持續投入。
2013年,吳前、賴俊豪這一批球員首奪青年聯賽冠軍;劉維偉又帶領劉澤一、王奕博們拿下U16、U17冠軍;餘嘉豪這一批也拿到了U17冠軍……
重視青訓、結出碩果,“浙”支球隊在2023年殺入總決賽,創造球隊最好成績。

稠銀大廈有一片籃球場,每年職工籃球比賽在這裏上演,稠州金租就在大廈三樓辦公
*******
上市又退市的球隊:南京同曦、廣州龍獅
廣州龍獅:CBA第一股遇到了點麻煩
廣州龍獅的前身是陝西東盛,2010年9月,茂名首富鍾乃雄持有的能興控股完成對“西北狼”的收購,球隊搬遷至佛山。
2016年,球隊又將主場遷至省會廣州,改名“廣州龍獅”。
2017年9月,龍獅籃球俱樂部在新三板掛牌上市,成為CBA首支上市的球隊。

根據龍獅俱樂部第一份成績單——《2017年度報告》顯示,當年實現營業收入6814萬元,比前一年在佛山時期翻了一倍。其中球隊遷至廣州,市體育局給予了1300萬獎勵,廣州證券贊助球隊1773.58萬元。
靠着這部分補貼,球隊在2017年度實現了盈利。但公司未分配利潤-9092.40萬元,這意味球隊這幾年虧掉了近1個億,雖然第一年便引進馬布裏,但在前六年,球隊從未打入季後賽。
2018年,球隊歷史性第一次打進季後賽。2018年度營業收入達到9647.95億元,較前一年度又增加了41.59%,淨利潤也增加到813.61萬元。
這主要得益於CBA聯賽的分紅大幅度提升,達到2147.91萬元,球隊又得到時代中國控股的冠名,獲得1332.21萬元贊助費。
也是在2018年,位於佛山新城CBD核心區域的國際文化演藝中心落成,能興集團投資20億元興建,建築面積15.5萬平方,是文體演藝、商務辦公、零售餐飲等多功能於一體的“文娛商業綜合體”,也是2019男籃世界盃8大場館之一。
投資龍獅俱樂部只是鍾老闆拓展體育版圖的第一站。
2016年,鍾乃雄向香港“東方體育會”注資3000萬港元,讓1927年成立的東方俱樂部,改名東方龍獅隊;2020年,能興集團收購法乙球隊索肖;同年,完成對eStar俱樂部LPL席位的收購。


不管是營收還是近利潤,2018年度都是歷史最高點
2020年8月,郭士強出任廣州龍獅主教練。第一個賽季就把球隊帶進季後賽附加賽,第二年更是歷史性打進前八。更重要的是,球隊的年輕人逐漸成長,崔永熙、焦伯喬、李炎哲等00後球員迅速成長,球隊看起來前途無限光明……
然而,多元化發展的能興集團遇到了流動性危機。由於疫情影響,球隊的經營也是“入不敷出”。
《2022年度報告》顯示,龍獅籃球俱樂部營收下降到6564.44萬元,甚至低於上市第一年。實際上CBA公司的分紅達到了2667.42萬元,營收佔比40.63%,時代中國控股贊助1603.77萬元。除此以外,由於疫情原因票房收入為0。要不是母公司能興集團自我輸血1603.77萬元,俱樂部實際虧損將超過4000萬元。為了填補營運資金的缺口,龍獅俱樂部還像中國銀行佛山分行貸款910萬元。
最終,龍獅籃球俱樂部在23年12月4日不幸退市。其實早在7月份,索肖隊因財政赤字被迫接受降級處罰。
之後的故事,大家都很熟悉。

球隊傳出欠薪傳聞,李炎哲在賽季中期就被賣到新疆隊幾乎證實了這一點。今夏又走了陳盈俊、祝明震、郭凱、賈明儒等人,球隊將在新賽季被迫擺爛。
龍獅俱樂部自己推出了一款“換老闆”為主題的T恤,但當下的經濟形勢,換老闆又談何容易。
南京同曦:網紅隊日子也不好過
2005年,江蘇隊差一點拿到聯賽冠軍,當時球隊叫南鋼同曦隊。當時,同曦是江蘇南鋼的贊助商。
同曦集團被稱為“江寧一哥”,通過石油貿易積累第一桶金後,抓住江寧撤縣建區時機,開發了十多個商業及住宅項目,其中同曦鳴城、同曦假日百貨、同曦萬尚城,合稱江寧三大商業,形成了完整的商業鏈,一手打造出了江寧勝太路商圈。
“一哥”不想只當贊助商,他們始終想獨立組建一傢俱樂部。2007年,同曦籃球俱樂部正式成立。
最早,他們叫江蘇同曦。

為了衝擊CBA,他們甚至有兩年搬遷至安徽。最終他們用整整7年時間,花了2個億衝上CBA。
有意思的是,他們被媒體報道為江蘇第一家職業籃球俱樂部,他們拿下的NBL冠軍,也被認為是江蘇男籃歷史上第一個全國職業聯賽總冠軍。
2017年,江蘇同曦改名南京同曦,“同曦籃球”(872371)正式登錄新三板。

雖然上市,同曦籃球屬於典型的家族企業
根據《2017年度報告》,同曦俱樂部2017年營收4151.81萬元,扣除CBA聯賽分紅,最主要的收入是同曦集團的輸血,達到2119.81萬元。除此之外,同曦俱樂部還有500萬銀行貸款。
雖然賬面上2017年,同曦俱樂部淨利潤達到508.74萬元,但他們自我造血能力相比龍獅俱樂部,存在一定差距。


疫情前的2019賽季,同曦俱樂部營收及利潤達到頂峯
有意思的是,雖然趕時髦上了新三板,同曦俱樂部長期沒有尋求第三方贊助商,企業營收只有集團注資、聯賽分紅及少量球員交易收入,然而,同曦集團的注資金額並不穩定,甚至在2020年度,暫停了隊球隊的輸血。
2019年達到營收、利潤頂峯後,俱樂部層面的經營就遇到了很大的麻煩。最終在2023年底,“同曦籃球”從新三板退市。


長期以來,同曦俱樂部都是聯盟“魚腩”,從未摸到過季後賽地板。但在話題度方面,他們可一直是聯盟“頂流”。前任總經理霍楠雖然昏招頻出,給孫鳴陽之流奉上頂薪,但也為球隊招攬了潛力新人林葳,加上西熱力江、李雲開兩位流量網紅,這個球隊從來不缺少話題度。

今年夏天,經過總經理劉家成的努力,同曦俱樂部獲得了比較大的提升,王嵐欽的三年使用權換來了祝明震,還簽下了郭昊文。球隊有機會向季後賽發起衝擊。
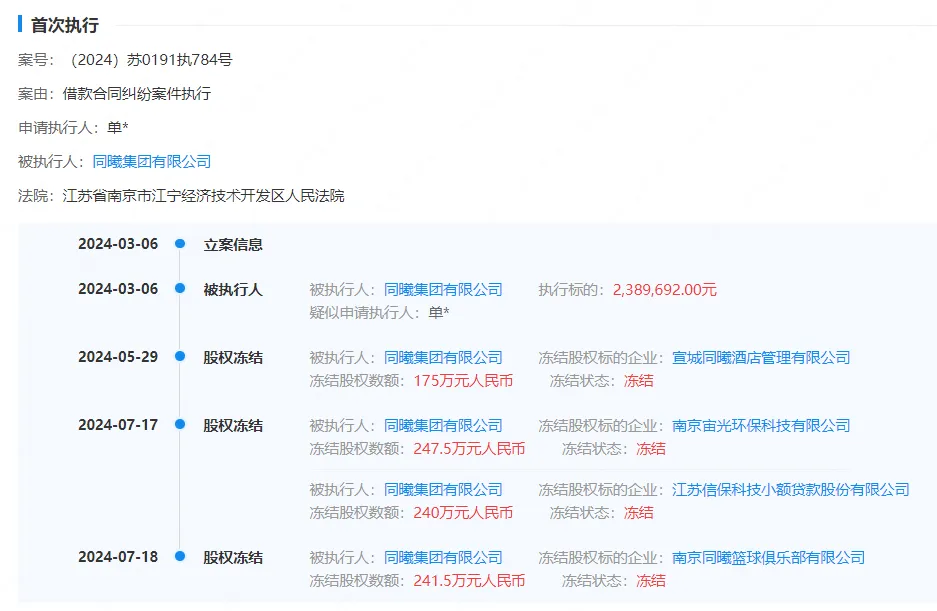
可是,同曦集團似乎快頂不住了。陳廣川、萬榮芳、陳曦三人目前都是失信被執行人,被限制高消費,甚至同曦俱樂部的股權也被捲入民間借貸糾紛被江寧法院凍結。
同曦隊是否會步龍獅的後塵,一切都還是未知數。
*******
其他民營球隊:家家有本難唸的經
山東隊的大股東還是西王集團,但西王集團麻煩不斷,股權已經質押(逼得鞏大師當初為了給隊員發工資到處借錢,反而把自己搞成了失信人),所以如今山東高速集團雖然已經事實接管,但無法收購,只能專款專用保持運營。
浙江廣廈傳到了第三代,樓忠福早已成為失信人,目前球隊從廣廈集團剝離,樓鴻宇是球隊實際控制人;
天津榮鋼的老闆,天津首富張祥青是唐山大地震的孤兒,曾為汶川大地震捐款1億元,但張老闆已經去世10年,張榮華女士為了丈夫喜歡的籃球,堅持經營球隊;
深圳新世紀是梁志斌的心血,他一手打造東莞籃球學校,成為中國籃球“黃埔軍校”,不過房地產陷入寒冬,今年打包賣走沈梓捷、薩林傑令人唏噓;

福建潯興投資球隊已有25年曆史,曾經為續約王哲林,不惜送上上市公司股份,可“拉鍊大王”陷入操縱股價遭到證監會重罰,日子也沒那麼好過。
一個成功的企業,一位喜歡籃球的老闆,一座迷戀籃球的城市,恐怕每一支CBA球隊都包含了這三個因素。每一支球隊的背後又都有獨特又迷人的故事,這是屬於一代“弄潮兒”的青春過往。