月均銷量僅400輛,它會是下一個“極越”嗎?_風聞
GPLP-GPLP犀牛财经官方账号-专业创造价值!57分钟前
汽車銷量還不如極越,它能走通這條路嗎?
曾經的極越出圈是因為員工開小米被開除,火上了熱搜。而極石汽車被人瞭解,卻是因為“石頭科技董事長昌敬套現近9億元卻勸投資者耐心一點”話題登上了熱搜,於是由他創立的極石汽車也開始被人熟知,受到外界關注。

有不少網友表示,此前都沒聽説過這個品牌。對於極石汽車,很多人並不看好,畢竟在造車新勢力中,它的銷量並不樂觀,甚至11月份的銷量數據,還不如極越的銷量呢。
根據網友統計,**11月份銷量低於極越的造車新勢力分別是哪吒汽車1500輛,享界1058輛,睿藍794輛,極石650輛,創維582輛,翼真401輛,飛凡376輛,仰望302輛,極星110輛,靈悉32輛。**有網友評論,**到底是什麼樣的消費者才會去買這些小眾寶藏車型呢?**畢竟很多之前都沒有聽過。

而極石汽車也是如此,成立近4年的它,截止到11月份,汽車總銷量才僅為5039輛,月均銷量僅400餘輛。
1.石頭科技創始人再次“創業”
極石汽車隸屬於上海洛軻智能科技有限公司旗下,公司成立於2021年1月。
對於創業為什麼進入新能源汽車行業,石頭科技創始人昌敬表示,因為自己喜歡汽車,並且是深度自駕遊愛好者,懂得用户的需求,尤其是在石頭科技上市後,需要一個新的夢想,於是入局新能源汽車賽道。
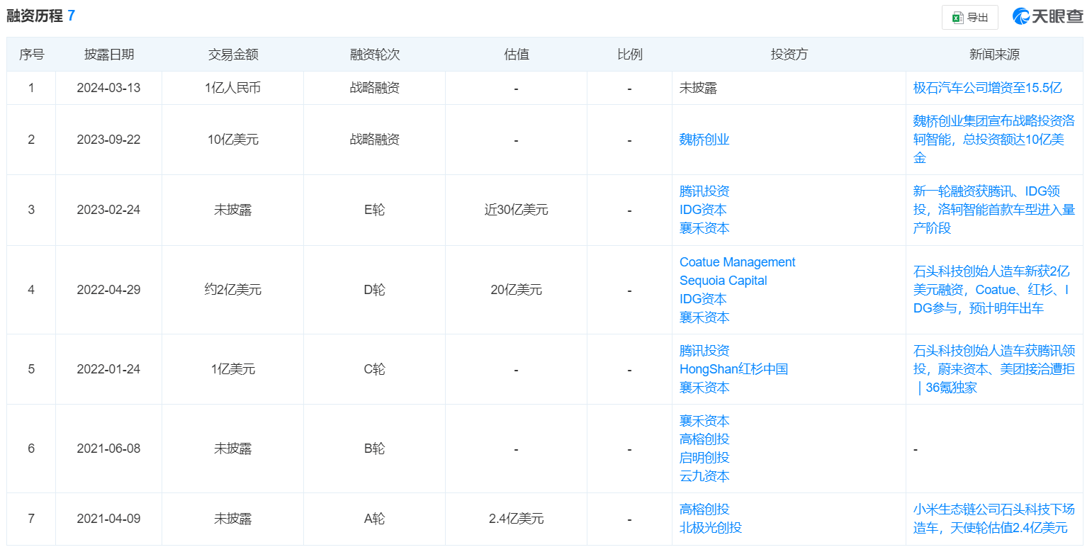
因為昌敬此前石頭科技成功上市,很快之前投資過石頭科技的股東,都來再次投資他的汽車項目。根據天眼查數據,2021年成立開始,極石汽車短短幾年就拿下了7輪融資。

2021年4月9日,極石汽車拿下A輪融資,一直到2024年3月13日的戰略融資,一共拿下了A、B、C、D、E輪融資和2輪戰略融資,而入局的投資機構包括VC/PE以及產業資本,分別是紅杉資本、IDG資本、高榕創投、北極光創投、襄禾資本、啓明創投、雲九資本、騰訊投資、Coatue Management、魏橋創業等。
國內新能源汽車行業一直都處於非常“卷”的勢態,而沒有名氣的極石汽車怎麼辦呢?最終選擇開拓海外市場,今年4月份,極石汽車加速海外市場步伐,先後進入了沙特阿拉伯和哈薩克斯坦等海外市場,對於海外市場的銷量,此前極石汽車曾表示,訂單和交付量已經突破1萬輛。
12月2日,極石汽車對外發布消息,12月1日,公司與Laith Al Obaidi Group在上海簽訂協議,授權該集團為極石汽車在沙特阿拉伯市場的戰略合作伙伴,獨家代理利雅得及東部省的市場業務。

可以看出,在海外,極石汽車依舊在不斷髮力。
極石汽車國內的銷量就非常慘淡了,**前11月累計銷量為5039輛,月均銷量僅400餘輛。**而對於國內的銷量,極石汽車卻表示,符合工作預期,公司穩定發展,財務現狀也很健康。
2.造車剛滿1年 能活下去嗎?
極石汽車已經成立了近4年,但是這家造車新勢力入局晚,造車也晚。
根據報道,極石汽車是在2023年8月開始宣佈造車的,而旗下首款汽車極石01交付上市是在2023年12月份,截止到如今也剛滿1年而已。
公開消息顯示,2023年8月,極石汽車對外發布極石01車型,而價格在35萬元左右,2023年11月25日開始首批車主交付工作。可能是價格太昂貴,尤其是不如其他造車新勢力有名氣,所以交付開始後的銷量慘淡。
1年後,也就是2024年8月,**極石01的標準續航版上市,推出兩款車型,售價在29.99萬—30.99萬元,**價格比起此前版本有所降低。根據懂車帝平台數據,在新版車型發佈後的8月至11月,極石汽車的銷量開始有所上升,分別是380輛、510輛、568輛、650輛。

在30萬元的這個新能源汽車價格位,有多家造車新勢力都在這裏搶市場,一個新入局的新勢力能搶下多少市場呢?
據新浪科技報道,此前極石汽車創造了多個小眾需求的標籤,包括有户外場景上的車尾餐廚系統,還有全景大牀房以及270度車載邊帳天幕,號稱滿足户外露營需求,打造“一室一廳一廚”。另外,還有車載馬桶,户外釣魚工作站等等。有網友表示,“真是笑掉大牙了”。
公司的知名度不如很多造車新勢力有名氣,有的背後還有各大廠商在支持,而昌敬只能“賣命”地宣傳。畢竟,極石汽車的各方股東都很難為其提供較大的支持,所以創始人昌敬親自下場。
今年3月,**昌敬開始頻頻現身社交媒體宣傳極石汽車。**包括打造了微博、抖音、視頻號等10個平台矩陣,還要學雷軍的流量打法。半年多,這樣的效果並不好,各個平台給他帶來的流量依然非常少。

而近期,**最大的流量是因為“石頭科技董事長昌敬套現近9億元卻勸投資者耐心一點”的話題,居然把極石汽車給引出來了,**有網友不禁想問,他套現9億元是為了給造車企業輸血嗎?
3.它會是下一個“極越”嗎?
今年,已經有多家車企曝出問題後相繼倒下,有網友不禁想問,下一家會是誰呢?
近期,極越汽車倒下鬧得沸沸揚揚,最後股東不得不出來收拾爛攤子,引發了網友更多的關注。
畢竟,**極越背後兩大股東,也投入了上百億元真金白銀,最後依然轟然倒下,**像是這些銷量幾百、上千的新能源汽車品牌還能撐多久呢?

別説沒有名氣的新勢力,連蔚小理中的蔚來汽車如今也依然是造車新勢力中虧損最多的,根據統計,從2014年成立之初到現在,蔚來汽車已經累計虧損超千億元。上千元億的投入,如今依然沒有盈利,就可以看出造車新勢力的“內卷”是多麼激烈。
在**整個造車新勢力中唯一盈利的只有理想汽車,**是如今唯一實現自我造血的企業,細數幾十家造車新勢力,最後能剩下幾家活着呢?
而像是**哪吒、極石、創維、極星等造車新勢力,在國內“卷”不過其他造車新勢力,不斷地被邊緣化,如今都寄希望於沒有太大壓力的海外市場。**海外市場有那麼好混嗎?
極石汽車已經打通了中東市場,但是能否長期發展,還要看公司在海外市場真的能否穩固下去,畢竟先活下去,才能競爭新能源汽車的下一個階段。