豪擲10億元!福建“藥王”突圍_風聞
GPLP-GPLP犀牛财经官方账号-专业创造价值!48分钟前
作者:蘇年
藥品價格關乎民生。
近期第十批藥品集中採購結果陸續出爐,不少人看到價格後,都紛紛表示,藥價要崩了嗎?像是降低急性心肌梗死的阿司匹林腸溶片,降至不到5分錢一片;孕婦常吃的葉酸片,降至不到3分錢一片……
對於消費者來説,這是好事,畢竟藥品價格降下來。但是,對於藥企來説,就不是什麼好事了。

畢竟,醫藥行業如今已經連續好幾年不景氣,不少上市公司的市值已經跌去了80%,甚至有的跌去了90%以上。
面對“跌跌不休”的股價,連投資者都堅持不住了,不少投資者紛紛拋掉股票,轉而到更加熱門的賽道中去。
而福建龍巖醫藥大佬張步鎮,如今就在困境中開始突圍了。
1.拿下6輪融資 上市股價暴漲200%
2015年,當時互聯網醫療開始成為風口,而不少VC/PE在這個時候也揮舞着鈔票進軍這個賽道。
當時的張步鎮跨界創立了藥師幫,發現在醫藥流通領域,不僅醫藥交易及服務市場分散,有的也很難滿足零散買家的需求,所以開始想要用互聯網打法鏈接上下游。
雖然張步鎮並不是醫藥行業出身,但是在房天下工作多年,還做過CTO、副總裁,創業也很有信心,於是就創立了藥師幫。

2018年是藥師幫成立的第四年,而它的平台交易已經超過100億元了,月訂單量也超過100萬單,覆蓋了20多萬家藥店和診所。
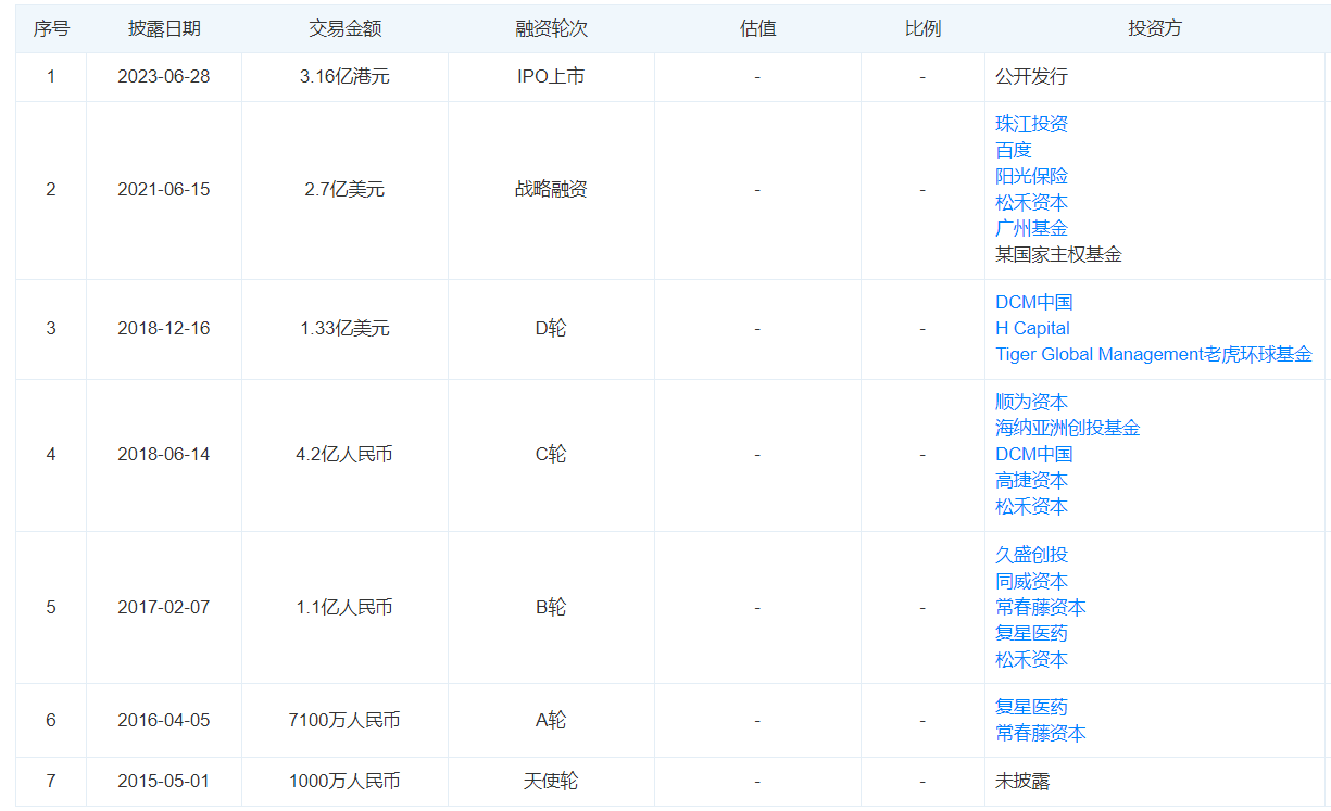
而藥師幫瘋狂的發展路線也引來了投資人的關注,根據天眼查數據,藥師幫(廣州速道信息科技有限公司)一共完成了6輪融資,從天使輪到D輪,然後是戰略融資以及IPO上市。其中共計拿到了近30億元融資,而投資方包括常青藤資本、復星醫藥、松禾資本、久盛創投、同威資本、高捷資本、順為資本、海納亞洲創投基金、DCM中國、老虎環球基金、陽光保險、百度、珠江投資等VC/PE和產業資本入局。

財報顯示,2021年至2023年,藥師幫實現營收分別是100.9億元、142.7億元和169.7億元,同比增速分別為66.43%、41.43%和18.90%。
2023年6月,福建龍巖醫藥大佬張步鎮所創立的藥師幫在港交所上市了。

藥師幫一上市,就迎來了短暫的暴漲,公司的股價漲幅一路超過200%,市值更是一度突破430億港元。
2.市值大跌 業績如何呢?
輝煌終究是短暫的,沒過多久,面對股票“解禁”帶來的衝擊,藥師幫在短短3個月股價一路跌去了超90%,市值也蒸發掉了超380億港元。
2024年上半年財報顯示,藥師幫實現營業收入88.14億元,同比增長10.6%;經調整後淨利潤為9141.1萬元,同比增長30.3%;而歸母淨利潤為2182萬元,成功實現扭虧為盈。

而這也是藥師幫近些年來最好的一份財報,對於藥師幫有獨特的意義。
藥師幫能扭虧為盈,是多麼不容易的事情。也可以看出,藥師幫在商業模式上是很有韌性的,但是面對如今市場的激烈競爭,如何才能保證自己不被淘汰呢?
而面對公司股價暴跌,張步鎮也曾表示,考慮合適機會,在公開市場回購股份。但是,股價依然沒有起色。
3.豪擲10億元發起併購
今年下半年,併購狂潮開啓,不少上市公司紛紛發起併購重組事宜。
而近期,藥師幫也要發起併購了。10月15日,藥師幫發佈公告,已就收購一塊醫藥100%股權簽署交易協議,總對價達10.35億元,其中現金對價4.2億元,股份對價6.15億元。而交易成功後,一塊醫藥會成為藥師幫的全資子公司,同時也保持獨立運營。

而一塊醫藥是2019年在湖南長沙成立的,也是專注於為下游多藥店提供醫藥產品及服務。如今,一塊醫藥已經跟超過1000家制藥企業建立戰略伙伴關係,為下游超3000家連鎖藥店及數以萬計的單體和多體藥店提供藥品和服務。
此次收購完成後,藥師幫的採購數量和自有品牌SKU數將大幅度增長,還能幫助藥師幫加速自有品牌的發展,從而帶來更低的成本和穩定的供應。
天眼查顯示,此前一塊醫藥(湖南空間摺疊互聯網科技有限公司)已經完成了4輪融資,從天使輪到B+輪融資,包括梅花創投、德迅投資、九合創投、紅杉中國、心元資本、千驥資本、康橋資本等VC/PE入局,而市值在當時已經達到了10億元估值。

不過,對於投資人來説,這樣的退出也算不錯,畢竟想要IPO退出還充滿不確定性。而想要拿到併購的現金和股份也並不容易。根據對賭協議,一塊醫藥2025年核心業務增長率至少達到50%,淨利達6000萬元;2026年核心業務增長率至少50%,淨利至少達到1.2億元。
藥師幫的業績增長已經緩慢,如今有了新的增長線路,或可以推動公司業績上面的回暖。藥師幫比起互聯網大廠旗下的互聯網藥企,它的市值也太低了。
所以,藥師幫能否在明年闖出一個新未來呢?